How to Capitalize on Electrophoresis in Nano-Scale Biotech Studies?
JUL 1, 20259 MIN READ
Generate Your Research Report Instantly with AI Agent
Patsnap Eureka helps you evaluate technical feasibility & market potential.
Electrophoresis in Nanotech: Background and Objectives
Electrophoresis, a technique that separates molecules based on their size and electrical charge, has been a cornerstone in biotechnology for decades. As we venture into the nano-scale realm, this method takes on new significance and potential. The evolution of electrophoresis from its inception in the 1930s to its current applications in nanotechnology represents a fascinating journey of scientific progress.
In the context of nano-scale biotech studies, electrophoresis offers unprecedented opportunities for molecular manipulation and analysis. The ability to precisely control and observe the movement of individual molecules opens up new avenues for research in fields such as proteomics, genomics, and drug delivery. This convergence of electrophoresis and nanotechnology promises to revolutionize our understanding of biological processes at the most fundamental level.
The primary objective of capitalizing on electrophoresis in nano-scale biotech studies is to enhance the resolution, sensitivity, and efficiency of molecular separation and analysis. By miniaturizing electrophoretic systems to the nanoscale, researchers aim to achieve single-molecule detection capabilities, reduce sample volumes, and increase throughput. These advancements could lead to breakthroughs in early disease diagnosis, personalized medicine, and the development of novel therapeutic agents.
Another crucial goal is to integrate electrophoresis with other nano-scale technologies, such as microfluidics and lab-on-a-chip devices. This integration can create powerful analytical platforms capable of performing complex bioassays with minimal sample requirements and rapid turnaround times. Such systems have the potential to transform point-of-care diagnostics and enable real-time monitoring of biological processes.
The development of new materials and fabrication techniques is also a key objective in this field. Researchers are exploring the use of nanomaterials, such as carbon nanotubes and graphene, to create innovative electrophoretic matrices with enhanced separation properties. These advanced materials could overcome current limitations in traditional gel electrophoresis and enable the separation of previously indistinguishable molecules.
As we look to the future, the ultimate aim is to harness electrophoresis at the nano-scale to gain deeper insights into the molecular mechanisms of life. By studying the behavior of individual biomolecules under controlled electric fields, scientists hope to unravel complex biological interactions and develop new strategies for manipulating cellular processes. This knowledge could pave the way for groundbreaking applications in regenerative medicine, targeted drug delivery, and the creation of bio-inspired nanomaterials.
In the context of nano-scale biotech studies, electrophoresis offers unprecedented opportunities for molecular manipulation and analysis. The ability to precisely control and observe the movement of individual molecules opens up new avenues for research in fields such as proteomics, genomics, and drug delivery. This convergence of electrophoresis and nanotechnology promises to revolutionize our understanding of biological processes at the most fundamental level.
The primary objective of capitalizing on electrophoresis in nano-scale biotech studies is to enhance the resolution, sensitivity, and efficiency of molecular separation and analysis. By miniaturizing electrophoretic systems to the nanoscale, researchers aim to achieve single-molecule detection capabilities, reduce sample volumes, and increase throughput. These advancements could lead to breakthroughs in early disease diagnosis, personalized medicine, and the development of novel therapeutic agents.
Another crucial goal is to integrate electrophoresis with other nano-scale technologies, such as microfluidics and lab-on-a-chip devices. This integration can create powerful analytical platforms capable of performing complex bioassays with minimal sample requirements and rapid turnaround times. Such systems have the potential to transform point-of-care diagnostics and enable real-time monitoring of biological processes.
The development of new materials and fabrication techniques is also a key objective in this field. Researchers are exploring the use of nanomaterials, such as carbon nanotubes and graphene, to create innovative electrophoretic matrices with enhanced separation properties. These advanced materials could overcome current limitations in traditional gel electrophoresis and enable the separation of previously indistinguishable molecules.
As we look to the future, the ultimate aim is to harness electrophoresis at the nano-scale to gain deeper insights into the molecular mechanisms of life. By studying the behavior of individual biomolecules under controlled electric fields, scientists hope to unravel complex biological interactions and develop new strategies for manipulating cellular processes. This knowledge could pave the way for groundbreaking applications in regenerative medicine, targeted drug delivery, and the creation of bio-inspired nanomaterials.
Market Analysis for Nano-Electrophoresis Applications
The market for nano-electrophoresis applications in biotechnology studies is experiencing rapid growth, driven by increasing demand for precise and efficient molecular separation techniques at the nanoscale. This technology offers significant advantages over traditional electrophoresis methods, including higher resolution, faster analysis times, and reduced sample consumption.
The global nano-electrophoresis market is primarily segmented into three main application areas: proteomics, genomics, and drug discovery. Proteomics represents the largest market share, as nano-electrophoresis enables the separation and analysis of complex protein mixtures with unprecedented accuracy. Genomics applications are also gaining traction, particularly in next-generation sequencing and DNA fragment analysis.
Key market drivers include the rising prevalence of chronic diseases, increasing investment in life sciences research, and the growing adoption of personalized medicine. These factors are fueling demand for advanced analytical tools capable of handling minute sample volumes and providing high-resolution molecular separation.
Geographically, North America dominates the nano-electrophoresis market, followed by Europe and Asia-Pacific. The United States, in particular, leads in terms of research and development activities and adoption of cutting-edge biotech technologies. However, emerging economies in Asia-Pacific, such as China and India, are expected to witness the highest growth rates in the coming years due to increasing government funding for life sciences research and improving healthcare infrastructure.
The market is characterized by intense competition among key players, including major life sciences companies and specialized instrument manufacturers. These companies are focusing on product innovation and strategic collaborations to gain a competitive edge. Recent technological advancements, such as the integration of microfluidics and lab-on-a-chip devices with nano-electrophoresis, are opening up new opportunities for market expansion.
Challenges facing the market include the high cost of nano-electrophoresis equipment and the need for specialized training to operate these sophisticated instruments. Additionally, stringent regulatory requirements for the approval of new bioanalytical technologies can slow down market growth.
Despite these challenges, the future outlook for the nano-electrophoresis market remains positive. The increasing focus on precision medicine and the growing need for high-throughput screening in drug discovery are expected to drive sustained market growth. Furthermore, ongoing research into novel applications of nano-electrophoresis in fields such as environmental monitoring and food safety is likely to create new market opportunities in the coming years.
The global nano-electrophoresis market is primarily segmented into three main application areas: proteomics, genomics, and drug discovery. Proteomics represents the largest market share, as nano-electrophoresis enables the separation and analysis of complex protein mixtures with unprecedented accuracy. Genomics applications are also gaining traction, particularly in next-generation sequencing and DNA fragment analysis.
Key market drivers include the rising prevalence of chronic diseases, increasing investment in life sciences research, and the growing adoption of personalized medicine. These factors are fueling demand for advanced analytical tools capable of handling minute sample volumes and providing high-resolution molecular separation.
Geographically, North America dominates the nano-electrophoresis market, followed by Europe and Asia-Pacific. The United States, in particular, leads in terms of research and development activities and adoption of cutting-edge biotech technologies. However, emerging economies in Asia-Pacific, such as China and India, are expected to witness the highest growth rates in the coming years due to increasing government funding for life sciences research and improving healthcare infrastructure.
The market is characterized by intense competition among key players, including major life sciences companies and specialized instrument manufacturers. These companies are focusing on product innovation and strategic collaborations to gain a competitive edge. Recent technological advancements, such as the integration of microfluidics and lab-on-a-chip devices with nano-electrophoresis, are opening up new opportunities for market expansion.
Challenges facing the market include the high cost of nano-electrophoresis equipment and the need for specialized training to operate these sophisticated instruments. Additionally, stringent regulatory requirements for the approval of new bioanalytical technologies can slow down market growth.
Despite these challenges, the future outlook for the nano-electrophoresis market remains positive. The increasing focus on precision medicine and the growing need for high-throughput screening in drug discovery are expected to drive sustained market growth. Furthermore, ongoing research into novel applications of nano-electrophoresis in fields such as environmental monitoring and food safety is likely to create new market opportunities in the coming years.
Current Challenges in Nano-Scale Electrophoresis
Nano-scale electrophoresis presents several significant challenges that researchers and biotech companies must overcome to fully capitalize on its potential in biotechnology studies. One of the primary obstacles is the difficulty in maintaining stable and uniform electric fields at the nanoscale level. As the dimensions of the separation channels decrease, surface effects become increasingly dominant, leading to unpredictable flow patterns and reduced separation efficiency.
Another major challenge lies in the detection and quantification of analytes at such small scales. Traditional detection methods often lack the sensitivity required to accurately measure the minute quantities of molecules present in nano-scale samples. This limitation necessitates the development of novel, highly sensitive detection techniques that can reliably identify and quantify biomolecules in extremely low concentrations.
The fabrication of nano-scale electrophoresis devices poses its own set of challenges. Creating consistent and reproducible nanochannels with precise dimensions and surface properties is technically demanding and often requires sophisticated cleanroom facilities. The materials used in these devices must also be carefully selected to minimize unwanted interactions with the analytes and ensure biocompatibility.
Sample introduction and handling at the nano-scale present additional hurdles. Precise control over sample volumes in the picoliter to femtoliter range is crucial but technically challenging. Moreover, preventing sample loss or contamination during the loading process requires innovative approaches to microfluidic design and sample handling protocols.
The phenomenon of Joule heating becomes more pronounced in nano-scale electrophoresis systems due to the high electric field strengths required for separation. This can lead to temperature gradients within the separation channel, affecting the mobility of analytes and potentially causing sample degradation. Developing effective heat dissipation strategies is essential for maintaining consistent separation conditions.
Scaling up nano-scale electrophoresis for high-throughput applications remains a significant challenge. While the miniaturization offers advantages in terms of sample and reagent consumption, parallelizing multiple nano-scale separations to achieve industrially relevant throughput is complex and requires innovative device designs and control systems.
Lastly, the interpretation of data obtained from nano-scale electrophoresis experiments can be challenging due to the increased influence of stochastic effects and the potential for unexpected molecular behaviors at the nanoscale. Developing robust data analysis algorithms and modeling tools to accurately interpret these results is crucial for advancing the field and realizing the full potential of nano-scale electrophoresis in biotech studies.
Another major challenge lies in the detection and quantification of analytes at such small scales. Traditional detection methods often lack the sensitivity required to accurately measure the minute quantities of molecules present in nano-scale samples. This limitation necessitates the development of novel, highly sensitive detection techniques that can reliably identify and quantify biomolecules in extremely low concentrations.
The fabrication of nano-scale electrophoresis devices poses its own set of challenges. Creating consistent and reproducible nanochannels with precise dimensions and surface properties is technically demanding and often requires sophisticated cleanroom facilities. The materials used in these devices must also be carefully selected to minimize unwanted interactions with the analytes and ensure biocompatibility.
Sample introduction and handling at the nano-scale present additional hurdles. Precise control over sample volumes in the picoliter to femtoliter range is crucial but technically challenging. Moreover, preventing sample loss or contamination during the loading process requires innovative approaches to microfluidic design and sample handling protocols.
The phenomenon of Joule heating becomes more pronounced in nano-scale electrophoresis systems due to the high electric field strengths required for separation. This can lead to temperature gradients within the separation channel, affecting the mobility of analytes and potentially causing sample degradation. Developing effective heat dissipation strategies is essential for maintaining consistent separation conditions.
Scaling up nano-scale electrophoresis for high-throughput applications remains a significant challenge. While the miniaturization offers advantages in terms of sample and reagent consumption, parallelizing multiple nano-scale separations to achieve industrially relevant throughput is complex and requires innovative device designs and control systems.
Lastly, the interpretation of data obtained from nano-scale electrophoresis experiments can be challenging due to the increased influence of stochastic effects and the potential for unexpected molecular behaviors at the nanoscale. Developing robust data analysis algorithms and modeling tools to accurately interpret these results is crucial for advancing the field and realizing the full potential of nano-scale electrophoresis in biotech studies.
State-of-the-Art Nano-Electrophoresis Methods
01 Electrophoresis apparatus design
Various designs for electrophoresis apparatus have been developed to improve separation efficiency and sample analysis. These designs include modifications to electrode configurations, buffer systems, and overall device structure to enhance performance and ease of use in different applications.- Electrophoresis apparatus and methods: Various electrophoresis devices and techniques are developed for separating and analyzing molecules based on their size and charge. These include improvements in gel electrophoresis systems, capillary electrophoresis, and microfluidic electrophoresis platforms. The advancements focus on enhancing separation efficiency, resolution, and throughput for applications in genomics, proteomics, and other fields.
- Electrophoretic displays and driving methods: Electrophoretic display technologies are developed, including improvements in display structures, electrode configurations, and driving methods. These advancements aim to enhance image quality, refresh rates, and power efficiency of electrophoretic displays. Various driving schemes are implemented to address issues such as ghosting and image retention, while maintaining low power consumption.
- Microfluidic electrophoresis devices: Miniaturized electrophoresis systems are developed using microfluidic technologies. These devices integrate sample preparation, separation, and detection on a single chip, offering advantages such as reduced sample and reagent consumption, faster analysis times, and potential for automation. Various chip designs and fabrication methods are explored to optimize separation performance and expand application areas.
- Electrophoresis for biomolecule analysis: Electrophoresis techniques are applied and optimized for the analysis of various biomolecules, including nucleic acids, proteins, and carbohydrates. Specialized gel formulations, buffer systems, and detection methods are developed to improve the separation and characterization of these molecules. Applications include DNA sequencing, protein profiling, and biomarker discovery in medical diagnostics and life sciences research.
- Two-dimensional electrophoresis systems: Two-dimensional electrophoresis techniques are developed to separate complex mixtures of proteins based on two independent properties, typically isoelectric point and molecular weight. These systems offer high-resolution separation of thousands of proteins simultaneously, enabling comprehensive proteome analysis. Improvements focus on reproducibility, automation, and integration with mass spectrometry for protein identification.
02 Capillary electrophoresis techniques
Capillary electrophoresis methods have been refined to achieve higher resolution and faster separation of analytes. These techniques involve the use of specialized capillaries, buffer compositions, and detection systems to improve the analysis of complex samples in fields such as biochemistry and pharmaceutical research.Expand Specific Solutions03 Gel electrophoresis innovations
Advancements in gel electrophoresis have focused on developing new gel materials, improving sample loading techniques, and enhancing visualization methods. These innovations aim to increase the resolution of separated molecules and facilitate the analysis of a wider range of biomolecules, including proteins and nucleic acids.Expand Specific Solutions04 Electrophoretic display technology
Electrophoretic display technology has evolved to create more efficient and responsive electronic paper displays. Improvements in particle design, electrode configurations, and driving methods have led to enhanced contrast, faster refresh rates, and lower power consumption in these displays.Expand Specific Solutions05 Microfluidic electrophoresis systems
Microfluidic electrophoresis systems have been developed to miniaturize and integrate electrophoretic separations with other analytical techniques. These systems offer advantages such as reduced sample volume requirements, faster analysis times, and the potential for high-throughput screening in various fields, including medical diagnostics and environmental monitoring.Expand Specific Solutions
Key Players in Nano-Electrophoresis Research and Development
The electrophoresis market in nano-scale biotech studies is in a growth phase, driven by increasing demand for precise molecular analysis in fields like genomics and proteomics. The global market size is expanding, with projections indicating significant growth in the coming years. Technologically, electrophoresis is evolving rapidly, with companies like Bio-Rad Laboratories, Agilent Technologies, and F. Hoffmann-La Roche leading innovations. These firms are developing more sensitive, high-throughput systems tailored for nano-scale applications. Academic institutions such as The University of California and Peking University are also contributing to advancements, particularly in miniaturization and integration with other analytical techniques. The competitive landscape is characterized by a mix of established players and emerging startups, with a focus on improving resolution, speed, and automation in nano-scale electrophoresis systems.
The Regents of the University of California
Technical Solution: The University of California has developed advanced electrophoresis techniques for nano-scale biotech studies. They have pioneered the use of nanopore-based electrophoresis for single-molecule DNA sequencing[1]. This approach utilizes a nanopore embedded in a thin membrane, through which DNA molecules are electrophoretically driven. As the DNA passes through the pore, it causes characteristic changes in ionic current, allowing for base-by-base sequencing[2]. The university has also developed microfluidic devices that integrate electrophoresis with other analytical techniques, enabling high-throughput analysis of biomolecules at the nanoscale[3]. Their research has led to the development of novel electrode materials and surface modifications that enhance the resolution and sensitivity of electrophoretic separations in nano-biotech applications[4].
Strengths: Cutting-edge research in nanopore technology and microfluidic integration. Weaknesses: Potential challenges in scaling up technologies for commercial applications and high costs associated with specialized equipment.
F. Hoffmann-La Roche Ltd.
Technical Solution: Roche has developed innovative electrophoresis-based technologies for nano-scale biotech studies, particularly in the field of diagnostics and personalized medicine. Their approach combines capillary electrophoresis with high-sensitivity laser-induced fluorescence detection, allowing for the analysis of minute quantities of biomolecules[5]. Roche has also pioneered the use of microchip electrophoresis systems that integrate sample preparation, separation, and detection on a single chip, enabling rapid and automated analysis of complex biological samples[6]. Their technology utilizes advanced polymer matrices and surface coatings to enhance separation efficiency and reduce non-specific interactions in nano-scale electrophoretic separations[7]. Roche has applied these technologies to develop highly sensitive diagnostic assays for genetic disorders, cancer biomarkers, and infectious diseases[8].
Strengths: Strong integration of electrophoresis technologies into diagnostic platforms. Weaknesses: Potential regulatory hurdles for novel diagnostic technologies and competition from emerging molecular diagnostic techniques.
Breakthrough Innovations in Nano-Electrophoresis
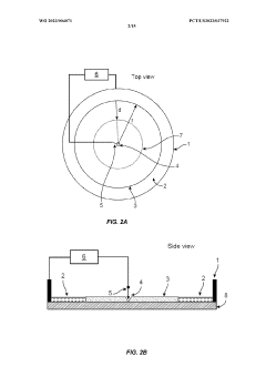
Methods and devices for isolating RNA using epitachophoresis
PatentWO2023004071A1
Innovation
- The epitachophoresis method and device utilize a circular channel with concentric electrolytes and a gel to separate smaller RNA molecules by applying a voltage difference, allowing them to pass through while larger RNA molecules are slowed or trapped, resulting in a higher concentration of small RNA in the collected mixture.
Methods for Improving Efficiency of Cell Electroporation Using Dielectrophoreses
PatentInactiveUS20090000948A1
Innovation
- Dielectrophoresis-assisted cell localization is used to guide cells to regions where a sufficient electric field can be applied for electroporation, either by a first dielectrophoretic electric field alone or in combination with a second electric field, enhancing the efficiency of cell permeabilization and reducing cell death.
Regulatory Considerations for Nano-Electrophoresis in Biotech
The regulatory landscape for nano-electrophoresis in biotechnology is complex and evolving, reflecting the rapid advancements in nanotechnology and its applications in life sciences. As this technology continues to develop, regulatory bodies worldwide are working to establish comprehensive frameworks that ensure safety, efficacy, and ethical use of nano-electrophoresis in biotech studies.
In the United States, the Food and Drug Administration (FDA) plays a crucial role in overseeing the development and application of nano-electrophoresis technologies in biomedical research and clinical diagnostics. The FDA has implemented a nanotechnology task force to address the unique challenges posed by nanoscale materials and devices, including those used in electrophoresis applications.
The European Medicines Agency (EMA) has also developed guidelines for the use of nanotechnology in medical products, which extend to nano-electrophoresis techniques used in biotech research. These guidelines emphasize the importance of characterizing nanomaterials and assessing their potential risks to human health and the environment.
Internationally, the Organization for Economic Co-operation and Development (OECD) has established working parties on manufactured nanomaterials and nanotechnology, aiming to harmonize regulatory approaches across member countries. This effort is particularly relevant for nano-electrophoresis, as it often involves the use of engineered nanoparticles and nanoscale separation techniques.
Researchers and companies working with nano-electrophoresis must navigate a range of regulatory considerations, including safety assessments, quality control measures, and environmental impact evaluations. Specific areas of focus include the characterization of nanoparticles used in electrophoresis gels, the potential for nanoparticle release during experiments, and the disposal of nanomaterial-containing waste.
Regulatory bodies are also addressing the need for standardized protocols in nano-electrophoresis to ensure reproducibility and reliability of results. This includes developing guidelines for the validation of nano-electrophoresis methods and the reporting of experimental parameters.
As the field advances, regulators are likely to place increased emphasis on the long-term effects of nanomaterials used in electrophoresis, particularly in the context of in vivo applications and potential environmental accumulation. This may lead to more stringent requirements for toxicological studies and environmental risk assessments.
Researchers and companies in the biotech sector must stay informed about these evolving regulations and proactively engage with regulatory bodies to ensure compliance and facilitate the responsible development of nano-electrophoresis technologies. This collaborative approach will be crucial in realizing the full potential of nano-electrophoresis in biotechnology while addressing societal concerns and regulatory requirements.
In the United States, the Food and Drug Administration (FDA) plays a crucial role in overseeing the development and application of nano-electrophoresis technologies in biomedical research and clinical diagnostics. The FDA has implemented a nanotechnology task force to address the unique challenges posed by nanoscale materials and devices, including those used in electrophoresis applications.
The European Medicines Agency (EMA) has also developed guidelines for the use of nanotechnology in medical products, which extend to nano-electrophoresis techniques used in biotech research. These guidelines emphasize the importance of characterizing nanomaterials and assessing their potential risks to human health and the environment.
Internationally, the Organization for Economic Co-operation and Development (OECD) has established working parties on manufactured nanomaterials and nanotechnology, aiming to harmonize regulatory approaches across member countries. This effort is particularly relevant for nano-electrophoresis, as it often involves the use of engineered nanoparticles and nanoscale separation techniques.
Researchers and companies working with nano-electrophoresis must navigate a range of regulatory considerations, including safety assessments, quality control measures, and environmental impact evaluations. Specific areas of focus include the characterization of nanoparticles used in electrophoresis gels, the potential for nanoparticle release during experiments, and the disposal of nanomaterial-containing waste.
Regulatory bodies are also addressing the need for standardized protocols in nano-electrophoresis to ensure reproducibility and reliability of results. This includes developing guidelines for the validation of nano-electrophoresis methods and the reporting of experimental parameters.
As the field advances, regulators are likely to place increased emphasis on the long-term effects of nanomaterials used in electrophoresis, particularly in the context of in vivo applications and potential environmental accumulation. This may lead to more stringent requirements for toxicological studies and environmental risk assessments.
Researchers and companies in the biotech sector must stay informed about these evolving regulations and proactively engage with regulatory bodies to ensure compliance and facilitate the responsible development of nano-electrophoresis technologies. This collaborative approach will be crucial in realizing the full potential of nano-electrophoresis in biotechnology while addressing societal concerns and regulatory requirements.
Ethical Implications of Nano-Electrophoresis in Biomedicine
The ethical implications of nano-electrophoresis in biomedicine are multifaceted and require careful consideration as this technology advances. One primary concern is the potential for unintended consequences on human health and the environment due to the manipulation of materials at the nanoscale. The long-term effects of nanoparticles on biological systems are not yet fully understood, raising questions about the safety of nano-electrophoresis techniques in medical applications.
Privacy and data protection issues also come to the forefront as nano-electrophoresis enables more precise and detailed analysis of biological samples. The ability to extract and analyze genetic information at unprecedented levels of detail raises concerns about the protection of personal genetic data and the potential for discrimination based on genetic predispositions.
The accessibility and equitable distribution of nano-electrophoresis technologies in healthcare settings present another ethical challenge. As these advanced techniques become more prevalent, there is a risk of exacerbating existing healthcare disparities, with cutting-edge diagnostics and treatments potentially available only to those who can afford them.
The use of nano-electrophoresis in prenatal testing and genetic screening introduces complex ethical dilemmas regarding reproductive choices and the potential for eugenics. The ability to detect a wider range of genetic conditions at earlier stages of pregnancy may lead to difficult decisions for prospective parents and raise societal questions about the value placed on different human traits.
Informed consent becomes increasingly complex in the context of nano-electrophoresis, as the intricacies of the technology and its potential implications may be difficult for patients to fully comprehend. This raises questions about how to ensure that individuals can make truly informed decisions about participating in research or undergoing medical procedures involving these advanced techniques.
The dual-use potential of nano-electrophoresis technology also presents ethical concerns. While primarily developed for beneficial medical applications, the same techniques could potentially be misused for biological warfare or the creation of enhanced biological agents, necessitating careful regulation and oversight.
As nano-electrophoresis enables more precise manipulation of biological materials, ethical questions arise regarding the boundaries of human enhancement and the definition of what constitutes "natural" human biology. This technology could potentially be used to modify human characteristics beyond therapeutic purposes, leading to debates about the ethics of human augmentation and the preservation of human identity.
Privacy and data protection issues also come to the forefront as nano-electrophoresis enables more precise and detailed analysis of biological samples. The ability to extract and analyze genetic information at unprecedented levels of detail raises concerns about the protection of personal genetic data and the potential for discrimination based on genetic predispositions.
The accessibility and equitable distribution of nano-electrophoresis technologies in healthcare settings present another ethical challenge. As these advanced techniques become more prevalent, there is a risk of exacerbating existing healthcare disparities, with cutting-edge diagnostics and treatments potentially available only to those who can afford them.
The use of nano-electrophoresis in prenatal testing and genetic screening introduces complex ethical dilemmas regarding reproductive choices and the potential for eugenics. The ability to detect a wider range of genetic conditions at earlier stages of pregnancy may lead to difficult decisions for prospective parents and raise societal questions about the value placed on different human traits.
Informed consent becomes increasingly complex in the context of nano-electrophoresis, as the intricacies of the technology and its potential implications may be difficult for patients to fully comprehend. This raises questions about how to ensure that individuals can make truly informed decisions about participating in research or undergoing medical procedures involving these advanced techniques.
The dual-use potential of nano-electrophoresis technology also presents ethical concerns. While primarily developed for beneficial medical applications, the same techniques could potentially be misused for biological warfare or the creation of enhanced biological agents, necessitating careful regulation and oversight.
As nano-electrophoresis enables more precise manipulation of biological materials, ethical questions arise regarding the boundaries of human enhancement and the definition of what constitutes "natural" human biology. This technology could potentially be used to modify human characteristics beyond therapeutic purposes, leading to debates about the ethics of human augmentation and the preservation of human identity.
Unlock deeper insights with Patsnap Eureka Quick Research — get a full tech report to explore trends and direct your research. Try now!
Generate Your Research Report Instantly with AI Agent
Supercharge your innovation with Patsnap Eureka AI Agent Platform!







