ULED Displays: Pioneers in Interactive User Engagement
JUN 20, 20259 MIN READ
Generate Your Research Report Instantly with AI Agent
Patsnap Eureka helps you evaluate technical feasibility & market potential.
ULED Display Evolution
ULED (Ultra Light Emitting Diode) display technology has undergone significant evolution since its inception, marking a revolutionary advancement in the field of interactive user engagement. The journey of ULED displays began with the development of traditional LED technology, which laid the foundation for this cutting-edge innovation.
In the early stages, LED displays were primarily used for large-scale outdoor applications, such as billboards and stadium screens. These displays offered improved brightness and energy efficiency compared to their predecessors but lacked the resolution and color accuracy required for more sophisticated applications.
As technology progressed, the focus shifted towards miniaturization and enhanced pixel density. This led to the development of Micro-LED displays, which utilized extremely small LED chips to create high-resolution screens. While Micro-LED technology showed promise, it faced challenges in mass production and cost-effectiveness.
The advent of ULED displays marked a significant leap forward in display technology. ULED combines the benefits of LED technology with advanced light management techniques and quantum dot color enhancement. This combination results in displays with superior brightness, contrast, and color accuracy, while maintaining energy efficiency.
One of the key milestones in ULED evolution was the integration of local dimming technology. This feature allows for precise control of individual LED zones, enabling deeper blacks and improved contrast ratios. The implementation of local dimming significantly enhanced the overall picture quality and viewing experience.
Another crucial development in ULED technology was the incorporation of wide color gamut capabilities. By utilizing quantum dot technology, ULED displays can reproduce a broader range of colors, resulting in more vibrant and lifelike images. This advancement has been particularly impactful in areas such as professional content creation and high-end consumer electronics.
The evolution of ULED displays has also seen significant improvements in response time and motion handling. Through the implementation of advanced image processing algorithms and high refresh rates, ULED displays have minimized motion blur and artifacts, making them ideal for fast-paced content such as sports and action movies.
Recent advancements in ULED technology have focused on enhancing interactivity and user engagement. The integration of touch-sensitive layers and advanced sensors has transformed ULED displays into interactive surfaces capable of responding to user input. This development has opened up new possibilities for applications in education, retail, and public spaces.
As ULED technology continues to evolve, we are witnessing the emergence of flexible and transparent displays. These innovations are pushing the boundaries of what is possible with display technology, enabling new form factors and applications that were previously unimaginable.
In the early stages, LED displays were primarily used for large-scale outdoor applications, such as billboards and stadium screens. These displays offered improved brightness and energy efficiency compared to their predecessors but lacked the resolution and color accuracy required for more sophisticated applications.
As technology progressed, the focus shifted towards miniaturization and enhanced pixel density. This led to the development of Micro-LED displays, which utilized extremely small LED chips to create high-resolution screens. While Micro-LED technology showed promise, it faced challenges in mass production and cost-effectiveness.
The advent of ULED displays marked a significant leap forward in display technology. ULED combines the benefits of LED technology with advanced light management techniques and quantum dot color enhancement. This combination results in displays with superior brightness, contrast, and color accuracy, while maintaining energy efficiency.
One of the key milestones in ULED evolution was the integration of local dimming technology. This feature allows for precise control of individual LED zones, enabling deeper blacks and improved contrast ratios. The implementation of local dimming significantly enhanced the overall picture quality and viewing experience.
Another crucial development in ULED technology was the incorporation of wide color gamut capabilities. By utilizing quantum dot technology, ULED displays can reproduce a broader range of colors, resulting in more vibrant and lifelike images. This advancement has been particularly impactful in areas such as professional content creation and high-end consumer electronics.
The evolution of ULED displays has also seen significant improvements in response time and motion handling. Through the implementation of advanced image processing algorithms and high refresh rates, ULED displays have minimized motion blur and artifacts, making them ideal for fast-paced content such as sports and action movies.
Recent advancements in ULED technology have focused on enhancing interactivity and user engagement. The integration of touch-sensitive layers and advanced sensors has transformed ULED displays into interactive surfaces capable of responding to user input. This development has opened up new possibilities for applications in education, retail, and public spaces.
As ULED technology continues to evolve, we are witnessing the emergence of flexible and transparent displays. These innovations are pushing the boundaries of what is possible with display technology, enabling new form factors and applications that were previously unimaginable.
Interactive Display Market
The interactive display market has witnessed significant growth in recent years, driven by the increasing demand for enhanced user engagement and immersive experiences across various industries. This market segment encompasses a wide range of technologies, including touchscreens, gesture recognition systems, and advanced sensing capabilities, all aimed at creating more intuitive and responsive interfaces between users and digital content.
The adoption of interactive displays has been particularly strong in sectors such as retail, education, healthcare, and entertainment. In retail, interactive displays are revolutionizing the shopping experience by allowing customers to explore product information, customize items, and make purchases directly through large-format touchscreens. Educational institutions are leveraging interactive whiteboards and collaborative displays to create more engaging and participatory learning environments.
The healthcare industry has also embraced interactive displays for improved patient care and medical training. Interactive screens in hospitals and clinics facilitate better communication between healthcare providers and patients, while advanced visualization tools aid in surgical planning and medical education. In the entertainment sector, interactive displays are enhancing visitor experiences in museums, theme parks, and other public spaces, offering personalized and immersive content delivery.
The market for interactive displays is characterized by rapid technological advancements, with manufacturers continually pushing the boundaries of display resolution, touch sensitivity, and integration with other emerging technologies such as artificial intelligence and the Internet of Things. This ongoing innovation is expanding the potential applications of interactive displays and driving market growth.
Geographically, North America and Europe have been at the forefront of interactive display adoption, with Asia-Pacific emerging as a rapidly growing market due to increasing digitalization efforts and technological investments in countries like China, Japan, and South Korea. The global nature of this market is fostering intense competition among key players, leading to accelerated product development cycles and more affordable solutions.
As the demand for more engaging and interactive user experiences continues to grow across industries, the interactive display market is poised for sustained expansion. The integration of advanced technologies like ULED (Ultra Light Emitting Diode) displays promises to further revolutionize this space, offering unprecedented levels of brightness, contrast, and energy efficiency. These developments are expected to open new avenues for interactive display applications, particularly in high-end consumer electronics, automotive interfaces, and next-generation public information systems.
The adoption of interactive displays has been particularly strong in sectors such as retail, education, healthcare, and entertainment. In retail, interactive displays are revolutionizing the shopping experience by allowing customers to explore product information, customize items, and make purchases directly through large-format touchscreens. Educational institutions are leveraging interactive whiteboards and collaborative displays to create more engaging and participatory learning environments.
The healthcare industry has also embraced interactive displays for improved patient care and medical training. Interactive screens in hospitals and clinics facilitate better communication between healthcare providers and patients, while advanced visualization tools aid in surgical planning and medical education. In the entertainment sector, interactive displays are enhancing visitor experiences in museums, theme parks, and other public spaces, offering personalized and immersive content delivery.
The market for interactive displays is characterized by rapid technological advancements, with manufacturers continually pushing the boundaries of display resolution, touch sensitivity, and integration with other emerging technologies such as artificial intelligence and the Internet of Things. This ongoing innovation is expanding the potential applications of interactive displays and driving market growth.
Geographically, North America and Europe have been at the forefront of interactive display adoption, with Asia-Pacific emerging as a rapidly growing market due to increasing digitalization efforts and technological investments in countries like China, Japan, and South Korea. The global nature of this market is fostering intense competition among key players, leading to accelerated product development cycles and more affordable solutions.
As the demand for more engaging and interactive user experiences continues to grow across industries, the interactive display market is poised for sustained expansion. The integration of advanced technologies like ULED (Ultra Light Emitting Diode) displays promises to further revolutionize this space, offering unprecedented levels of brightness, contrast, and energy efficiency. These developments are expected to open new avenues for interactive display applications, particularly in high-end consumer electronics, automotive interfaces, and next-generation public information systems.
ULED Tech Challenges
ULED (Ultra Light Emitting Diode) displays represent a significant leap forward in display technology, offering enhanced brightness, energy efficiency, and interactive capabilities. However, the development and implementation of ULED technology face several technical challenges that need to be addressed to fully realize its potential in interactive user engagement.
One of the primary challenges is achieving uniform brightness and color consistency across the entire display. As ULED displays utilize ultra-small LED chips, ensuring consistent performance and color reproduction for each individual LED becomes increasingly complex. This challenge is particularly pronounced in large-scale displays, where variations in brightness and color can be more noticeable and detrimental to the overall viewing experience.
Another significant hurdle is the development of efficient and precise control systems for individual LEDs. ULED displays require sophisticated driving circuits and control algorithms to manage the vast number of LEDs, especially when implementing interactive features. The challenge lies in creating systems that can rapidly and accurately control each LED's brightness and color while maintaining low power consumption and minimizing heat generation.
Heat management presents a substantial technical obstacle for ULED displays. As these displays push the boundaries of brightness and resolution, they generate considerable heat. Effective thermal management solutions are crucial to prevent performance degradation, ensure longevity, and maintain consistent image quality. Developing innovative cooling systems that are both efficient and compact remains a key area of focus for researchers and engineers.
The integration of touch and gesture recognition capabilities into ULED displays poses another set of challenges. While these interactive features are essential for user engagement, implementing them without compromising display quality or increasing device thickness is technically demanding. Researchers are exploring various approaches, including in-cell touch technology and advanced optical sensing methods, to seamlessly incorporate these interactive elements.
Manufacturing scalability and cost-effectiveness represent significant hurdles in the widespread adoption of ULED technology. The production of ultra-small LED chips and their precise placement on display panels require advanced manufacturing processes and equipment. Developing cost-effective production methods that can maintain high yields and quality standards is crucial for making ULED displays commercially viable for a broad range of applications.
Lastly, the challenge of power efficiency remains at the forefront of ULED development. While ULEDs offer improved energy efficiency compared to traditional display technologies, further advancements are needed to optimize power consumption, especially for battery-powered devices. This involves not only improving the efficiency of the LEDs themselves but also developing more sophisticated power management systems and display driving techniques.
One of the primary challenges is achieving uniform brightness and color consistency across the entire display. As ULED displays utilize ultra-small LED chips, ensuring consistent performance and color reproduction for each individual LED becomes increasingly complex. This challenge is particularly pronounced in large-scale displays, where variations in brightness and color can be more noticeable and detrimental to the overall viewing experience.
Another significant hurdle is the development of efficient and precise control systems for individual LEDs. ULED displays require sophisticated driving circuits and control algorithms to manage the vast number of LEDs, especially when implementing interactive features. The challenge lies in creating systems that can rapidly and accurately control each LED's brightness and color while maintaining low power consumption and minimizing heat generation.
Heat management presents a substantial technical obstacle for ULED displays. As these displays push the boundaries of brightness and resolution, they generate considerable heat. Effective thermal management solutions are crucial to prevent performance degradation, ensure longevity, and maintain consistent image quality. Developing innovative cooling systems that are both efficient and compact remains a key area of focus for researchers and engineers.
The integration of touch and gesture recognition capabilities into ULED displays poses another set of challenges. While these interactive features are essential for user engagement, implementing them without compromising display quality or increasing device thickness is technically demanding. Researchers are exploring various approaches, including in-cell touch technology and advanced optical sensing methods, to seamlessly incorporate these interactive elements.
Manufacturing scalability and cost-effectiveness represent significant hurdles in the widespread adoption of ULED technology. The production of ultra-small LED chips and their precise placement on display panels require advanced manufacturing processes and equipment. Developing cost-effective production methods that can maintain high yields and quality standards is crucial for making ULED displays commercially viable for a broad range of applications.
Lastly, the challenge of power efficiency remains at the forefront of ULED development. While ULEDs offer improved energy efficiency compared to traditional display technologies, further advancements are needed to optimize power consumption, especially for battery-powered devices. This involves not only improving the efficiency of the LEDs themselves but also developing more sophisticated power management systems and display driving techniques.
Current ULED Solutions
01 Interactive user interfaces for ULED displays
ULED displays can incorporate interactive user interfaces to enhance user engagement. These interfaces may include touch-sensitive screens, gesture recognition, or voice commands, allowing users to interact directly with the display content. Such interactive features can improve the user experience and increase engagement with the displayed information or advertisements.- Interactive display systems for user engagement: ULED displays can be integrated with interactive systems to enhance user engagement. These systems may include touch-sensitive screens, gesture recognition, or voice commands, allowing users to interact directly with the display content. This interactivity can be used for various applications such as gaming, educational content, or interactive advertising, providing a more immersive and engaging experience for users.
- Personalized content delivery on ULED displays: ULED displays can be equipped with systems that analyze user preferences and behavior to deliver personalized content. This may involve using AI algorithms to predict user interests, tracking viewing habits, or integrating with user profiles. By tailoring content to individual users, ULED displays can significantly increase user engagement and satisfaction.
- Social media integration for enhanced engagement: ULED displays can be integrated with social media platforms to increase user engagement. This integration allows users to share content directly from the display, participate in live polls or discussions, or view social media feeds alongside other content. Such features can create a more connected and interactive viewing experience, encouraging users to engage more deeply with the displayed content.
- Augmented reality features in ULED displays: Incorporating augmented reality (AR) features into ULED displays can significantly boost user engagement. This could involve overlaying digital information onto the real-world environment viewed through the display, creating interactive 3D models, or providing contextual information based on what the user is viewing. These AR features can make the viewing experience more interactive and informative.
- Multi-user interaction capabilities: ULED displays can be designed to support multi-user interaction, allowing multiple users to engage with the display simultaneously. This could involve split-screen functionality, collaborative gaming experiences, or shared workspaces. By enabling multiple users to interact concurrently, these displays can foster collaboration and increase overall engagement in various settings such as classrooms, offices, or public spaces.
02 Personalized content delivery on ULED displays
ULED displays can be programmed to deliver personalized content based on user preferences, demographics, or behavior. This customization can include targeted advertisements, relevant information, or tailored entertainment options. By providing content that is more relevant to individual users, engagement levels can be significantly increased.Expand Specific Solutions03 Integration of social media and real-time updates
ULED displays can be integrated with social media platforms and real-time data feeds to provide up-to-date information and encourage user interaction. This integration allows for features such as live social media walls, real-time polling, or instant feedback mechanisms, which can boost user engagement and create a more dynamic viewing experience.Expand Specific Solutions04 Gamification elements in ULED display content
Incorporating gamification elements into ULED display content can significantly increase user engagement. This may include interactive games, quizzes, challenges, or reward systems that encourage users to interact with the display and spend more time engaging with the content. Such elements can make the viewing experience more enjoyable and memorable.Expand Specific Solutions05 Multi-screen synchronization and interaction
ULED displays can be synchronized with other devices such as smartphones or tablets to create a multi-screen interactive experience. This allows for extended engagement beyond the primary display, enabling users to access additional content, participate in polls, or control aspects of the display from their personal devices. Such synchronization can lead to deeper engagement and a more immersive experience.Expand Specific Solutions
ULED Industry Leaders
The ULED display market is in a dynamic growth phase, driven by increasing demand for interactive and immersive user experiences. Major players like Samsung Electronics, LG Display, and Apple are investing heavily in this technology, indicating its potential for significant market expansion. The technology is rapidly maturing, with companies such as Universal Display Corp. and BOE Technology leading in innovation. Microsoft and Intel are also making strides in integrating ULED displays into their product ecosystems. While not yet fully mature, ULED technology is showing promising advancements in energy efficiency, color accuracy, and interactivity, positioning it as a key player in the future of display technologies.
Universal Display Corp.
Technical Solution: Universal Display Corporation (UDC) is a pioneer in OLED technology, which forms the basis for ULED displays. Their phosphorescent OLED (PHOLED) technology significantly improves energy efficiency in displays. For interactive user engagement, UDC has developed flexible and transparent OLED displays that can be integrated into various form factors, enabling new interactive experiences. They are also working on printable OLED materials, which could lead to cost-effective, large-area displays suitable for interactive public spaces or immersive environments.
Strengths: Industry leader in OLED materials and technology; high-efficiency PHOLED technology; flexible and transparent display capabilities. Weaknesses: Reliance on partners for display manufacturing; potential competition from emerging display technologies.
LG Display Co., Ltd.
Technical Solution: LG Display is at the forefront of ULED display technology, particularly in the realm of interactive user engagement. They have developed large-format OLED displays with touch capabilities, ideal for interactive public installations and smart home interfaces. LG's ULED technology combines the benefits of OLED with quantum dot technology, resulting in displays with enhanced brightness and color accuracy. For interactive applications, they've implemented low-latency touch response and multi-touch functionality. LG is also exploring transparent OLED displays, which open up new possibilities for augmented reality experiences and interactive shop windows.
Strengths: Vertically integrated manufacturing; expertise in large-format displays; advanced touch integration. Weaknesses: High production costs for large OLED panels; competition from cheaper LCD technologies in some markets.
ULED Core Innovations
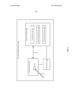
Interactive LED display device and display method thereof
PatentActiveUS20190139485A1
Innovation
- An interactive LED display device with a control terminal, unit information acquisition systems, LED modules, and interactive sensors, which communicate sensor information to achieve adaptive and stable interactive responses, using physical or capacitance sensors and microcontroller units to manage output status and maintain high-quality interactive effects.
Interactive display
PatentWO2014074090A1
Innovation
- An interactive display system with a high-speed display interconnect between the display screen and controller, allowing partial screen refresh and data retention within pixels or a frame buffer, enabling selective updates of only changed pixels, thus eliminating artificial refresh rate limits and achieving sub-1ms response times.
ULED Energy Efficiency
ULED displays have made significant strides in energy efficiency, positioning themselves as a sustainable alternative in the interactive display market. These displays utilize ultra-low-power light-emitting diodes, which consume substantially less energy compared to traditional LED or OLED technologies. The energy-saving capabilities of ULED displays are attributed to their advanced pixel architecture and innovative driving mechanisms.
One of the key factors contributing to ULED's energy efficiency is its ability to selectively illuminate only the necessary pixels, reducing power consumption in darker scenes. This selective illumination is achieved through precise local dimming techniques, which allow for granular control over individual LED zones. As a result, ULED displays can maintain high contrast ratios and deep blacks while minimizing overall power usage.
Furthermore, ULED technology incorporates advanced power management systems that optimize energy distribution across the display panel. These systems dynamically adjust power allocation based on content and ambient lighting conditions, ensuring optimal performance with minimal energy waste. The integration of ambient light sensors enables ULEDs to automatically adjust brightness levels, further enhancing energy efficiency in various viewing environments.
Recent advancements in ULED manufacturing processes have also contributed to improved energy efficiency. The use of more efficient phosphor materials and refined quantum dot technology has resulted in higher light output per watt, reducing the overall power requirements for achieving desired brightness levels. Additionally, the implementation of advanced thermal management solutions helps maintain optimal operating temperatures, which in turn contributes to prolonged lifespan and consistent energy efficiency over time.
In the context of interactive user engagement, ULED's energy efficiency plays a crucial role in enabling extended usage periods without significant battery drain, particularly in portable devices. This characteristic is especially valuable for applications such as augmented reality (AR) and virtual reality (VR), where prolonged user interactions are common. The reduced power consumption of ULED displays also translates to lower heat generation, enhancing user comfort during extended interactive sessions.
As the demand for eco-friendly technologies continues to grow, ULED's energy efficiency positions it as a promising solution for sustainable display technologies. The reduced energy consumption not only lowers operational costs but also aligns with global initiatives to minimize carbon footprints in consumer electronics. This aspect of ULED technology is likely to drive its adoption in various sectors, from consumer devices to large-scale public displays, where energy efficiency is a critical consideration.
One of the key factors contributing to ULED's energy efficiency is its ability to selectively illuminate only the necessary pixels, reducing power consumption in darker scenes. This selective illumination is achieved through precise local dimming techniques, which allow for granular control over individual LED zones. As a result, ULED displays can maintain high contrast ratios and deep blacks while minimizing overall power usage.
Furthermore, ULED technology incorporates advanced power management systems that optimize energy distribution across the display panel. These systems dynamically adjust power allocation based on content and ambient lighting conditions, ensuring optimal performance with minimal energy waste. The integration of ambient light sensors enables ULEDs to automatically adjust brightness levels, further enhancing energy efficiency in various viewing environments.
Recent advancements in ULED manufacturing processes have also contributed to improved energy efficiency. The use of more efficient phosphor materials and refined quantum dot technology has resulted in higher light output per watt, reducing the overall power requirements for achieving desired brightness levels. Additionally, the implementation of advanced thermal management solutions helps maintain optimal operating temperatures, which in turn contributes to prolonged lifespan and consistent energy efficiency over time.
In the context of interactive user engagement, ULED's energy efficiency plays a crucial role in enabling extended usage periods without significant battery drain, particularly in portable devices. This characteristic is especially valuable for applications such as augmented reality (AR) and virtual reality (VR), where prolonged user interactions are common. The reduced power consumption of ULED displays also translates to lower heat generation, enhancing user comfort during extended interactive sessions.
As the demand for eco-friendly technologies continues to grow, ULED's energy efficiency positions it as a promising solution for sustainable display technologies. The reduced energy consumption not only lowers operational costs but also aligns with global initiatives to minimize carbon footprints in consumer electronics. This aspect of ULED technology is likely to drive its adoption in various sectors, from consumer devices to large-scale public displays, where energy efficiency is a critical consideration.
ULED User Experience
ULED displays are revolutionizing the way users interact with digital content, offering unprecedented levels of engagement and immersion. These displays leverage ultra-high definition technology to create visually stunning and responsive interfaces that captivate users and enhance their overall experience.
One of the key aspects of ULED user experience is the seamless integration of touch and gesture controls. Users can effortlessly navigate through content, manipulate objects, and control various functions with intuitive hand movements and multi-touch gestures. This natural interaction method reduces the learning curve and makes the technology accessible to a wide range of users, from tech-savvy individuals to those less familiar with digital interfaces.
The high refresh rates and low latency of ULED displays contribute significantly to a smooth and responsive user experience. This is particularly noticeable in fast-paced applications such as gaming or video editing, where every millisecond counts. Users can enjoy fluid animations, precise control, and real-time feedback, leading to a more engaging and satisfying interaction with the device.
ULED displays also excel in color reproduction and contrast, creating vivid and lifelike images that enhance the visual experience. This is especially beneficial in applications such as digital art creation, photo editing, and multimedia consumption. Users can appreciate the nuances of color and detail, leading to a more immersive and enjoyable experience across various content types.
The adaptive brightness and color temperature features of ULED displays further enhance user comfort. These displays can automatically adjust their settings based on ambient lighting conditions, reducing eye strain during prolonged use and ensuring optimal visibility in different environments. This adaptability contributes to a more pleasant and less fatiguing user experience, particularly for those who spend extended periods interacting with the display.
ULED technology also enables innovative form factors and design possibilities. Flexible and transparent ULED displays are pushing the boundaries of traditional device designs, allowing for curved screens, foldable devices, and even transparent displays integrated into everyday objects. These novel form factors open up new possibilities for user interaction and can significantly impact how users perceive and engage with digital content in their daily lives.
The enhanced user experience provided by ULED displays extends beyond visual aspects. Many ULED devices incorporate haptic feedback and spatial audio technologies, creating a multi-sensory experience that further immerses users in the digital environment. This holistic approach to user interaction can lead to more engaging and memorable experiences across various applications, from entertainment to productivity tools.
One of the key aspects of ULED user experience is the seamless integration of touch and gesture controls. Users can effortlessly navigate through content, manipulate objects, and control various functions with intuitive hand movements and multi-touch gestures. This natural interaction method reduces the learning curve and makes the technology accessible to a wide range of users, from tech-savvy individuals to those less familiar with digital interfaces.
The high refresh rates and low latency of ULED displays contribute significantly to a smooth and responsive user experience. This is particularly noticeable in fast-paced applications such as gaming or video editing, where every millisecond counts. Users can enjoy fluid animations, precise control, and real-time feedback, leading to a more engaging and satisfying interaction with the device.
ULED displays also excel in color reproduction and contrast, creating vivid and lifelike images that enhance the visual experience. This is especially beneficial in applications such as digital art creation, photo editing, and multimedia consumption. Users can appreciate the nuances of color and detail, leading to a more immersive and enjoyable experience across various content types.
The adaptive brightness and color temperature features of ULED displays further enhance user comfort. These displays can automatically adjust their settings based on ambient lighting conditions, reducing eye strain during prolonged use and ensuring optimal visibility in different environments. This adaptability contributes to a more pleasant and less fatiguing user experience, particularly for those who spend extended periods interacting with the display.
ULED technology also enables innovative form factors and design possibilities. Flexible and transparent ULED displays are pushing the boundaries of traditional device designs, allowing for curved screens, foldable devices, and even transparent displays integrated into everyday objects. These novel form factors open up new possibilities for user interaction and can significantly impact how users perceive and engage with digital content in their daily lives.
The enhanced user experience provided by ULED displays extends beyond visual aspects. Many ULED devices incorporate haptic feedback and spatial audio technologies, creating a multi-sensory experience that further immerses users in the digital environment. This holistic approach to user interaction can lead to more engaging and memorable experiences across various applications, from entertainment to productivity tools.
Unlock deeper insights with Patsnap Eureka Quick Research — get a full tech report to explore trends and direct your research. Try now!
Generate Your Research Report Instantly with AI Agent
Supercharge your innovation with Patsnap Eureka AI Agent Platform!