Patents
Literature
Hiro is an intelligent assistant for R&D personnel, combined with Patent DNA, to facilitate innovative research.
Hiro

135results about How to "Effective noise" patented technology

Highway noise barrier

A highway noise barrier panel assembly has a base panel, sound-attenuating insulation located adjacent an exterior surface of the base panel and an insulation retaining structure to secure the insulation in fixed relation to the base panel. A noise barrier has at least two generally vertical support posts, at least one wall panel with sides attached to the support posts, sound-attenuating insulation located adjacent an exterior surface of the wall panel and an insulation retaining structure to secure the insulation in fixed relation to the base panel. Additionally, a noise barrier retrofit kit adapted to be attached to a wall surface is provided with at least two channel-defining members adapted to be mounted to the wall surface in generally parallel spaced apart relationship, so as to define an insulation receiving channel therebetween, sound-attenuating insulation adapted to be located in such channel and at least one insulation retaining structure adapted to be secured to the channel-defining members whereby to hold the insulation in place. Further, a noise barrier having a wall surface, at least two channel-defining members mounted to the wall surface in generally parallel spaced apart relationship, so as to define an insulation receiving channel therebetween, sound-attenuating insulation located in such channel and an insulation retaining structure secured to the channel-defining members whereby to hold the insulation in place is provided.
Owner:NUFORM BUILDING TECH

Natural image denoising method based on dictionary learning and block matching

The invention discloses a natural image denoising method based on dictionary learning and block matching, which mainly solves the problems that texture details are easily lost and homogenous areas are not smooth in the conventional natural image denoising. The method comprises the following steps of: (1) setting a denoising target function and inputting a noise-containing image z(x); (2) making an original image equal to the noise-containing image, namely y(x)=z(x), and making a dictionary D be a redundant discrete cosine transform (DCT) dictionary; (3) updating the atoms of the dictionary D and a corresponding coefficient matrix alphaij by using a kernel-singular value decomposition (KSVD) algorithm; (4) denoising the noise-containing image z(x) by using a block matching three-dimensional (BM3D) algorithm to acquire a primary denoising result; and (5) introducing the updated D and alphaij into the estimation formula of the original image to acquire the denoising result of the noise-containing image z(x). Compared with the conventional classic denoising method, the method achieves a better denoising effect and can be used for denoising a natural image; and the homogeneous area is smoothened, and the texture, the profile and the edge detail information of the image can be maintained at the same time.
Owner:XIDIAN UNIV

Apparatus and method for noise sensitivity improvement to a switching system

In a noise sensitivity improved switching system and method thereof, comprised sensing the output voltage of the switching system to generate a feedback signal, respectively amplifying the feedback signal by two gains to generate two signals in phase or out of phase, filtering one of the two amplified signals, and summing or comparing the filtered signal and the other one, thereby reducing the noise interference to the switching system.
Owner:RICHTEK TECH

Noise reducing vortex generators on aircraft wing control surfaces

Vortex generators are arranged on the edges of aircraft wing control surfaces to generate smaller vortices that weaken the main vortex that would otherwise be generated at these areas, and thereby reduce the aerodynamic generation of noise. Each vortex generator includes plural elongated elements in the form of rigid rods or flexible bristles protruding laterally outwardly from the respective edge of the control surface. The vortex generators are preferably arranged on the inboard and outboard edges of high lift flaps and slats.
Owner:AIRBUS OPERATIONS GMBH

Microactuator, head gimbal assembly, and disk drive device

Embodiments of the present invention relate to approaches to effectively let noise on a head slider bonded to a silicon substrate of a microactuator, escape to the ground. A head gimbal assembly (HGA) according to an embodiment of the present invention comprises a microactuator bonded to a gimbal tongue. The microactuator comprises a piezoelectric element and a movable part for moving in response to expansion or contraction of the piezoelectric element. The motion of the movable part causes a head slider to slightly move. The microactuator further comprises a conductive path including an impurity-containing silicon layer formed on the silicon substrate. The conductive path transmits electric charge of the head slider to a suspension. The conductivity of the impurity-containing silicon layer is lower than the one of the silicon substrate so that the noise charge of the head slider may escape to the suspension.
Owner:WESTERN DIGITAL TECH INC

Image denoising based on wavelets and multifractals for singularity detection and multiscale anisotropic diffusion

A noisy image is transformed through a wavelet transform into multiple scales. The wavelet coefficients are classified at each scale into two categories corresponding to irregular coefficients, edge-related and regular coefficients. Different denoising algorithms are applied to different classes. Alternatively, a denoising technique is applied to the finest scale, and the wavelet coefficients at all scales are denoised through anisotropic diffusion.
Owner:UNIVERSITY OF ROCHESTER

Workpiece clamping structure for grinding tool, and tracking type casting edging machine and method

The invention discloses a workpiece clamping structure for a grinding tool, and a tracking type casting edging machine and method. The workpiece clamping structure comprises a workbench, the workbench is provided with a plurality of positioning devices, at least one positioning device comprises a cylinder and a clamping block, and the clamping blocks clamp or leave a workpiece to be machined, under the action of cylinder piston rods. The tracking type casting edging machine comprises a bed, a moving mechanism, a grinding head assembly, the above-mentioned workpiece clamping structure, an industrial camera, a visual recognition system and a control system. The edging machine can quickly grind flash and burrs on a casting according to the requirements of a production drawing and the shape and size of the casting, without programming and equipment adjusting during casting replacement, the production efficiency is high, and machining error is small.
Owner:UNIV OF JINAN

Method and Apparatus for the Detection of Trace Gas Species Using Multiple Line Integrated Absorption Spectroscopy

An apparatus and method are used to enhance the sensitivity of a spectrometer (sensor) for trace gas species detection by employing an external cavity continuously tunable CW quantum cascade laser and integrating the absorption spectra across multiple lines of the species. With this method the absorption spectra of NO2 is continuously recorded across the R-branch from 1628.8 cm−1 to 1634.5 cm−1. By integrating the resulting spectra, the detection sensitivity for NO2 is improved by a factor of 15 compared to the sensitivity achieved using single line laser absorption spectroscopy with the same apparatus. This procedure offers much shorter data acquisition times for the real-time monitoring of trace gas species compared with adding repeated scans of the spectra to improve the signal-to-noise ratio.
Owner:ADELPHI UNIVERSITY

Vehicle streering system

A vehicle steering system includes a sound absorbing material made of sponge and attached to an elastic joint which connects a second steering shaft extending from a steering wheel and a third steering shaft extending from a steering gear box to each other. The sound absorbing material faces an opening in a joint cover which is mounted on a dashboard and through which the second steering shaft passes. Therefore, the sound absorbing material absorbs noise which is produced in the steering gear box such that the noise does not pass from the engine room side through the opening in the joint cover to the vehicle compartment side, thereby preventing transmission of the noise to the vehicle compartment side. Further, the sound absorbing material requires only a simple shape and construction, thereby reducing the cost. Furthermore, the sound absorbing material does not come into sliding contact with the second steering shaft, and thus does not produce sliding noise or sliding resistance.
Owner:HONDA MOTOR CO LTD

Vehicle steering system

A vehicle steering system includes a sound absorbing material made of sponge and attached to an elastic joint which connects a second steering shaft extending from a steering wheel and a third steering shaft extending from a steering gear box to each other. The sound absorbing material faces an opening in a joint cover which is mounted on a dashboard and through which the second steering shaft passes. Therefore, the sound absorbing material absorbs noise which is produced in the steering gear box such that the noise does not pass from the engine room side through the opening in the joint cover to the vehicle compartment side, thereby preventing transmission of the noise to the vehicle compartment side. Further, the sound absorbing material requires only a simple shape and construction, thereby reducing the cost. Furthermore, the sound absorbing material does not come into sliding contact with the second steering shaft, and thus does not produce sliding noise or sliding resistance.
Owner:HONDA MOTOR CO LTD

Sparse representation and low-rank double restraints-based nonlocal denoising method

The invention discloses a sparse representation and low-rank double restraints-based nonlocal denoising method. The problem of a poor effect in an existing denoising method is mainly solved. The method comprises the following implementation steps: (1) inputting a noise image; (2) estimating a noise standard deviation; (3) setting parameters; (4) obtaining a pixel block sample set; (5) building a similar block matrix; (6) obtaining a coefficient matrix of the similar block matrix; (7) carrying out singular value filtering on the coefficient matrix; (8) obtaining the denoised coefficient matrix; (9) obtaining the denoised image matrix; (10) judging whether the maximal iterative times is achieved, if so, carrying out a step (11), or else, carrying out residuals recovery, and carrying out the step (2); and (11) outputting the denoised image matrix. The method has mating constraints on the sparsity and the constitutive property of an image signal. Compared with the prior art, the method disclosed by the invention has the advantages that structural texture information of a natural image can be kept and recovered when the noise is well smoothed.
Owner:XIDIAN UNIV

Acoustic absorbing device

ActiveUS7451855B2Easily and quickly secured and attachedEffective noiseNoise reduction installationsCeilingsCouplingEngineering
An acoustic absorbing device includes a housing having a chamber formed by an outer peripheral wall and a bottom wall, a hood engaged into the housing, an absorbing member engaged into the hood, and a silencer engaged into the absorbing member, the silencer and the absorbing member may be selectively attached to the hood or may be easily replaced with the other ones or new or different ones according to different environment. The silencer may include an outer cap extended into or out of the absorbing member. The housing includes one or more couplers for selectively coupling the housing to the other coupling or supporting members.
Owner:WISWONG TECH

Fundus image vascular segmentation method based on phase congruency

The invention discloses a fundus image blood vessel segmentation method based on phase congruency and mainly overcomes the defect that a traditional method can not be used to accurately segment blood vessels in fundus images. The fundus image vascular segmentation method base on the phase congruency can be simultaneously used to segment small blood vessels of most tips. The method comprises the steps: (1) extracting green channels of the fundus images, (2) enhancing the contrast ratio of the images through contrast limited adaptive histogram equalization (CLAHE), (3) filtering the fundus images through the anisotropic coupled diffusion equation, (4) segmenting the blood vessels of the fundus images filtered or not filtered through the anisotropic coupled diffusion equation in a phase congruency algorithm, (5) multiplying pixel-levels of results of vessels, of two fundus images, segmented based on the phase congruency algorithm, (6) processing the images in a binaryzation mode through the iterative threshold segmentation method, (7) optimizing the images in the mathematical morphology method. The fundus image vascular segmentation method has significant application values in fields of three-dimensional splicing of the fundus images and judging existence of diabetes mellitus and severity of diabetes mellitus.
Owner:TIANJIN POLYTECHNIC UNIV

Space diversity trellis interleaver system and method

Several embodiments of a space diversity trellis interleaver system are provided for communicating data over a plurality of separate communication paths in order to inhibit distortion caused by impulse noise or other correlated noise and enhance the data transmission rate of data communications. The transmitter is designed to receive a plurality of data streams from data terminal equipment (DTE), which can be one or more devices. One or more convolutional encoders, preferably trellis encoders, encode each of the data streams. In an alternative embodiment, more than one trellis encoder is used to trellis encode each data stream. Data segments from the convolutionally encoded data streams are interleaved with a switch. The plurality of interleaved convolutionally encoded data streams are modulated and transmitted onto a respective plurality of separate communication paths. At the receiver, the plurality of data streams is received from the separate communication paths and demodulated. The data segments are de-interleaved with a switch, and then the de-interleaved data streams are convolutionally decoded with convolutional decoders, preferably trellis decoders. The de-interleaved convolutionally decoded data streams are communicated to one or more DTEs.
Owner:SUMMIT TECH SYST LP

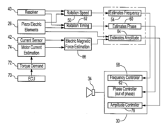
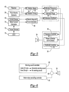
Noise reduction system for an electrically poered automotive vehicle

InactiveUS20120070012A1Effective noiseReduces motor vibration and noiseEar treatmentNoise generationVIT signalsLoudspeaker
A noise reduction system for an automotive vehicle powered at least in part by an electric motor located separately from the passenger compartment. The system includes at least one sensor which produces an output signal having a frequency, amplitude and phase representative of noise generated by the electric motor. At least one speaker is positioned closely adjacent the electric motor. A speaker output controller receives the output from the sensor as an input signal and generates an output signal to the speaker so that the speaker produces an audible signal having substantially the same frequency and amplitude but inverted in phase relative to the output from the sensor.
Owner:HITACHI LTD

Semiconductor device and semiconductor package including the same

Provided is a semiconductor device capable of removing a power ground grid noise using a small area. The semiconductor device includes a first chip including at least one decoupling capacitor; and a second semiconductor chip stacked over the first semiconductor chip, including internal circuits.
Owner:SK HYNIX INC

MEMS resonator and manufacturing method of the same

A method is for manufacturing a microeletromechanical system resonator having a semiconductor device and a microelectromechanical system structure unit formed on a substrate. The method includes: forming a lower electrode of an oxide-nitride-oxide capacitor unit included in the semiconductor device using a first silicon layer; forming, using a second silicon layer, a substructure of the microelectromechanical system structure unit and an upper electrode of the oxide-nitride-oxide capacitor unit included in the semiconductor device; and forming, using a third silicon layer, a superstructure of the microelectromechanical system structure unit and a gate electrode of a complementary metal oxide semiconductor circuit unit included in the semiconductor device.
Owner:SEIKO EPSON CORP

Apparatus for noise canceling and method for the same

An embodiment of the present invention provides an apparatus for noise canceling that includes: an input unit configured to receive an input voice signal; and one or more processors configured to perform a first noise cancellation using as input the received input voice signal to generate a first voice signal by cancelling noise from the input voice signal using a noise canceling model which is trained using a plurality of reference voice signals, perform a second noise cancellation using as input the first voice signal generated by the noise canceling model to generate a second voice signal in which residual noise is canceled from the first voice signal using statistical analysis, and generate an output voice signal comprising an encoding of the second voice signal.
Owner:LG ELECTRONICS INC

Electrical receptacle connector

An electrical receptacle connector includes a metallic shell, an insulated housing, a plurality of upper-row receptacle terminals, and a plurality of lower-row receptacle terminals. The insulated housing is received in the metallic shell. The upper-row receptacle terminals are held in the insulated housing and include a plurality of tail portions protruded from a bottom of the insulation body to be arranged into a row. The lower-row receptacle terminals are held in the insulated housing and include a plurality of tail portions protruded from the bottom of the insulated housing to be arranged into a first row and a second row. The tail portions of the lower-row receptacle terminals are parallel to the tail portions of the upper-row receptacle terminals.
Owner:ADVANCED CONNECTEK INC

Method and apparatus for trace gas detection using off-axis cavity and multiple line integrated spectroscopy

A sensor for NO2 with ultrahigh sensitivity of detection is created by combining off-axis integrated cavity output spectroscopy (OA-ICOS) (which can provide large path lengths of the order of several km in a small volume cell) with multiple line integrated absorption spectroscopy (MLIAS) (where the absorption spectra is integrated over a large number of rotational-vibrational transitions of the molecular species to further improve the sensitivity). Employing an external cavity tunable quantum cascade laser operating in the 1601-1670 cm−1 range and a high finesse optical cavity, the absorption spectra of NO2 over 100 transitions in the R-band have been recorded. Based on the observed linear relationship between the integrated absorption vs. concentration of NO2, the sensor has an effective sensitivity of detection of 28 ppt for NO2, which is among the most sensitive levels of detection of NO2 to date. This technique can be applied using any tunable laser source, such as diode lasers, capable of tuning over multiple lines of target species including complex molecules and explosive compounds.
Owner:ADELPHI UNIVERSITY

System and method of motion trajectory reconstruction

A method of motion trajectory reconstruction is described as follows: obtaining angular velocity time-domain data and linear acceleration time-domain data from a traveling inertial sensor; performing a spectrum analysis to transform the angular velocity time-domain data into angular velocity frequency-domain data; choosing a main frequency wave of the spectrum from the angular velocity frequency-domain data; transforming the angular velocity frequency-domain data only having the main frequency wave into angular displacement time-domain data; obtaining linear displacement time-domain data by calculating the linear acceleration time-domain data and the angular displacement time-domain data; and reconstructing and displaying the motion trajectory of the inertial sensor according to the linear displacement time-domain data and the angular displacement time-domain data.
Owner:NAT CENT UNIV

Touch panel

Disclosed herein is a touch panel, including: a transparent substrate; a first electrode pattern formed on the transparent substrate in a mesh pattern; an insulating layer formed on the transparent substrate; and a second electrode pattern formed on an exposed surface of the insulating layer and having an intersecting area facing the first electrode pattern formed in a mesh pattern and an area other than the intersecting area formed in a surface type. By this configuration, even though the thickness of the insulating layer is thinly manufactured, it is possible to secure the desired touch sensitivity and effectively shield noises occurring from an image display device.
Owner:SAMSUNG ELECTRO MECHANICS CO LTD

MEMS resonator and manufacturing method of the same

A method is for manufacturing a microeletromechanical system resonator having a semiconductor device and a microelectromechanical system structure unit formed on a substrate. The method includes: forming a lower electrode of an oxide-nitride-oxide capacitor unit included in the semiconductor device using a first silicon layer; forming, using a second silicon layer, a substructure of the microelectromechanical system structure unit and an upper electrode of the oxide-nitride-oxide capacitor unit included in the semiconductor device; and forming, using a third silicon layer, a superstructure of the microelectromechanical system structure unit and a gate electrode of a complementary metal oxide semiconductor circuit unit included in the semiconductor device.
Owner:SEIKO EPSON CORP

Noise correction circuit, imaging apparatus, and noise correction method

A noise correction circuit that detects and corrects noise included in an image signal output from an image sensor is provided. The noise correction circuit includes a noise determining unit, a noise removing unit, and a random number adding unit. The noise determining unit is configured to calculate an average value of a signal level in a predetermined range of the image signal output from the image sensor and use the calculated average value to calculate a noise component in a predetermined direction. The noise removing unit is configured to remove noise from the image signal output from the image sensor in response to the noise component determined by the noise determining unit. The random number adding unit is configured to add a random number at a level not determined by quantization of the image signal to the image signal after removal of the noise by the noise removing unit.
Owner:SONY CORP

Method and system for providing hearing assistance to a user

InactiveUS20070282392A1Reduction and elimination of perceptionEffective noiseElectrotherapyDeaf-aid setsHearing perceptionComputer science
There is provided a method for providing hearing assistance to a user, comprising: capturing audio signals by a microphone arrangement (18) and transmitting the audio signals by a transmission unit (10) via a modulated wireless audio link (30) to a receiver unit (12) and receiving the audio signals at the receiver unit (12); analyzing the amplitude of the received audio signals by an analyzer unit (34) of the receiver unit (12); dynamically adjusting by a gain control unit (36) located in the receiver unit (12) the gain applied to the received audio signals according to the result of the analysis by the analyzer unit (34), wherein the gain is equal to or larger than a first value (GH) if the amplitude of the received audio signals is equal to or larger than a first threshold (U1H) and is reduced to a finite value less than said first value if the amplitude of the received audio signals is less than said first threshold (U1H); and stimulating the user's hearing by stimulating means (14, 16) worn at or in the user's ear according to the audio signals amplified according to the gain set by the gain control unit (36).
Owner:PHONAK

Reluctance motor and self-control optical coupled switch and motion control, structure damp and radiating method

This invention discloses a three-phase magnetic resistance motor, which replaces the multi-stage rotor core with a ladder-type convex pole with an ellipse two pole rotor core and utilizes a self-controlled light-coupled switch mounted on the axostyle of the rotor to realize location control and frequency self-support having the character of a self-controlled synchronous motor, and its unit volumepower reaches to over 4 times of the present one.
Owner:张玉宝

Noise-cancelling earphone

A noise-cancelling earphone used to provide an audio source to a user's eardrum is provided. The noise-cancelling earphone includes a housing, a speaker, a first microphone and a second microphone. The housing includes a tube and a chamber. The tube has a first end and a second end which is opposite to the first end. The first end of the tube has an audio outlet and the chamber is connected to the second end of the tube. The speaker is disposed inside the housing. The first microphone is disposed on the first end of the tube, and has a first audio inlet facing toward the user's eardrum. The second microphone is disposed inside the chamber, and has a second audio inlet facing toward the external environment.
Owner:MERRY ELECTRONICS (SHENZHEN) CO LTD
Features
  • R&D
  • Intellectual Property
  • Life Sciences
  • Materials
  • Tech Scout
Why Patsnap Eureka
  • Unparalleled Data Quality
  • Higher Quality Content
  • 60% Fewer Hallucinations
Social media
Patsnap Eureka Blog
Learn More