Patents
Literature
Hiro is an intelligent assistant for R&D personnel, combined with Patent DNA, to facilitate innovative research.
Hiro

95results about How to "Improve driveability" patented technology

Electric motor car differential steeling control method based on slip rate control

The invention provides an electric motor car differential steeling control method based on slip rate control. The method comprises the following steps of: (1) measuring the back wheel speed of the electric motor car, the actual output torque of a drive motor and the side speed of the car according to a wheel sped sensor; and (2) calculating the side speed and the heading angle peed of the electric motor car according to two freedom steering models, and then calculating the slip angles of four wheels, thereby calculating the rotational speed of the four wheels; and using a special arithmetic to realize the control on the electric differential steeling of a hub electric motor car. The electric motor car differential steeling control method based on slip rate control combines the calculation of torque distribution with the slip rate of the wheels to lead a designed electric differential steeling mechanism to have the effect of differential lock simultaneously when having the differential and also have the functions of reducing the speed and increasing the torque, thus greatly improving the running trafficability characteristic and the steering performance of the electric motor car, not only achieving the effect of a mechanical differential mechanism on the aspect of function, but also improving the transmission efficiency and reducing the complexity of a mechanical system.
Owner:CHONGQING UNIV

Vehicle torque resolution

Hybrid vehicles and other vehicles with one or more torque producing devices operate more effectively with proper resolution of torque requests. In one aspect of the present invention, a plurality of vehicle force and torque requests are resolved at different levels depending on the vehicle architecture. In another aspect of the present invention, torque requests are resolved into base requests and fast requests depending upon response times of torque devices satisfying these requests.
Owner:FORD GLOBAL TECH LLC

Methods and systems for turbocharger control

ActiveUS20110041493A1Improve engine performanceEliminates the potential disturbances from the throttleElectrical controlInternal combustion piston enginesTurbochargerControl theory
Methods are provided for controlling a turbocharged engine having a throttle and a turbocharger. One example method comprises, moving the throttle during boosted conditions, separating out effects on the throttle inlet pressure into a first portion corresponding to disturbances caused by the movement of the throttle, and a second, remaining, portion. The method further comprises adjusting the turbocharger based on the second portion and not the first portion.
Owner:FORD GLOBAL TECH LLC

Method and apparatus for engine torque sensing

ActiveUS7389682B2Minimal required modificationLower packagingEngine testingWork measurementEngineering
An engine torque sensory system (10), adapted for use with an engine-driven vehicle (12) having a flexplate (18), including at least one sensor (26) fixedly attached on the surface of the flexplate (18) and operable to detect deformations along the surface of the flexplate (18) caused by the generated engine torque, and further including a receiver (28) communicatively coupled to the sensor (26), spaced from the rotating flexplate (18), and operable to convert sensor readings to correlative engine torque values.
Owner:GM GLOBAL TECH OPERATIONS LLC

Vehicle fast torque coordination

Rapidly changing torque demand is coordinated in an automotive vehicle having an engine and at least one motor. An engine base torque level indicating slowly changing torque produced by the engine is received. A motor torque is determined as a difference between a fast desired torque and the engine base torque level. An engine fast torque is determined as a difference between the request for fast desired torque and the motor torque. The motor torque is determined as a motor torque request and the engine fast torque is determined as an engine torque request.
Owner:FORD GLOBAL TECH LLC

Supercharged hybrid input differential engine system

A hybrid input differential engine system comprising a planetary gear set. Preferably, an ICE is connected to the planet gear carrier, the output shaft is connected to the ring gear, and the sun gear is connected to a supercharger / expander and an electric or hydraulic motor / generator. As engine torque increases, the supercharger speeds up, increasing torque still further, enabling a small displacement engine to have very high torque at low RPM. In cruise conditions, the sun gear direction is reversed by the motor / generator, causing the supercharger to act as an expander for efficiently throttling the engine. The motor / generator modulates the speed / torque relationships between the engine and the supercharger / expander. A second motor / generator may be used on the output shaft. The electric machines and electric storage may be downsized because less electrical power is needed for the operation of the system.
Owner:DELPHI TECH IP LTD

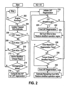
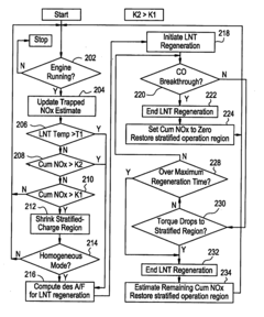
Control strategy for lean NOx trap regeneration

A method for controlling regeneration of a lean NOx trap includes estimating an accumulated NOx in the lean NOx trap; determining whether the estimated NOx exceeds a first threshold value or a second threshold value; estimating the temperature of the lean NOx trap; determining whether the estimated temperature exceeds a threshold temperature; determining a desired air-fuel ratio for initiating a regeneration event, the desired air-fuel ratio being determined based upon the estimated NOx and the estimated temperature of the lean NOx trap; hastening the occurrence of a regeneration event when the estimated NOx exceeds the first threshold value through active control of engine operating regimes; and initiating a regeneration event when the estimated NOx exceeds the second threshold value or when the estimated temperature exceeds the threshold temperature by forcing homogenous operation of the engine at the desired air-fuel ratio.
Owner:GM GLOBAL TECH OPERATIONS LLC

Vehicle control apparatus and method

A vehicle control apparatus includes a first fuel-cut duration extending portion that, when a fuel-cut is being executed during deceleration of the vehicle, slows the decrease in the engine speed by executing a slip control of a lock-up clutch; and a second fuel-cut duration extending portion which, when the engine speed has decreased to a coast-downshift threshold, which is higher by a given amount than a fuel-cut cancellation threshold, while the slip control is being executed, allows to downshift the automatic transmission if the road on which the vehicle is presently traveling has a downhill gradient that is larger than a reference value.
Owner:TOYOTA JIDOSHA KK

Multi-Mode Powersplit Powertrain for Electric Vehicle

A powertrain includes a countershaft, a gearset including a sun gear, a carrier connected to an engine, a ring gear releaseably held against rotation and connectable to the countershaft, and pinions supported on the carrier and meshing with the sun gear and ring gear, an electric machine connected to the sun gear and connectable to the countershaft, and a second electric machine driveably connected to the countershaft.
Owner:FORD GLOBAL TECH LLC

Method for controlling a hybrid vehicle

InactiveUS20050054479A1Inhibits gearEnhances driveability of vehicleElectric propulsion mountingGas pressure propulsion mountingElectric vehicleHybrid vehicle
A method for controlling a wheel drive system of a hybrid electric vehicle when starting a power source. The hybrid electric vehicle includes first and second power sources, a motor, and a power transfer unit adapted to drive a vehicle wheel. The method includes determining whether the first power source is to be started, determining whether a level of torque requested by a vehicle operator is greater than a threshold value, maintaining a current gear ratio if the threshold value is exceeded, and providing a target level of torque to the power transfer unit.
Owner:FORD GLOBAL TECH LLC

Method and apparatus for engine torque sensing

An engine torque sensory system (10), adapted for use with an engine-driven vehicle (12) having a flexplate (18), including at least one sensor (26) fixedly attached on the surface of the flexplate (18) and operable to detect deformations along the surface of the flexplate (18) caused by the generated engine torque, and further including a receiver (28) communicatively coupled to the sensor (26), spaced from the rotating flexplate (18), and operable to convert sensor readings to correlative engine torque values.
Owner:GM GLOBAL TECH OPERATIONS LLC

Driving force switching control apparatus

A driving force switching control apparatus in a vehicle which runs by two-wheel drive or four-wheel drive in accordance with the running state. The apparatus includes a device for determining whether the vehicle runs at a constant speed; and a device for determining a drive system of the vehicle running at a constant speed to be the two-wheel drive or the four-wheel drive according to road surface conditions computed using rolling resistance. A threshold value for switching between the two-wheel drive and the four-wheel drive is changed in a manner such that a determination area where the four-wheel drive is selected increases according to increase in the rolling resistance. Sufficient driving force transmitted to the wheels can be secured even when the road surface condition varies, and accordingly, sufficient driving force is secured also when the running condition is changed from constant speed running to acceleration or deceleration running.
Owner:HONDA MOTOR CO LTD

Control device for hybrid vehicle and control method therefor

In a hybrid vehicle that includes an internal combustion engine (1) in conjunction with an electric motor (2), when one of a process of regenerating the purification capacity of an exhaust gas purifying device (10) and a process of charging a battery (7) is performed (S102), the presence or absence of a request to perform the other process is determined (S103) so that the two processes may be performed as simultaneously as possible to reduce deterioration in driveability and in the fuel efficiency as much as possible.
Owner:TOYOTA JIDOSHA KK

Working truck

A hydraulic transmission mechanism (57) and a transmission gear (74) for transmitting the driving force of the engine (2) are provided, and the respective outputs of the hydraulic transmission mechanism (57) and the transmission gear (74) are synthesized to form a transmission output. (74), to obtain the output of high power transmission efficiency, use the above-mentioned hydraulic transmission mechanism (57), obtain the output of the stepless speed change that can advance zero position, with simple speed change operation, carry out speed adjustment according to the situation, seek the speed change function To improve and improve operability, etc., at the same time, through each output of forward rotation or reverse rotation of the hydraulic transmission mechanism (57), the composite output shaft (84) is rotated in one direction, and the composite output shaft (84) composite hydraulic transmission mechanism (57) and transmission gear (74) each output, carry out variable speed output, ensure the output torque when zero position advances easily, improve microspeed driving performance easily, and effectively utilize the high power of transmission gear (74) at working speed The output of transmission efficiency seeks to improve the working ability on dirt roads, etc.
Owner:YANMAR CO LTD

Vapor-compression refrigerant cycle for vehicle

In a refrigerant cycle for a vehicle air conditioner, a compressor is operated by a power from a vehicle engine, a load detecting unit is disposed to detect load of the engine, an electromagnetic clutch is turned off so that a consumed power consumed in the compressor is reduced to zero when the load detected by the load detecting unit is equal to or larger than a first threshold value. In the refrigerant cycle, the first threshold value is set to be changed along a power-cutting curved line in such a manner that an increase rate of the first threshold value relative to the vehicle speed becomes larger as the vehicle speed becomes larger.
Owner:DENSO CORP +1

Methods and systems for boost control

Methods and systems are provided for varying a proportion of compressed air recirculated to a compressor inlet from a location downstream of the compressor and upstream of a charge air cooler and a location downstream of the charge air cooler. A temperature-controlled compressor recirculation flow is used to reduce condensation from EGR being ingested into the compressor. The temperature-controlled compressor recirculation flow is also used to address compressor surge.
Owner:FORD GLOBAL TECH LLC

Control strategy for lean NOx trap regeneration

A method for controlling regeneration of a lean NOx trap includes estimating an accumulated NOx in the lean NOx trap; determining whether the estimated NOx exceeds a first threshold value or a second threshold value; estimating the temperature of the lean NOx trap; determining whether the estimated temperature exceeds a threshold temperature; determining a desired air-fuel ratio for initiating a regeneration event, the desired air-fuel ratio being determined based upon the estimated NOx and the estimated temperature of the lean NOx trap; hastening the occurrence of a regeneration event when the estimated NOx exceeds the first threshold value through active control of engine operating regimes; and initiating a regeneration event when the estimated NOx exceeds the second threshold value or when the estimated temperature exceeds the threshold temperature by forcing homogenous operation of the engine at the desired air-fuel ratio.
Owner:GM GLOBAL TECH OPERATIONS LLC

Method for controlling a hybrid vehicle

InactiveUS7115064B2Inhibits undesirable noise and component life degradationInhibits gear backlashesElectric propulsion mountingGas pressure propulsion mountingElectric vehicleHybrid vehicle
A method for controlling a wheel drive system of a hybrid electric vehicle when starting a power source. The hybrid electric vehicle includes first and second power sources, a motor, and a power transfer unit adapted to drive a vehicle wheel. The method includes determining whether the first power source is to be started, determining whether a level of torque requested by a vehicle operator is greater than a threshold value, maintaining a current gear ratio if the threshold value is exceeded, and providing a target level of torque to the power transfer unit.
Owner:FORD GLOBAL TECH LLC

Flywheel arrangement for an internal combustion engine

An engine is disclosed having a flywheel arrangement comprising a starter motor (1) having a pinion gear (2) at an output shaft. The pinion gear (2) constantly engages a corresponding crank gear of a crank wheel (3) located between an engine block and a flywheel assembly (9) of the engine. The crank wheel (3) is operatively connected to a crankshaft (4) of the engine via a one-way clutch unit (5). The flywheel assembly (9) comprises a first flywheel body (6) connected to the crankshaft (4) of the engine. A second flywheel body (7) is rotatable relative to the first flywheel body (6) and coupled thereto such that is able to move elastically through a limited angular distance relative to the first flywheel body (6). An interlocking device includes at least one locking arrangement (8) and is adapted to produce an interlocking connection between the second flywheel body (7) and the first flywheel body (6) during cranking of the internal combustion engine.
Owner:VOLVO CAR CORP

Working truck

InactiveCN1615411AEasy to operateEnsure continuously variable speedToothed gearingsFluid gearingsGear wheelRoad surface
A hydraulic transmission mechanism (57) and a transmission gear (74) for transmitting the driving force of the engine (2) are provided, and the respective outputs of the hydraulic transmission mechanism (57) and the transmission gear (74) are synthesized to form a transmission output. (74), to obtain the output of high power transmission efficiency, use the above-mentioned hydraulic transmission mechanism (57), obtain the output of the stepless speed change that can advance zero position, with simple speed change operation, carry out speed adjustment according to the situation, seek the speed change function To improve and improve operability, etc., at the same time, through each output of forward rotation or reverse rotation of the hydraulic transmission mechanism (57), the composite output shaft (84) is rotated in one direction, and the composite output shaft (84) composite hydraulic transmission mechanism (57) and transmission gear (74) each output, carry out variable speed output, ensure the output torque when zero position advances easily, improve microspeed driving performance easily, and effectively utilize the high power of transmission gear (74) at working speed The output of transmission efficiency seeks to improve the working ability on dirt roads, etc.
Owner:YANMAR AGRICULT EQUIP CO LTD

Walking system of planet wheel type planet vehicle

The invention discloses a walking system of planet vehicle with planet gear, comprising vehicle body, two planet gears and pre and post assistant wheels. Said planet wheels are set at left and right sides of vehicle body respectively and they are connected by synchronic device in the middle. Said pre and post assistant wheels are set at the front and the back of vehicle body and they are connected by linkage device set at the center of vehicle body in the middle. The invention not only realizes the improvement of passing capacity of vehicle in soft land and obstacle but also makes vehicle possess the capacity that vehicle can be folded and unfolded; the distance between vehicle body and the land can be adjusted; the whole vehicle can be oblique and there is pre-selecting driving project.
Owner:CHINA NORTH VEHICLE RES INST

Control system for hydrogen addition internal combustion engine

Disclosed is a control system for a hydrogen addition internal combustion engine that uses hydrocarbon fuel and hydrogen gas as combustion fuel. The control system includes fuel property judgment means for judging the property of hydrocarbon fuel; and addition ratio increase means that, when the hydrocarbon fuel is found to be heavy, increases the ratio of hydrogen gas addition to the hydrocarbon fuel. When the hydrocarbon fuel is found to be heavy, the control system increases the ratio of hydrogen gas addition to the hydrocarbon fuel. It is therefore possible to inhibit the combustion state from deteriorating due to the use of heavy fuel, thereby offering good emission and driveability.
Owner:TOYOTA JIDOSHA KK

Timing transmission gearing shifts for a hybrid electric powertrain

A transmission shift is timed for a hybrid electric powertrain as a function of a torque capacity of an electric machine relative to a shifting torque required to change gearings of a transmission. A vehicle is being propelled by the machine, with an engine stopped, when the shift is requested. If the machine has insufficient torque capacity to change transmission gearings, then the shift request is delayed until the engine has started.
Owner:FORD GLOBAL TECH LLC

Methods and Systems for a Torque-Based Air Conditioning Cut-Out Control

The present disclosure adjusts an air conditioner (A / C) compressor load responsive to the available torque to provide a compromise between A / C system and vehicle performance. The maximum available torque is monitored in real-time, and it is determined if there is enough torque to keep the A / C on for a fixed displacement compressor or how much the compressor displacement can be destroked through a current control for a variable displacement compressor. In an exemplary embodiment, an engine control unit (ECU) broadcasts the maximum available torque at a flywheel based on sensor readings and calculations. Accordingly, this broadcast enables a determination of whether there is enough torque available to maintain the A / C system in a controlled manner. Advantageously, the present disclosure avoids an abrupt turn-off or turn-on of the A / C system. Rather, the present disclosure maintains the A / C system in a controlled manner providing improved vehicle driveability.
Owner:CHRYSLER GROUP LLC
Features
  • R&D
  • Intellectual Property
  • Life Sciences
  • Materials
  • Tech Scout
Why Patsnap Eureka
  • Unparalleled Data Quality
  • Higher Quality Content
  • 60% Fewer Hallucinations
Social media
Patsnap Eureka Blog
Learn More