How to Optimize Gel Electrophoresis for DNA Separation?
JUN 30, 20259 MIN READ
Generate Your Research Report Instantly with AI Agent
Patsnap Eureka helps you evaluate technical feasibility & market potential.
DNA Separation Challenges
DNA separation through gel electrophoresis is a fundamental technique in molecular biology, yet it faces several challenges that can impact its efficiency and accuracy. One of the primary obstacles is the resolution of DNA fragments, particularly when dealing with large molecules or those with similar sizes. As the size of DNA increases, the pore size of the gel becomes a limiting factor, making it difficult to achieve clear separation of high molecular weight fragments.
Another significant challenge is the time required for the separation process. Traditional gel electrophoresis can be time-consuming, especially when working with larger DNA molecules or when high resolution is needed. This can be a bottleneck in high-throughput applications or time-sensitive experiments, necessitating the development of faster separation techniques.
The choice of gel matrix also presents challenges. Different types of agarose or polyacrylamide gels have varying properties that affect DNA migration. Selecting the appropriate gel concentration and composition for specific DNA size ranges requires careful consideration and often involves trade-offs between resolution and run time.
Uniformity of the electric field across the gel is crucial for consistent DNA migration. However, achieving this uniformity can be challenging, especially in larger gels or when using higher voltages. Non-uniform electric fields can lead to lane smiling or other distortions that complicate result interpretation.
DNA loading and sample preparation also pose challenges. Overloading wells can result in poor resolution and band smearing, while uneven sample loading can make comparisons between lanes difficult. Additionally, the presence of contaminants or impurities in DNA samples can interfere with migration and affect band clarity.
The detection and visualization of separated DNA bands, particularly for low-concentration samples or small fragments, remain challenging. While staining methods have improved, there is still a need for more sensitive and quantitative detection techniques that do not interfere with downstream applications.
Environmental factors such as temperature fluctuations during electrophoresis can affect DNA migration rates and gel integrity. Maintaining consistent running conditions, especially in long separations, is crucial for reproducible results but can be technically demanding.
Finally, the analysis and interpretation of gel electrophoresis results, especially for complex mixtures or when precise size determination is required, can be challenging. While digital imaging and analysis software have improved, there is still a need for more advanced, automated interpretation tools to enhance accuracy and reduce subjectivity in data analysis.
Another significant challenge is the time required for the separation process. Traditional gel electrophoresis can be time-consuming, especially when working with larger DNA molecules or when high resolution is needed. This can be a bottleneck in high-throughput applications or time-sensitive experiments, necessitating the development of faster separation techniques.
The choice of gel matrix also presents challenges. Different types of agarose or polyacrylamide gels have varying properties that affect DNA migration. Selecting the appropriate gel concentration and composition for specific DNA size ranges requires careful consideration and often involves trade-offs between resolution and run time.
Uniformity of the electric field across the gel is crucial for consistent DNA migration. However, achieving this uniformity can be challenging, especially in larger gels or when using higher voltages. Non-uniform electric fields can lead to lane smiling or other distortions that complicate result interpretation.
DNA loading and sample preparation also pose challenges. Overloading wells can result in poor resolution and band smearing, while uneven sample loading can make comparisons between lanes difficult. Additionally, the presence of contaminants or impurities in DNA samples can interfere with migration and affect band clarity.
The detection and visualization of separated DNA bands, particularly for low-concentration samples or small fragments, remain challenging. While staining methods have improved, there is still a need for more sensitive and quantitative detection techniques that do not interfere with downstream applications.
Environmental factors such as temperature fluctuations during electrophoresis can affect DNA migration rates and gel integrity. Maintaining consistent running conditions, especially in long separations, is crucial for reproducible results but can be technically demanding.
Finally, the analysis and interpretation of gel electrophoresis results, especially for complex mixtures or when precise size determination is required, can be challenging. While digital imaging and analysis software have improved, there is still a need for more advanced, automated interpretation tools to enhance accuracy and reduce subjectivity in data analysis.
Market Analysis for Gel Electrophoresis
The gel electrophoresis market for DNA separation has experienced significant growth in recent years, driven by increasing demand in genomics research, molecular diagnostics, and forensic applications. This market segment is expected to continue its upward trajectory due to advancements in personalized medicine, rising investments in life sciences research, and the growing prevalence of genetic disorders.
The global gel electrophoresis market size was valued at approximately $1.5 billion in 2020 and is projected to reach $2.2 billion by 2026, growing at a CAGR of around 6.5% during the forecast period. The DNA segment holds the largest share within the gel electrophoresis market, accounting for over 60% of the total revenue.
Key factors driving market growth include the increasing funding for proteomics and genomics research, rising demand for personalized medicine, and technological advancements in gel electrophoresis techniques. The academic and research institutes segment dominates the end-user market, followed by pharmaceutical and biotechnology companies.
Geographically, North America holds the largest market share, attributed to the presence of major players, well-established research infrastructure, and high R&D investments. However, the Asia-Pacific region is expected to witness the highest growth rate due to increasing research activities, rising healthcare expenditure, and growing awareness about genetic disorders.
The market is characterized by intense competition among key players such as Bio-Rad Laboratories, Thermo Fisher Scientific, and Merck KGaA. These companies are focusing on product innovations, strategic collaborations, and mergers and acquisitions to maintain their market positions and expand their product portfolios.
Emerging trends in the gel electrophoresis market include the development of automated and high-throughput systems, integration of advanced imaging technologies, and the rising adoption of capillary electrophoresis for DNA separation. These innovations aim to improve resolution, reduce analysis time, and enhance overall efficiency in DNA separation processes.
Challenges facing the market include the high cost of advanced gel electrophoresis systems, which may limit adoption in smaller laboratories and developing regions. Additionally, the availability of alternative technologies such as next-generation sequencing poses a potential threat to the growth of traditional gel electrophoresis methods for DNA separation.
In conclusion, the gel electrophoresis market for DNA separation presents significant opportunities for growth and innovation. As researchers continue to seek more efficient and accurate methods for DNA analysis, optimizing gel electrophoresis techniques remains a crucial focus area for both academic and industrial sectors.
The global gel electrophoresis market size was valued at approximately $1.5 billion in 2020 and is projected to reach $2.2 billion by 2026, growing at a CAGR of around 6.5% during the forecast period. The DNA segment holds the largest share within the gel electrophoresis market, accounting for over 60% of the total revenue.
Key factors driving market growth include the increasing funding for proteomics and genomics research, rising demand for personalized medicine, and technological advancements in gel electrophoresis techniques. The academic and research institutes segment dominates the end-user market, followed by pharmaceutical and biotechnology companies.
Geographically, North America holds the largest market share, attributed to the presence of major players, well-established research infrastructure, and high R&D investments. However, the Asia-Pacific region is expected to witness the highest growth rate due to increasing research activities, rising healthcare expenditure, and growing awareness about genetic disorders.
The market is characterized by intense competition among key players such as Bio-Rad Laboratories, Thermo Fisher Scientific, and Merck KGaA. These companies are focusing on product innovations, strategic collaborations, and mergers and acquisitions to maintain their market positions and expand their product portfolios.
Emerging trends in the gel electrophoresis market include the development of automated and high-throughput systems, integration of advanced imaging technologies, and the rising adoption of capillary electrophoresis for DNA separation. These innovations aim to improve resolution, reduce analysis time, and enhance overall efficiency in DNA separation processes.
Challenges facing the market include the high cost of advanced gel electrophoresis systems, which may limit adoption in smaller laboratories and developing regions. Additionally, the availability of alternative technologies such as next-generation sequencing poses a potential threat to the growth of traditional gel electrophoresis methods for DNA separation.
In conclusion, the gel electrophoresis market for DNA separation presents significant opportunities for growth and innovation. As researchers continue to seek more efficient and accurate methods for DNA analysis, optimizing gel electrophoresis techniques remains a crucial focus area for both academic and industrial sectors.
Current Limitations in DNA Separation Techniques
Despite the widespread use of gel electrophoresis for DNA separation, several limitations hinder its optimal performance and application in various research and diagnostic settings. One of the primary challenges is the resolution of DNA fragments, particularly for larger molecules. As the size of DNA fragments increases, their mobility through the gel matrix decreases, leading to poor separation and band resolution for high molecular weight DNA.
Another significant limitation is the time-consuming nature of the process. Traditional gel electrophoresis can take several hours to achieve adequate separation, which can be a bottleneck in high-throughput applications or time-sensitive analyses. This extended duration also increases the risk of sample degradation and affects the overall efficiency of laboratory workflows.
The sensitivity of gel electrophoresis is another area of concern. Detecting low concentrations of DNA can be challenging, especially when working with limited sample quantities or rare genetic sequences. This limitation often necessitates additional steps such as DNA amplification or the use of more sensitive, but also more expensive, detection methods.
Reproducibility and standardization across different laboratories and experiments pose another challenge. Variations in gel composition, running conditions, and imaging techniques can lead to inconsistencies in results, making it difficult to compare data across different studies or establish universal protocols.
The manual nature of gel preparation and sample loading introduces the potential for human error and variability. This can affect the uniformity of wells, sample distribution, and ultimately, the quality of separation and analysis. Additionally, the use of potentially hazardous chemicals, such as ethidium bromide for DNA visualization, raises safety concerns and requires special handling procedures.
Quantification accuracy is another limitation of traditional gel electrophoresis. While it provides a good qualitative assessment of DNA fragments, precise quantification can be challenging due to variations in staining efficiency and the non-linear relationship between band intensity and DNA concentration.
Lastly, the environmental impact of gel electrophoresis is a growing concern. The process generates significant amounts of plastic waste from disposable gels and buffers, contributing to laboratory sustainability issues. The energy consumption required for extended run times also adds to the environmental footprint of this technique.
Addressing these limitations is crucial for optimizing gel electrophoresis for DNA separation. Innovations in gel materials, electrophoresis equipment, and detection methods are continually being developed to overcome these challenges and enhance the efficiency, accuracy, and applicability of this fundamental molecular biology technique.
Another significant limitation is the time-consuming nature of the process. Traditional gel electrophoresis can take several hours to achieve adequate separation, which can be a bottleneck in high-throughput applications or time-sensitive analyses. This extended duration also increases the risk of sample degradation and affects the overall efficiency of laboratory workflows.
The sensitivity of gel electrophoresis is another area of concern. Detecting low concentrations of DNA can be challenging, especially when working with limited sample quantities or rare genetic sequences. This limitation often necessitates additional steps such as DNA amplification or the use of more sensitive, but also more expensive, detection methods.
Reproducibility and standardization across different laboratories and experiments pose another challenge. Variations in gel composition, running conditions, and imaging techniques can lead to inconsistencies in results, making it difficult to compare data across different studies or establish universal protocols.
The manual nature of gel preparation and sample loading introduces the potential for human error and variability. This can affect the uniformity of wells, sample distribution, and ultimately, the quality of separation and analysis. Additionally, the use of potentially hazardous chemicals, such as ethidium bromide for DNA visualization, raises safety concerns and requires special handling procedures.
Quantification accuracy is another limitation of traditional gel electrophoresis. While it provides a good qualitative assessment of DNA fragments, precise quantification can be challenging due to variations in staining efficiency and the non-linear relationship between band intensity and DNA concentration.
Lastly, the environmental impact of gel electrophoresis is a growing concern. The process generates significant amounts of plastic waste from disposable gels and buffers, contributing to laboratory sustainability issues. The energy consumption required for extended run times also adds to the environmental footprint of this technique.
Addressing these limitations is crucial for optimizing gel electrophoresis for DNA separation. Innovations in gel materials, electrophoresis equipment, and detection methods are continually being developed to overcome these challenges and enhance the efficiency, accuracy, and applicability of this fundamental molecular biology technique.
Existing Optimization Strategies
01 Gel composition for DNA separation
Various gel compositions are used for DNA separation in electrophoresis. These gels can be made from materials such as agarose, polyacrylamide, or other polymers. The composition of the gel affects the separation efficiency and resolution of DNA fragments.- Gel composition for DNA separation: Various gel compositions are used in electrophoresis for DNA separation. These gels can be made from materials such as agarose or polyacrylamide, with specific concentrations and additives to optimize separation based on DNA fragment size and other properties. The gel composition affects the resolution and speed of DNA separation.
- Electric field application techniques: Different methods of applying electric fields in gel electrophoresis can enhance DNA separation. These include pulsed-field gel electrophoresis, alternating current fields, and gradient electric fields. The electric field application technique can be optimized for separating different sizes of DNA fragments or for specific applications.
- Buffer systems and additives: The choice of buffer system and additives in gel electrophoresis significantly impacts DNA separation. Various buffer compositions, pH levels, and additives such as intercalating agents or denaturants can be used to improve separation efficiency, resolution, and visualization of DNA bands.
- Sample preparation and loading techniques: Proper sample preparation and loading are crucial for effective DNA separation in gel electrophoresis. This includes DNA extraction methods, purification techniques, and the use of loading dyes or markers. Advanced loading techniques can improve resolution and prevent sample diffusion.
- Detection and analysis methods: Various detection and analysis methods are employed to visualize and quantify separated DNA fragments. These include fluorescent dyes, UV illumination, and digital imaging systems. Advanced analysis software can be used to interpret electrophoresis results, determine fragment sizes, and perform comparative analyses.
02 Electric field application techniques
Different methods of applying electric fields are employed to improve DNA separation. These include pulsed-field gel electrophoresis, alternating current electrophoresis, and gradient field electrophoresis. These techniques enhance the resolution and separation of DNA fragments of various sizes.Expand Specific Solutions03 Buffer systems and additives
Specialized buffer systems and additives are used to optimize DNA separation. These may include intercalating agents, denaturants, or other chemicals that affect DNA mobility or conformation. The choice of buffer and additives can significantly impact the separation quality and speed.Expand Specific Solutions04 Detection and visualization methods
Various techniques are employed to detect and visualize separated DNA fragments. These include fluorescent dyes, radioactive labeling, and staining methods. Advanced imaging systems and software are used to analyze and interpret the results of gel electrophoresis.Expand Specific Solutions05 Microfluidic and miniaturized systems
Miniaturized and microfluidic gel electrophoresis systems have been developed for DNA separation. These systems offer advantages such as faster analysis times, reduced sample volumes, and potential for integration with other analytical techniques.Expand Specific Solutions
Key Players in Electrophoresis Industry
The gel electrophoresis DNA separation market is in a mature stage, with established technologies and a significant global market size. The competitive landscape is characterized by a mix of large life science companies and specialized biotechnology firms. Key players like Life Technologies Corp., Sage Science, Inc., and Beckman Coulter, Inc. have developed advanced systems and consumables for optimizing gel electrophoresis. The technology's maturity is evident in its widespread adoption across research institutions, such as California Institute of Technology and University of Washington, which contribute to ongoing refinements. However, there's still room for innovation in areas like automation, resolution, and speed, driving continued R&D efforts among industry leaders and academic collaborators.
Life Technologies Corp.
Technical Solution: Life Technologies has developed advanced gel electrophoresis systems for DNA separation optimization. Their E-Gel™ system utilizes pre-cast agarose gels with integrated electrodes, allowing for rapid and efficient DNA separation[1]. The company has also introduced the E-Gel™ Power Snap Electrophoresis Device, which combines electrophoresis and imaging in one instrument, streamlining the workflow[2]. Additionally, Life Technologies offers optimized buffers and DNA ladders specifically designed to enhance separation resolution and accuracy in gel electrophoresis[3].
Strengths: Integrated systems for faster results, pre-cast gels for consistency, and optimized reagents. Weaknesses: Proprietary consumables may increase ongoing costs, and the system may have limited flexibility for non-standard applications.
Sage Science, Inc.
Technical Solution: Sage Science has developed the Pippin™ line of automated DNA size selection instruments, which use pulsed-field electrophoresis technology to optimize DNA separation. Their systems, such as the PippinHT™, can precisely isolate DNA fragments ranging from 100 bp to 50 kb[4]. The company's BluePippin™ system incorporates a unique optical detection method that allows for real-time monitoring of DNA migration, enabling more accurate size selection[5]. Sage Science has also introduced the SageELF™, which can fractionate a single sample into 12 contiguous size fractions, providing unparalleled resolution for DNA separation[6].
Strengths: High precision in size selection, automated processes reducing human error, and versatility in fragment size range. Weaknesses: Higher initial investment compared to traditional gel electrophoresis systems, and potential limitations in throughput for some models.
Innovative Gel Matrix Developments
Multichannel preparative electrophoresis system
PatentActiveUS20100126862A1
Innovation
- The development of electrophoresis cassettes with macrofluidic separation channels and an integrated elution chamber system that allows for the fractionation and extraction of nucleic acids or proteins by drawing them across an analyte-permeable barrier into an elution chamber, using a gel matrix and buffer compositions that solidify within the cassette.
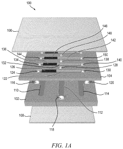
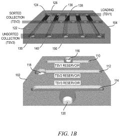
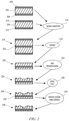
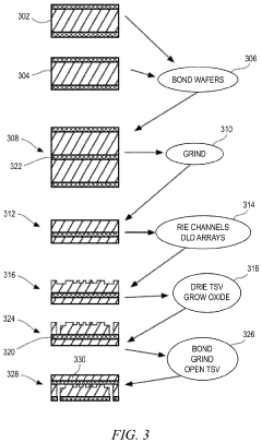
Layered silicon and stacking of microfluidic chips
PatentActiveUS20200215540A1
Innovation
- A silicon-based microfluidic device with layered stacking of chips, featuring monolithic sorting structures and through-silicon vias, enables reliable separation and sorting of macromolecules by utilizing deterministic lateral displacement arrays and advanced semiconductor processing for high-volume processing and integration of electronics and fluidics.
Safety and Environmental Considerations
Gel electrophoresis for DNA separation, while a powerful and widely used technique, requires careful consideration of safety and environmental factors. The use of potentially hazardous chemicals and electrical equipment necessitates strict adherence to safety protocols. Ethidium bromide, a common DNA staining agent, is a potent mutagen and carcinogen. Laboratories are increasingly adopting safer alternatives such as SYBR Safe or GelRed, which offer comparable sensitivity with reduced toxicity. Proper personal protective equipment (PPE), including gloves, lab coats, and safety goggles, is essential when handling these chemicals and operating electrophoresis equipment.
The disposal of used gels and buffers presents environmental challenges. Many institutions have implemented recycling programs for electrophoresis buffers, significantly reducing waste and environmental impact. Proper disposal of gels containing DNA stains is crucial to prevent environmental contamination. Some facilities utilize specialized waste management services for the safe disposal of these materials.
Electrical safety is another critical aspect of gel electrophoresis. The high voltages used in the process can pose significant risks if equipment is not properly maintained or used incorrectly. Regular inspection and maintenance of power supplies, gel boxes, and connecting cables are essential to prevent electrical hazards. Many modern electrophoresis systems incorporate safety features such as automatic shut-off mechanisms and insulated connectors to minimize risks.
The choice of buffer systems also impacts safety and environmental considerations. While Tris-borate-EDTA (TBE) and Tris-acetate-EDTA (TAE) buffers are commonly used, they can contribute to environmental pollution if not properly managed. Some researchers are exploring more environmentally friendly buffer alternatives that maintain separation efficiency while reducing ecological impact.
Energy consumption is an often-overlooked aspect of gel electrophoresis. Optimizing run times and voltage settings not only improves separation quality but also reduces energy usage, aligning with broader sustainability goals in laboratory practices. The development of low-power electrophoresis systems and the use of LED-based imaging systems for gel visualization further contribute to reducing the environmental footprint of this technique.
As the field progresses, there is a growing emphasis on developing "green" electrophoresis methods. This includes the use of biodegradable gel materials, non-toxic staining methods, and more efficient separation techniques that reduce overall resource consumption. These advancements not only address safety and environmental concerns but also often lead to improved performance and cost-effectiveness in DNA separation processes.
The disposal of used gels and buffers presents environmental challenges. Many institutions have implemented recycling programs for electrophoresis buffers, significantly reducing waste and environmental impact. Proper disposal of gels containing DNA stains is crucial to prevent environmental contamination. Some facilities utilize specialized waste management services for the safe disposal of these materials.
Electrical safety is another critical aspect of gel electrophoresis. The high voltages used in the process can pose significant risks if equipment is not properly maintained or used incorrectly. Regular inspection and maintenance of power supplies, gel boxes, and connecting cables are essential to prevent electrical hazards. Many modern electrophoresis systems incorporate safety features such as automatic shut-off mechanisms and insulated connectors to minimize risks.
The choice of buffer systems also impacts safety and environmental considerations. While Tris-borate-EDTA (TBE) and Tris-acetate-EDTA (TAE) buffers are commonly used, they can contribute to environmental pollution if not properly managed. Some researchers are exploring more environmentally friendly buffer alternatives that maintain separation efficiency while reducing ecological impact.
Energy consumption is an often-overlooked aspect of gel electrophoresis. Optimizing run times and voltage settings not only improves separation quality but also reduces energy usage, aligning with broader sustainability goals in laboratory practices. The development of low-power electrophoresis systems and the use of LED-based imaging systems for gel visualization further contribute to reducing the environmental footprint of this technique.
As the field progresses, there is a growing emphasis on developing "green" electrophoresis methods. This includes the use of biodegradable gel materials, non-toxic staining methods, and more efficient separation techniques that reduce overall resource consumption. These advancements not only address safety and environmental concerns but also often lead to improved performance and cost-effectiveness in DNA separation processes.
Automation and High-throughput Solutions
Automation and high-throughput solutions have revolutionized gel electrophoresis for DNA separation, significantly enhancing efficiency and reproducibility. These advancements have transformed traditional manual processes into streamlined, automated workflows capable of handling large sample volumes with minimal human intervention.
One key development is the introduction of automated gel loading systems. These robotic platforms can precisely load multiple samples simultaneously, eliminating human error and increasing throughput. Advanced systems can handle various sample types and volumes, adjusting parameters to ensure optimal separation. This automation not only saves time but also improves consistency across experiments.
Integrated imaging and analysis systems have further enhanced the automation process. These systems capture high-resolution images of gels at predetermined intervals, allowing for real-time monitoring of DNA separation. Sophisticated software algorithms can automatically detect and quantify DNA bands, generating comprehensive reports without manual intervention. This integration streamlines data collection and analysis, reducing the time from sample loading to result interpretation.
High-throughput capillary electrophoresis systems have emerged as a powerful alternative to traditional slab gels. These systems can analyze hundreds of samples in parallel, utilizing an array of capillaries for DNA separation. The small diameter of capillaries allows for faster heat dissipation, enabling the application of higher electric fields and resulting in shorter separation times. Automated sample injection and detection systems in these platforms further increase throughput and reproducibility.
Microfluidic devices represent another innovative approach to high-throughput DNA separation. These lab-on-a-chip systems miniaturize the electrophoresis process, allowing for parallel analysis of multiple samples on a single chip. The reduced sample and reagent volumes not only increase efficiency but also minimize waste. Advanced microfluidic platforms integrate sample preparation, separation, and detection steps, offering a complete automated solution for DNA analysis.
To support these automated systems, specialized software solutions have been developed. These programs control instrument parameters, manage sample information, and coordinate different stages of the workflow. Many offer user-friendly interfaces that allow researchers to design complex experimental protocols with ease. Additionally, data management and analysis tools integrated into these software packages facilitate the handling of large datasets generated by high-throughput systems.
As the field continues to advance, we can expect further innovations in automation and high-throughput solutions for gel electrophoresis. The integration of artificial intelligence and machine learning algorithms may lead to more adaptive and intelligent systems, capable of optimizing separation conditions in real-time based on sample characteristics and desired outcomes. These developments will continue to push the boundaries of DNA separation techniques, enabling faster, more accurate, and more comprehensive genetic analyses.
One key development is the introduction of automated gel loading systems. These robotic platforms can precisely load multiple samples simultaneously, eliminating human error and increasing throughput. Advanced systems can handle various sample types and volumes, adjusting parameters to ensure optimal separation. This automation not only saves time but also improves consistency across experiments.
Integrated imaging and analysis systems have further enhanced the automation process. These systems capture high-resolution images of gels at predetermined intervals, allowing for real-time monitoring of DNA separation. Sophisticated software algorithms can automatically detect and quantify DNA bands, generating comprehensive reports without manual intervention. This integration streamlines data collection and analysis, reducing the time from sample loading to result interpretation.
High-throughput capillary electrophoresis systems have emerged as a powerful alternative to traditional slab gels. These systems can analyze hundreds of samples in parallel, utilizing an array of capillaries for DNA separation. The small diameter of capillaries allows for faster heat dissipation, enabling the application of higher electric fields and resulting in shorter separation times. Automated sample injection and detection systems in these platforms further increase throughput and reproducibility.
Microfluidic devices represent another innovative approach to high-throughput DNA separation. These lab-on-a-chip systems miniaturize the electrophoresis process, allowing for parallel analysis of multiple samples on a single chip. The reduced sample and reagent volumes not only increase efficiency but also minimize waste. Advanced microfluidic platforms integrate sample preparation, separation, and detection steps, offering a complete automated solution for DNA analysis.
To support these automated systems, specialized software solutions have been developed. These programs control instrument parameters, manage sample information, and coordinate different stages of the workflow. Many offer user-friendly interfaces that allow researchers to design complex experimental protocols with ease. Additionally, data management and analysis tools integrated into these software packages facilitate the handling of large datasets generated by high-throughput systems.
As the field continues to advance, we can expect further innovations in automation and high-throughput solutions for gel electrophoresis. The integration of artificial intelligence and machine learning algorithms may lead to more adaptive and intelligent systems, capable of optimizing separation conditions in real-time based on sample characteristics and desired outcomes. These developments will continue to push the boundaries of DNA separation techniques, enabling faster, more accurate, and more comprehensive genetic analyses.
Unlock deeper insights with Patsnap Eureka Quick Research — get a full tech report to explore trends and direct your research. Try now!
Generate Your Research Report Instantly with AI Agent
Supercharge your innovation with Patsnap Eureka AI Agent Platform!







