Patents
Literature
Hiro is an intelligent assistant for R&D personnel, combined with Patent DNA, to facilitate innovative research.
Hiro

127 results about "Document exchange" patented technology

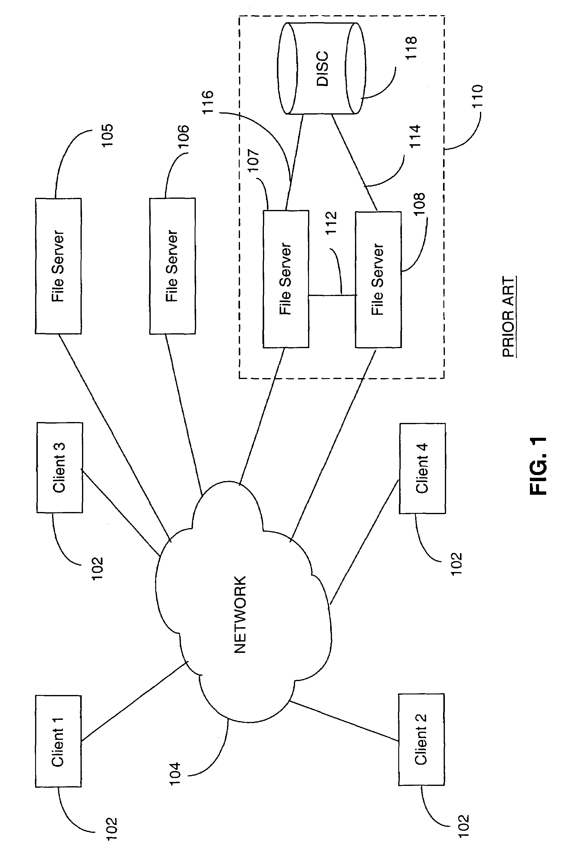
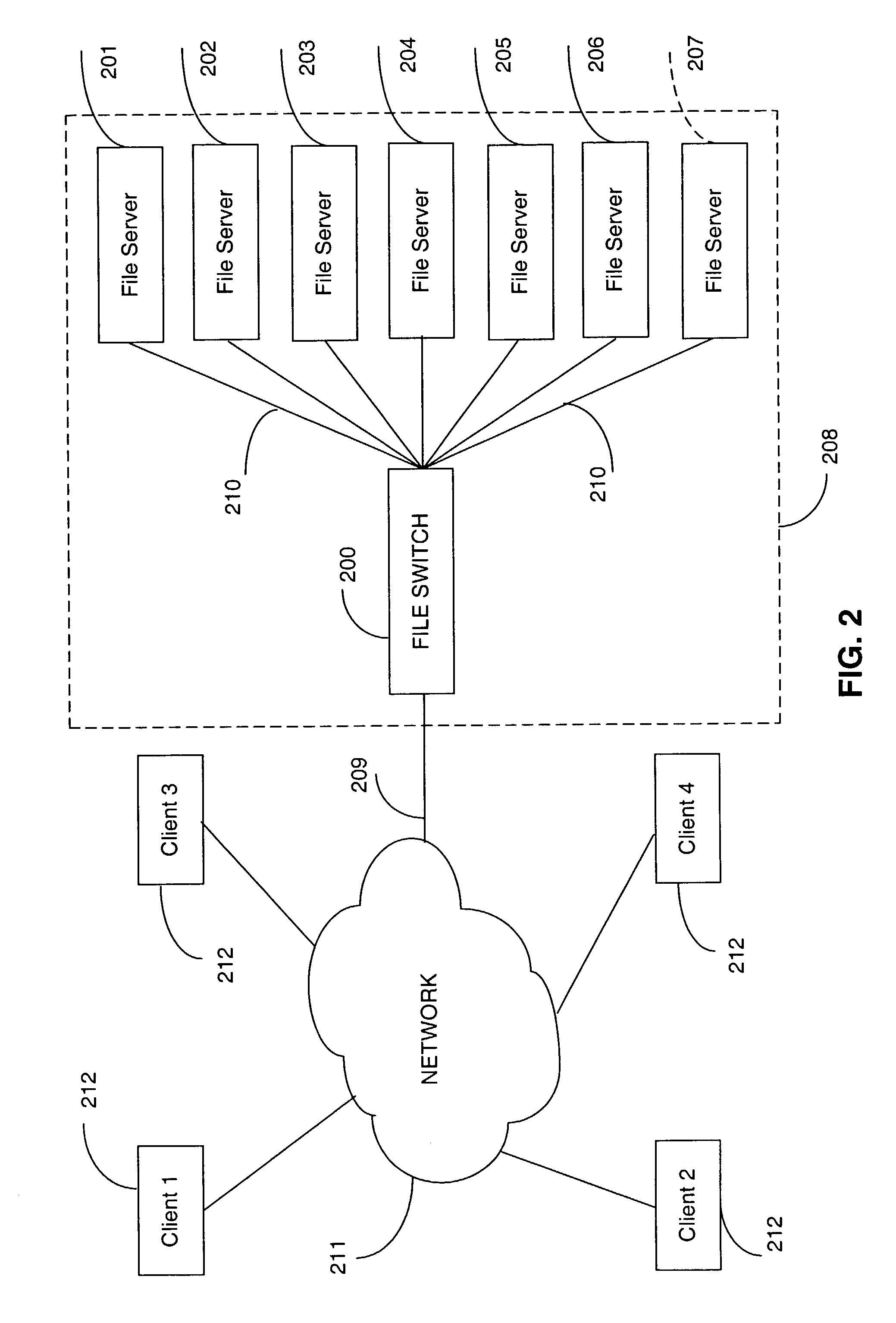
File Aggregation in a Switched File System

In a switched file system, a file switching device is logically positioned between clients and file servers and communicates with the clients and the file servers using standard network file protocols. The file switching device appears as a server to the client devices and as a client to the file servers. The file switching device aggregates storage from multiple file servers into a global filesystem and presents a global namespace to the client devices. The file switching device typically supports a “native” mode for integrating legacy files into the global namespace and an “extended” mode for actively managing files across one or more file servers. Typically, native-mode files may be accessed directly or indirectly via the file switching device, while extended-mode files may be accessed only through the file switching device. The file switching device may manage file storage using various types of rules, e.g., for managing multiple storage tiers or for applying different types of encoding schemes to files. Rules may be applied to pre-existing files.
Owner:RPX CORP

Aggregated opportunistic lock and aggregated implicit lock management for locking aggregated files in a switched file system

A switched file system, also termed a file switch, is logically positioned between client computers and file servers in a computer network. The file switch distributes user files among multiple file servers using aggregated file, transaction and directory mechanisms. The file switch supports caching of a particular aggregated data file either locally in a client computer or in the file switch in accordance with the exclusivity level of an opportunistic lock granted to the entity that requested caching. The opportunistic lock can be obtained either on the individual data files stored in the file servers or on the metadata files that contain the location of each individual data files in the file servers. The opportunistic lock can be broken if another client tries to access the aggregated data file. Opportunistic locks allows client-side caching while preserving data integrity and consistency, hence the performance of the switched file system is increased.
Owner:RPX CORP

Directory aggregation for files distributed over a plurality of servers in a switched file system

A file switch, logically positioned between client computers and file servers in a computer network, distributes user files among multiple file servers using an aggregated directory mechanism. A hierarchical directory structure is created on the file servers and used to store metadata files, which store metadata for each user file to indicate where data files, containing portions of the user file, are stored. The file switch automatically spreads the data files and metadata files over a large number of distinct directories on multiple file servers, preventing large number of data files from being stored in a single directory on a single file server. In response to a directory enumeration request from a client computer, one or more directories of metadata files on one or more of the file servers is enumerated, instead of enumerating the data file that store the user file portions.
Owner:RPX CORP

Directory aggregation for files distributed over a plurality of servers in a switched file system

A file switch, logically positioned between client computers and file servers in a computer network, distributes user files among multiple file servers using an aggregated directory mechanism. A hierarchical directory structure is created on the file servers and used to store metadata files, which store metadata for each user file to indicate where data files, containing portions of the user file, are stored. The file switch automatically spreads the data files and metadata files over a large number of distinct directories on multiple file servers, preventing large number of data files from being stored in a single directory on a single file server. In response to a directory enumeration request from a client computer, one or more directories of metadata files on one or more of the file servers are enumerated, instead of enumerating the data file that store the user file portions.
Owner:RPX CORP

Transaction aggregation in a switched file system

Client computers are decoupled from file servers in a computer network, by placing a network node, also termed a file switch or file switch computer, between the client computers and the file servers. To the client computers, the file switch appears to be a file server having enormous storage capabilities and high throughput. To the file servers, the file switch appears to be a client as it delegates a single transaction received from a client computer to multiple file servers. The file switch aggregates the file servers' responses to the client computer's request and presents a single response back to the client computer. The file switch performs this transaction aggregation function in a manner that is transparent to both the client computers and the file servers.
Owner:RPX CORP

Metadata based file switch and switched file system

An apparatus and method are provided in a computer network to decouple client computers from file servers, by placing a transparent network node, also termed a file switch or file switch computer, between the client computers and the file servers. Usage of such a file switch allows reduced latency in file transfers, as well as scalable mirroring, striping, spillover, and other features. The file switch preferably includes at least one processing unit for executing computer programs, at least one port for exchanging information with the file servers and client computers, and a file aggregation module. The file aggregation module includes computer programs for determining a set of file servers from the group of file servers for storing a specified user file, creating a metadata file storing information identifying the set of file servers for storing the user file; and updating directory structures on the set of file servers to indicate storage of the user file.
Owner:RPX CORP

Metadata based file switch and switched file system

An apparatus and method are provided in a computer network to decouple client computers from file servers, by placing a transparent network node, also termed a file switch or file switch computer, between the client computers and the file servers. Usage of such a file switch allows reduced latency in file transfers, as well as scalable mirroring, striping, spillover, and other features. The file switch preferably includes at least one processing unit for executing computer programs, at least one port for exchanging information with the file servers and client computers, and a file aggregation module. The file aggregation module includes computer programs for determining a set of file servers from the group of file servers for storing a specified user file, creating a metadata file storing information identifying the set of file servers for storing the user file; and updating directory structures on the set of file servers to indicate storage of the user file.
Owner:RPX CORP

Transaction aggregation in a switched file system

Client computers are decoupled from file servers in a computer network, by placing a network node, also termed a file switch or file switch computer, between the client computers and the file servers. To the client computers, the file switch appears to be a file server having enormous storage capabilities and high throughput. To the file servers, the file switch appears to be a client as it delegates a single transaction received from a client computer to multiple file servers. The file switch aggregates the file servers' responses to the client computer's request and presents a single response back to the client computer. The file switch performs this transaction aggregation function in a manner that is transparent to both the client computers and the file servers.
Owner:RPX CORP

Aggregated lock management for locking aggregated files in a switched file system

A switched file system, also termed a file switch, is logically positioned between client computers and file servers in a computer network. The file switch distributes user files among multiple file servers using aggregated file, transaction and directory mechanisms. The file switch ensures consistent and atomic behavior of the switched file system by aggregating in a deterministic way the transactions initiated by the client of multiple independent file switches so that only one of the multiple concurrent transactions attempted on the same aggregated data file may succeed, or so that the transactions are serialized so as to be performed as a sequence of atomic operations. In addition, the integrity of the aggregated data file is safeguarded by issuing locking requests on behalf of certain client applications that do not observe locking mechanism consistently.
Owner:RPX CORP

Rule based aggregation of files and transactions in a switched file system

A switched file system, also termed a file switch, is logically positioned between client computers and file servers in a computer network. The file switch distributes user files among multiple file servers using aggregated file, transaction and directory mechanisms. The file switch distributes and aggregates the client data files in accordance with a predetermined set of aggregation rules. Each rule can be modified independently of the other rules. Different aggregation rules can be used for different types of files, thereby adapting the characteristics of the switched file system to the intended use and to the expected or historical access patterns for different data files.
Owner:RPX CORP

Exposing process flows and choreography controllers as web services

The present invention relates to computer-based devices and methods supporting document exchange choreographies. More particularly, aspects of the present invention relate to devices and methods that facilitate evolution of systems by various combinations of choreography versioning, service versioning and document versioning. It provides for choreography management using a choreography agent and presents choreography-enabled interfaces to non choreography enabled applications. Additional aspects of the present invention include a graphical design tool and transparent aliasing of a host service as multiple context setting franchised services. Particular aspects of the present invention are described in the claims, specification and drawings.
Owner:OPEN INVENTION NEWTORK LLC

Method and system for managing the exchange of files attached to electronic mails

Method of managing the exchange of a file from a sender (13) to a receiver (12, 15) in a data transmission network (10, 11) wherein any user amongst a plurality of users can send an electronic mail with at least an attached file to at least another user. The method comprises the following steps: the original file corresponding to the file to be sent as an attachment to the electronic mail is forwarded by the sender to a file server (14), a substitute file including at least data identifying the original file is sent by the file server back to the sender upon receiving the original file, the substitute file is attached to the electronic mail before sending this one by the sender to the receiver, and the receiver gets, at anytime, the original file from the file server by providing the file server with the parameters of the substitute file.
Owner:AMERICAN TELEPHONE & TELEGRAPH CO

Exposing process flows and choreography controllers as web services

The present invention relates to computer-based devices and methods supporting document exchange choreographies. More particularly, aspects of the present invention relate to devices and methods that facilitate evolution of systems by various combinations of choreography versioning, service versioning and document versioning. It provides for choreography management using a choreography agent and presents choreography-enabled interfaces to non choreography enabled applications. Additional aspects of the present invention include a graphical design tool and transparent aliasing of a host service as multiple context setting franchised services. Particular aspects of the present invention are described in the claims, specification and drawings.
Owner:OPEN INVENTION NEWTORK LLC

Secure extranet server

A Secure Extranet Server (SES) provides for secure and traceable communication and document exchange between a trusted network and an untrusted network by authenticated users. The SES includes a first partition in communication with the untrusted network and a second partition in communication with the trusted network. The second partition maintains a session table and is in communication with a user authentication and authorization module. Communication between the first and second partition is preferably initiated by a request from the second partition. Security tokens attached to messages provide constraint checking on user inputs, access to documents and servers within the trusted network, checkout and checkin of controlled documents, and a single sign-on capability for on-line applications as well as local applications operating on protected files at remote user computers.
Owner:PHION

Secure web server system for unattended remote file and message transfer

A system provides for the secure exchanging files with a remote transfer server over an open network such as the Internet. The system comprises a database with file transfer tables, a hypertext transport protocol (HTTP) server, and a web services server. The HTTP server is coupled to the database and provides web pages to an HTTP client to obtain file transfer event parameters and identification of a remote file transfer client to which the file transfer event parameters are associated. The file transfer event parameters are stored in the file transfer tables in association with the identification of the remote file transfer client. The web services server comprising a plurality of transfer methods. The transfer methods comprises: i) a method for associating a remote transfer client with a session ID; ii) a method for providing to the remote transfer client the file transfer event parameters that are associated with the remote transfer client in response to receiving a method call from the remote transfer client; and ii) a method call for executing a file exchange with the remote transfer client in response to receiving a method call from the remote transfer client that includes the file transfer parameters.
Owner:BOTTOMLINE TECH

Peer-to-peer service system and method using e-mail service

A peer-to-peer service method and system are provided. The peer-to-peer service method include advertising E-mail address information and service and sharing resource information through a peer-to-peer network at peers, determining whether a peer requesting a service and a peer providing the service are in online state or in offline state on the peer-to-peer network, and providing a peer-to-peer service through an E-mail server when the peer requesting the service or the peer providing the service is in offline state. The peer-to-peer service system and method using an E-mail service are capable of providing a variety of P2P services (e.g., a message exchange, a file exchange, a remote control, etc.) to peers, which are in online state or temporarily in offline state, by using the E-mail in the P2P network environment which manages the connection information of the peers joined to the corresponding service or the indexes of the sharing resources.
Owner:ELECTRONICS & TELECOMM RES INST

Aggregated opportunistic lock and aggregated implicit lock management for locking aggregated files in a switched file system

A switched file system, also termed a file switch, is logically positioned between client computers and file servers in a computer network. The file switch distributes user files among multiple file servers using aggregated file, transaction and directory mechanisms. The file switch supports caching of a particular aggregated data file either locally in a client computer or in the file switch in accordance with the exclusivity level of an opportunistic lock granted to the entity that requested caching. The opportunistic lock can be obtained either on the individual data files stored in the file servers or on the metadata files that contain the location of each individual data files in the file servers. The opportunistic lock can be broken if another client tries to access the aggregated data file. Opportunistic locks allows client-side caching while preserving data integrity and consistency, hence the performance of the switched file system is increased.
Owner:Z FORCE CORP +1

Sensor-enhanced document exchange and display control device

In one embodiment, the present invention recites a system for exchanging information. The system comprises a display unit and a document exchange unit communicatively coupled with the display unit. The document exchange unit further comprises a shared memory. A control unit is coupled with the document exchange unit and is used for selecting the information which is to be exchanged. The control unit transmits the selected information to the shared memory via the document exchange unit and the display unit thereafter displays the information. A sensor unit, which is communicatively coupled with the control unit, is used for accessing the information.
Owner:HEWLETT PACKARD DEV CO LP

Automatic document exchange with document searching capability

The exchange of documents for execution can be performed efficiently using an automated system that routes and stores documents based on routing information. Routing may be accomplished with reminders for individuals of deadline for responding. After execution is confirmed, an executed copy may be forwarded to all parties and desired non-parties. If execution or approval is desired from a plurality of individuals, documents received from each of the plurality of individuals can be merged into a single, fully executed document if the approval / signatures are obtained simultaneously. Search capability for identifying data regarding the document, text within the document, or both may also be provided.
Owner:ADOBE INC

Method and apparatus for exchanging sub-hierarchical structures within a hierarchical file system

A method for replacing a first sub-hierarchy of a New Technology File System hierarchical filesystem (NTFS HFS) with a second sub-hierarchy is disclosed. The first sub-hierarchy includes a first root directory having at least one special system file, and a first plurality of files. The second sub-hierarchy includes a second root directory located in a second location of the HFS, a second plurality of files and at least one placeholder file corresponding to the at least one special system file. The method includes the steps of configuring the first plurality of files to branch from the first root directory once the first root directory is accessed through the second location, exchanging the first plurality of files with the second plurality of files, and exchanging at least one directory pointer corresponding to the at least one special system file with at least one directory pointer corresponding to the at least one placeholder file.
Owner:STANDBYSOFT

Automatic document exchange and execution management

The exchange of documents for signature can be performed efficiently using an automatic routing system that associates a document with appropriate identifying metadata. The routing can be facilitated through facsimile in which the metadata is encoded on a return facsimile cover sheet that is routed with the document. Appropriate central exchange servers have appropriate input and out subsystems to perform the document routing. The executed documents can be conveniently archived for efficient document storage and access, such as network access to one or more of the parties.
Owner:ADOBE INC

Automatic document exchange with archiving capability

The exchange of documents for execution can be performed efficiently using an automated system that routes and archives documents. The system may facilitate the exchange of drafts between parties by highlighting changes of the current draft with respect to the previous draft. Documents may be conveniently archived for efficient document storage and access by providing one or more central archive databases accessible through a shared network to a plurality of organizations. The operating system of the database may provide systematic access to individuals associated with an organization with the privilege to access documents according to a specific organizational hierarchy. Routing and archiving documents may be accomplished through a central exchange server.
Owner:ADOBE SYST INC

Rule based aggregation of files and transactions in a switched file system

A switched file system, also termed a file switch, is logically positioned between client computers and file servers in a computer network. The file switch distributes user files among multiple file servers using aggregated file, transaction and directory mechanisms. The file switch distributes and aggregates the client data files in accordance with a predetermined set of aggregation rules. Each rule can be modified independently of the other rules. Different aggregation rules can be used for different types of files, thereby adapting the characteristics of the switched file system to the intended use and to the expected or historical access patterns for different data files.
Owner:RPX CORP

Adhoc secure document exchange

Embodiments of the present invention are directed to a system capable of enforcing document security and delivery policies. In particular, the present invention allows for the detection and removal of files attached to electronic messages. When an attached file is removed from an electronic message, the file may be placed in secure storage. A link to the stored file is inserted in the electronic communication prior to delivery of the message to the addressee of the communication. In order to access the stored file, the recipient of the message is required to select the provided link, which establishes a secure communication channel between the secure storage device and the receiving client computer. Optionally, the recipient may also be required to provide a password and / or digital certificate in order to access the stored file.
Owner:AVAYA INC

File aggregation in a switched file system

In a switched file system, a file switching device is logically positioned between clients and file servers and communicates with the clients and the file servers using standard network file protocols. The file switching device appears as a server to the client devices and as a client to the file servers. The file switching device aggregates storage from multiple file servers into a global filesystem and presents a global namespace to the client devices. The file switching device typically supports a “native” mode for integrating legacy files into the global namespace and an “extended” mode for actively managing files across one or more file servers. Typically, native-mode files may be accessed directly or indirectly via the file switching device, while extended-mode files may be accessed only through the file switching device. The file switching device may manage file storage using various types of rules, e.g., for managing multiple storage tiers or for applying different types of encoding schemes to files. Rules may be applied to pre-existing files.
Owner:RPX CORP

Network management

A system for discovering, identifying and managing ad hoc networks and facilitating the communications within that network is disclosed. An addition to the network interface mediates discovery of adjacent computers with the same addition running and the exchange of profiles between these computers to allow device sharing and routing.
Owner:GREEN PACKET INC

Method and system for secure document exchange

A document management (DM), data leak prevention (DLP) or similar application in a data processing system is instrumented with a document protection service provider interface (SPI). The service provider interface is used to call an external function, such as an encryption utility, that is used to facilitate secure document exchange between a sending entity and a receiving entity. The encryption utility may be configured for local download to and installation in the machine on which the SPI is invoked, but a preferred approach is to use the SPI to invoke an external encryption utility as a “service.” In such case, the external encryption utility is implemented by a service provider. When the calling program invokes the SPI, preferably the user is provided with a display panel. Using that panel, the end user provides a password that is used for encryption key generation, together with an indication of the desired encryption strength. The service provider uses the password to generate the encryption key. In one embodiment, the service provider provides the key to the service provider interface, which then uses the key to encrypt the document and to complete the file transfer operation. In the alternative, the service provider itself performs the document or file encryption. The service provider interface also preferably generates and sends an email or other message to the receiving entity that includes the key or a link to enable the receiving entity to retrieve the key. This approach obviates the sending and receiving entity having to install and manage matched or other special-purpose encryption utilities.
Owner:IBM CORP
Features
  • R&D
  • Intellectual Property
  • Life Sciences
  • Materials
  • Tech Scout
Why Patsnap Eureka
  • Unparalleled Data Quality
  • Higher Quality Content
  • 60% Fewer Hallucinations
Social media
Patsnap Eureka Blog
Learn More