Patents
Literature
Hiro is an intelligent assistant for R&D personnel, combined with Patent DNA, to facilitate innovative research.
Hiro

38results about How to "Avoid dirt adhesion" patented technology

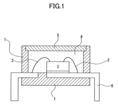
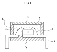
Method of reducing surface tackiness of silicone rubber cured product, liquid silicone rubber composition for sealing semiconductor, silicone rubber-sealed semiconductor device, and method of producing semiconductor device

A method of reducing surface tackiness of a silicone rubber cured product is provided. The method includes coating the surface of a cured product of a curable silicone rubber composition, which has a molar ratio within the composition of hydrogen atoms bonded to silicon atoms relative to alkenyl groups bonded to silicon atoms of 1.0 or greater, and which, following curing, exhibits a type A hardness prescribed in JIS K6253 of no more than 20, with a curable silicone resin layer which, following curing, exhibits a type D hardness prescribed in JIS K6253 of 30 or greater; and subsequently curing the silicone resin to form a cured resin layer with a thickness of no more than 0.5 mm. Adhesion of dirt to the surface can be prevented.
Owner:SHIN ETSU CHEM IND CO LTD

Packaging device and packaging method for hollow cathode type sputtering target

Provided are a packaging device and packaging method of a hollow cathode sputtering target which installs, in the hollow cathode sputtering target, a cover of a size capable of covering a void of the target; provides one or more through-holes to the cover; places a resin bag over them, and performs vacuum suction to the inside of the bag. This packaging device and packaging method of a hollow cathode sputtering target is capable of performing vacuum suction even to the inside of the hollow portion covered with the resin bag.
Owner:JX NIPPON MINING& METALS CORP

Roller washing machine

The invention discloses a roller washing machine. The roller washing machine comprises an inner barrel, an outer barrel, a pneumatic balancing mechanism and a water inlet device, wherein the inner barrel is rotatably arranged in the outer barrel by virtue of an inner barrel shaft, the inner barrel is used as a water storage container when clothes are washed, a water outlet and a sealing valve fornormally closing the water outlet are formed in and arranged on the circumferential wall of the inner barrel, the water outlet can be opened by the sealing valve under the centrifugal action when theinner barrel rotates at the speed above the set rotating speed, the pneumatic balancing mechanism is used for communicating the inner barrel with the external environment so as to balance the internalpressure of the inner barrel, a hollow channel is formed in the inner barrel shaft, the water inlet device communicates with the interior of the inner barrel through the hollow channel of the inner barrel shaft, the pneumatic balancing mechanism is arranged on the inner barrel shaft, and a non-contact heating module is arranged on the outer barrel and does not make contact with the inner barrel so as to heat the washing water stored in the inner barrel. The roller washing machine has the characteristics of water conservation and cleanness.
Owner:QINGDAO HAIER WASHING ELECTRIC APPLIANCES CO LTD +1

Roller washing machine

The invention provides a roller washing machine comprising an inner cylinder and an outer cylinder. The inner cylinder is a non-porous inner cylinder and used for containing washing water during washing clothes; the outer cylinder is coaxially arranged outside the inner cylinder and is used for collecting water discharged from the inner cylinder and discharging the water through a drainage pipeline; and the roller washing machine further comprises a position detection device arranged on the outer cylinder and used for detecting the position of the inner cylinder. The roller washing machine ina non-porous inner cylinder front open type structure in the invention is simple in structure, and washing / rinsing water does not need to be filled between the inner cylinder and the outer cylinder so that the washing water consumption of the washing machine can be greatly reduced. The possibility of dirt attachment between the inner cylinder and the outer cylinder is avoided. User health and user experience are greatly improved, and water resources are greatly saved.
Owner:QINGDAO HAIER WASHING ELECTRIC APPLIANCES CO LTD +1

Drum washing machine and control method thereof

The invention provides a drum washing machine and a control method thereof. The drum washing machine comprises an inner drum and a water inlet pipe, wherein the inner drum is a nonporous inner drum and used for holding washing water when clothes are washed. The drum washing machine is characterized by also comprising a water metering device used for metering a water inflow; the water inlet pipe communicates with the water metering device; and the water metering device communicates with the inner drum. The invention provides the drum washing machine with the nonporous inner drum and of a frontopen type structure, the drum washing machine is simple in structure, a space between the inner drum and an outer drum does not need to be filled with washing water / rinsing water and thus the washingwater consumption of the drum washing machine is greatly reduced. According to the drum washing machine provided by the invention, due to the arrangement of the water metering device, before enteringthe inner drum, water firstly enters the water metering device for quantifying, and the number of water metering times of the water metering device is determined according to a set water level, so that the problem of water feeding of the drum washing machine with the nonporous inner drum according to the water level is solved, the washing effect is ensured, and the machine is simple in structure and convenient to control.
Owner:QINGDAO HAIER WASHING ELECTRIC APPLIANCES CO LTD +1

Drum washing machine

The invention provides a drum washing machine which comprises an inner drum, wherein the inner drum is a non-porous inner drum, and contains washing water during clothes washing. The drum washing machine also comprises an air pressure balancing mechanism used for communicating the inner drum with external environment so as to balance the air pressure in the inner drum. The invention provides the drum washing machine which has the non-porous inner drum and is of a front opening structure. The structure is simple. Washing / rinsing water does not need to be filled between the inner drum and an outer drum, so that the washing water consumption of the washing machine is greatly reduced. The drum washing machine has the advantages that during water inlet, air in a sealed cabin of the inner drum is pressed, and can overflow through the air pressure balancing mechanism to ensure the air pressure balance. When the water failure suddenly occurs, external air can fast enter the sealed cabin of theinner drum, the suck-back condition is damaged, the air pressure balance is ensured, and the washing water is prevented from being sucked into a tap water pipe network.
Owner:QINGDAO HAIER DRUM WASHING MACHINE

Control method of drum washing machine

The invention provides a control method of a drum washing machine. The drum washing machine comprises an inner cylinder, a position detecting device for detecting the position of the inner cylinder and a locking mechanism used for locking rotation of the inner cylinder, wherein the inner cylinder is a non-porous inner cylinder, and contains washing water during washing of clothes. The control method comprises the following steps of after the position detecting device detects that the inner cylinder rotates to a set position, controlling the locking mechanism to lock the inner cylinder, and / or,after the locking mechanism locks the inner cylinder, detecting whether locking of the inner cylinder is in place or not by the position detecting device. The invention provides the drum washing machine which has the non-porous inner cylinder and is of a front open type structure; the drum washing machine is simple in structure; and the space between the inner cylinder and an outer cylinder doesnot need to be filled with washing / rinsing water, so that the washing water consumption of the washing machine is greatly reduced. The possibility of dirt adhesion between the inner cylinder and the outer cylinder is avoided. The user health and the user experience are greatly improved, and water resources are greatly saved.
Owner:FOSHAN HAIER DRUM WASHING MACHINE +1

Method of reducing surface tackiness of silicone rubber cured product, liquid silicone rubber composition for sealing semiconductor, silicone rubber-sealed semiconductor device, and method of producing semiconductor device

A method of reducing surface tackiness of a silicone rubber cured product is provided. The method includes coating the surface of a cured product of a curable silicone rubber composition, which has a molar ratio within the composition of hydrogen atoms bonded to silicon atoms relative to alkenyl groups bonded to silicon atoms of 1.0 or greater, and which, following curing, exhibits a type A hardness prescribed in JIS K6253 of no more than 20, with a curable silicone resin layer which, following curing, exhibits a type D hardness prescribed in JIS K6253 of 30 or greater; and subsequently curing the silicone resin to form a cured resin layer with a thickness of no more than 0.5 mm. Adhesion of dirt to the surface can be prevented.
Owner:SHIN ETSU CHEM IND CO LTD

Clothes lifting device for washing machine and roller washing machine

The invention provides a clothes lifting device for a washing machine and a roller washing machine. The clothes lifting device for the washing machine is characterized by comprising a body, a water inlet and a centrifugal drainage assembly; the interior of the body is provided with an accommodating chamber; the water inlet is formed in the body and communicates with the accommodating chamber; thecentrifugal drainage assembly is arranged in the accommodating chamber; the initial state of the centrifugal drainage assembly is a closed state, and the centrifugal drainage assembly can be opened for drainage under the action of centrifugal force. The centrifugal drainage assembly is arranged in the lifting device, clothes lifting and drainage of roller washing machine with a hole-free inner drum are achieved, modular supply is formed, production and assembly are facilitated, and the assembly efficiency is improved.
Owner:QINGDAO HAIER WASHING ELECTRIC APPLIANCES CO LTD +1

Golf ball

To provide a golf ball that can prevent considerable decrease in carry distance of a driver shot when it rains and also can more reliably prevent adhesion of dirt, etc. to the surface of the golf ball. The golf ball of the present invention includes a core, a cover that is provided on an outer side of the core and has dimples, and an outermost layer that is formed on an outer side of the cover and made of a material having a contact angle of 90° or more and a dynamic contact angle of 85° or less. The golf ball may have a dynamic friction coefficient of 0.48 or less. The cover may be formed of a material having hardness of 48 or more in terms of Shore D Hardness. The outermost layer may be formed of a urethane coating containing a water repellent additive, as a main component.
Owner:BRIDGESTONE SPORTS

Engine device

An engine device equipped with a cylinder block 6 rotatably supporting a crankshaft. At one end, in the shaft center direction of the crankshaft, of the two side parts 301 and 302 of the cylinder block 6 running in the shaft center direction of the crankshaft, a protruding part 305 extending in the direction away from the crankshaft, and reinforcing ribs 306, 307, 308, 309, 310, and 311, which areprovided between the respective side walls of the two side parts 301 and 302 and the protruding parts 304 and 305 so as to expand toward the protruding part 305 side, are integrally formed on the cylinder block 6.
Owner:YANMAR POWER TECHNOLOGY CO LTD

Optical measurement probe, and optical measurement device provided with the same

There are provided an optical measurement probe capable of obtaining a more stable measurement result, and an optical measurement device provided with the same. An incidence surface of an optical window to be used in a high temperature environment is covered by a deposited film. The optical window is formed of sapphire, and the deposited film is formed from SiO2. Adhesion of dirt to the incidence surface, and an influence, on a measurement result, of the adhesion of dirt on the incidence surface can thereby be prevented, and a more stable measurement result can be obtained.
Owner:SHIMADZU CORP +1

Clothes lifting device for washing machine and roller washing machine

The invention provides a clothes lifting device for a washing machine and the roller washing machine. The clothes lifting device for the washing machine comprises a body which is internally provided with a containing cavity, a water inlet formed in the body and communicating with the containing cavity, and a centrifugal drainage assembly arranged in the containing cavity, wherein the initial state of the centrifugal drainage assembly is a closed state, and the centrifugal drainage assembly can be opened for drainage under the action of centrifugal force; the centrifugal drainage assembly comprises a sealing plunger capable of doing reciprocating motion and an elastic piece used for elastic resetting of the sealing plunger; the body is provided with a plunger base used for installing the sealing plunger; the sealing plunger is arranged in the plunger base in a reciprocating motion mode; and the sealing plunger and the plunger base are each provided with a limiting structure used for abutting against and limiting the elastic piece. According to the centrifugal drainage assembly, the limiting structures are arranged on the sealing plunger and the plunger base in a matched mode through the elastic piece, so that the sealing plunger can be elastically abutted, and the sealing plunger is kept in a normally-closed state.
Owner:QINGDAO HAIER DRUM WASHING MACHINE +1

Washing machine and control method thereof

The invention provides a washing machine and a control method thereof. The washing machine comprises an inner cylinder, an inner cylinder door, an inner cylinder door lock, a door lock triggering device, and a door lock detection device. The inner cylinder is provided with a washing chamber for independently containing washing water; the inner cylinder door is mounted at the cylinder opening of the inner cylinder in an openable and closable mode; the inner cylinder door lock is used for locking the inner cylinder door and keeping the inner cylinder door in a closed state; the door lock triggering device is linked with the inner cylinder door lock in the locking process; and the door lock detection device is used for judging whether the inner cylinder door lock is locked or not. The washingmachine is provided with the door lock detection device for locking the inner cylinder door in place, so that the situation that the inner cylinder door is locked in place, and the locking judgment accuracy is 100% is ensured; and due to the fact that the dehydration rotating speed of a roller can reach 1600 revolutions per minute, if the inner cylinder door on the inner cylinder is not locked well, safety accidents can happen, the safety of the machine is greatly improved, and user health and user experience.
Owner:QINGDAO HAIER DRUM WASHING MACHINE +1

Golf ball

To provide a golf ball that can prevent considerable decrease in carry distance of a driver shot when it rains and also can more reliably prevent adhesion of dirt, etc. to the surface of the golf ball. The golf ball of the present invention includes a core, a cover that is provided on an outer side of the core and has dimples, and an outermost layer that is formed on an outer side of the cover and made of a material having a contact angle of 90° or more and a dynamic contact angle of 85° or less. The golf ball may have a dynamic friction coefficient of 0.48 or less. The cover may be formed of a material having hardness of 48 or more in terms of Shore D Hardness. The outermost layer may be formed of a urethane coating containing a water repellent additive, as a main component.
Owner:BRIDGESTONE SPORTS

Golf ball

InactiveUS20200147455A1Increase the carrying distanceSimple processPolyurea/polyurethane coatingsGolf ballsEngineeringGolf Ball
To provide a golf ball that can prevent considerable decrease in carry distance of a driver shot when it rains and also can more reliably prevent adhesion of dirt, etc. to the surface of the golf ball. The golf ball of the present invention includes a core, a cover that is provided on an outer side of the core and is provided with dimples, and an outermost layer that is formed on an outer side of the cover and made of a material having a contact angle of 90° or more, a dynamic contact angle of 85° or less and an adhesive force of 130 μN or less. The material for forming the outermost layer includes a urethane coating material with a water repellent additive.
Owner:BRIDGESTONE SPORTS

Washing machine

The present invention provides a washing machine, comprising: an inner drum, having a washing chamber for independently holding washing water; an inner drum door, mounted at a drum opening of the inner drum in an openable and closable manner; a machine shell, provided with a feeding port corresponding to the drum opening of the inner drum; a machine door, installed on the feeding port of the machine shell in an openable and closable mode; and a door opening mechanism, triggered to act to realize linked opening and closing of the inner drum door and the machine door. According to the drum washing machine with the front-opened inner drum provided by the invention, the inner drum door is arranged on the inner drum, so that washing in a closed space of the inner drum is realized, clothes in the inner drum are prevented from coming out of the inner drum, water is prevented from flowing out of or splashing out of the inner drum due to pressing and beating of the clothes, the possibility thatdirt is attached between the inner drum and an outer drum is avoided, and no water exists between drums; and linked opening and closing of the inner drum door and the machine door are achieved through the door opening mechanism, the trouble that a user opens and closes the inner drum door and the machine door independently is avoided, operation of the user is facilitated, and the user experienceis improved.
Owner:QINGDAO HAIER DRUM WASHING MACHINE +1

Washing machine

The invention provides a washing machine, which comprises an outer barrel, an inner barrel and an inner barrel, the inner barrel is arranged in the outer barrel and is provided with a washing cavity for independently containing washing water; the electromagnetic heating device is arranged in the outer cylinder and correspondingly heats the cylinder wall of the inner cylinder; and the electromagnetic heating device is obliquely and downwards arranged towards the water outlet, and / or the barrel wall of the outer barrel is obliquely and downwards arranged between the position where the electromagnetic heating device is arranged and the position of the water outlet. In the water drainage process of the washing machine, washing water can be better guided to the water drainage opening, sundries such as thread scraps are prevented from being left on the electromagnetic heating device, the flow speed of water flow is increased through the height difference arrangement mode, the washing effect is achieved, the sundries such as the thread scraps can be washed and discharged, and the service life of the washing machine is prolonged. The possibility that sundries such as wire scraps remain on the electromagnetic heating device in the drainage process is further avoided, and the working safety of the electromagnetic heating device is improved.
Owner:QINGDAO HAIER DRUM WASHING MACHINE +1

Washing machine

The present invention provides a washing machine, comprising: an inner drum, having a washing chamber for independently holding washing water; an inner drum door, mounted at a drum opening of the inner drum in an openable and closable manner; and a rotating shaft structure through which the inner drum door is rotationally mounted on the drum opening of the inner drum. According to the drum washingmachine with the front-opened inner drum provided by the invention, the inner drum door is arranged on the inner drum, and the inner drum door is rotationally mounted on the drum opening of the innerdrum through the rotating shaft structure to achieve closing and opening of the inner drum, so that washing in the closed space of the inner drum is achieved, the possibility that clothes in the inner drum come out is avoided, water is prevented from flowing out of or splashing out of the inner drum due to pressing and beating of the clothes, the possibility that dirt is attached between the inner drum and an outer drum is avoided, and no water exists between the drums.
Owner:QINGDAO HAIER DRUM WASHING MACHINE +1

Drum washing machine and control method thereof

The invention provides a drum washing machine and a control method thereof. The drum washing machine comprises an inner drum; an inner drum door, mounted on the drum opening of the inner drum and capable of being opened and closed; and a detection device, used for detecting whether the inner drum door is closed in place or not; when the inner drum door is closed, the inner drum door and the innerdrum form an independent washing chamber together, and washing water is independently contained when washing clothes. According to the drum washing machine, opening and closing states of the inner drum door can be detected through the detection device, and the situation that the inner drum is not closed due to the fact that the inner drum door is not closed in place, and thus the washing working condition of the non-porous inner drum cannot be achieved is prevented.
Owner:CHONGQING HAIER ROLLER WASHING MASCH CO LTD +1

Drum washing machine and control method thereof

The present invention provides a drum washing machine and a control method thereof. The drum washing machine comprises an inner barrel and a water inlet pipeline communicating with the inner barrel; the inner barrel is a hole-free inner barrel and contains washing water during clothes washing; and the water inlet pipeline is provided with a flow sensor used for detecting inlet water flow. The present invention provides the drum washing machine which has the hole-free inner barrel and is of a front open type structure. The drum washing machine is simple in structure; the space between the innerbarrel and an outer barrel does not need to be filled with washing / rinsing water, so that the washing water amount of the washing machine is greatly reduced; and the inlet water flow is monitored byarranging the flow sensor on the water inlet pipeline, and when the set water inlet amount is reached, a water inlet valve is closed to finish water feeding, so that the problem that the water is fedto the drum washing machine with the hole-free inner barrel according to the set water level is solved.
Owner:QINGDAO HAIER WASHING ELECTRIC APPLIANCES CO LTD +1

Mechanical arm

The present invention relates to a mechanical arm which is used for carrying a plate. The mechanical arm comprises the following components: at least one supporting arm which is provided with a receiving surface; and a supporting component. The supporting component is provided with a body and at least one contact pad, wherein the body is installed at side edge of supporting arm. The contact pad is installed on the body. Furthermore the contact pad is relatively higher than the receiving surface of supporting arm for the placing of plate. The mechanical arm of the invention can effectively reduce the manufacturing cost and facilitates the manufacturing process. Additionally, as the contact pad of the invention and the body are integratedly molded, the detachment is quite convenient and the using facility can be increased.
Owner:AU OPTRONICS CORP

Drum washing machine

The invention provides a drum washing machine. The drum washing machine comprises an inner cylinder and an inner cylinder door, and the inner cylinder door is mounted on a cylinder opening of the inner cylinder in an openable / closable manner; and the inner cylinder and the inner cylinder door jointly form an independent washing cavity, and washing water is independently contained when clothes arewashed. According to the drum washing machine, the inner cylinder door is installed on the cylinder opening of the inner cylinder, the non-porous cylinder design is adopted in the drum washing machine, the inner cylinder and the inner cylinder door jointly form the independent washing cavity, washing water is independently contained when clothes are washed, the space between the inner cylinder andan outer cylinder does not need to be filled with washing / rinsing water, and the washing water consumption of the washing machine is greatly reduced; the possibility of dirt adhesion between the inner cylinder and the outer cylinder is avoided; and the health and user experience of the user are greatly improved, and the water resource is greatly saved.
Owner:QINGDAO HAIER WASHING ELECTRIC APPLIANCES CO LTD +1

Cylinder washing machine and control method thereof

The invention provides a cylinder washing machine and a control method thereof. The cylinder washing machine comprises an inner cylinder. Washing water is contained inside the inner cylinder when clothes are washed. The inner cylinder is provided with an inner cylinder opening, an inner cylinder bottom opposite to the inner cylinder opening, and an inner cylinder wall which is connected with the inner cylinder bottom in an enclosed mode to form an inner containing cavity. The inner cylinder wall is provided with an inner-diameter expanding section and an inner-diameter reducing section. The inner diameter of the inner-diameter expanding section is gradually increased in the direction from the inner cylinder opening to the inner cylinder bottom, and the inner diameter of the inner-diameterreducing section is gradually decreased in the direction from the inner cylinder opening to the inner cylinder bottom. In the dewatering process of the cylinder washing machine disclosed by the invention, a dewatering device can be started under the effect of centrifugal force through rotation of the inner cylinder, component force of the centrifugal force in the cylinder wall direction of the inner-diameter expanding section and the inner-diameter reducing section acts on the washing water inside the inner cylinder, the washing water moves to the largest inner-diameter end along the cylinderwall and then is discharged through the dewatering device, and the high-efficiency dehydration property and centrifugal dewatering property of the hole-free inner cylinder are effectively achieved.
Owner:QINGDAO HAIER WASHING ELECTRIC APPLIANCES CO LTD +1

Washing machine

The present invention provides a washing machine, comprising: an inner drum, having a washing chamber for independently holding washing water; and an inner drum door, mounted at a drum opening of theinner drum in an openable and closable manner; wherein the inner drum door comprises a door body inner shell, a door body outer shell and a door body lining, and the door body lining is clamped and fixed between the door body inner shell and the door body outer shell. According to the drum washing machine with the front-opened inner drum provided by the invention, the inner drum door is arranged on the inner drum, so that washing in a closed space of the inner drum is realized, clothes in the inner drum are prevented from coming out of the inner drum, water is prevented from flowing out of orsplashing out of the inner drum due to pressing and beating of the clothes, the possibility that dirt is attached between the inner drum and an outer drum is avoided, and no water exists between the drums.
Owner:QINGDAO HAIER WASHING ELECTRIC APPLIANCES CO LTD +1

Optical measurement probe, and optical measurement device provided with the same

There are provided an optical measurement probe capable of obtaining a more stable measurement result, and an optical measurement device provided with the same. An incidence surface of an optical window to be used in a high temperature environment is covered by a deposited film. The optical window is formed of sapphire, and the deposited film is formed from SiO2. Adhesion of dirt to the incidence surface, and an influence, on a measurement result, of the adhesion of dirt on the incidence surface can thereby be prevented, and a more stable measurement result can be obtained.
Owner:SHIMADZU CORP +1

A drum washing machine and its control method

The invention provides a drum washing machine and a method for controlling the same. The drum washing machine includes an inner tub, which contains washing water when washing clothes, and the inner tub is provided with a plurality of annular water collecting grooves along the circumference of the inner wall and penetrating through the inner tub along the axial direction. The axial water collecting tank is communicated with the annular water collecting tank; a drainage device is arranged in the annular water collecting tank. The drum washing machine of the present invention has an annular water collecting tank on the inner wall of the inner drum, and N wave peaks and trough structures are formed on the inner drum wall surface, so that the centrifugally discharged water can be collected in each annular water collecting tank; the inner wall of the inner drum has an axial groove structure, so The axial groove realizes the communication of the annular water collecting grooves, so that the water in each annular water collecting groove can be collected more quickly and easily and then discharged through the drainage device, so as to achieve high-efficiency drainage and dehydration drainage.
Owner:QINGDAO HAIER WASHING ELECTRIC APPLIANCES CO LTD +1

Roller washing machine control method and roller washing machine

The invention provides a roller washing machine control method and a roller washing machine. The roller washing machine comprises a first inner barrel and a second inner barrel arranged in the first inner barrel; the second inner barrel is provided with a lockable and independent washing chamber, and washing water is independently held when clothes are washed. The roller washing machine is characterized in that the washing machine controls the first inner barrel and / or the second inner barrel to operate, and the clothes in the first inner barrel or the second inner barrel are independently washed in a partitioned mode. According to the roller washing machine control method, the first inner barrel and / or the second inner barrel are controlled to operate, the working conditions of water feeding, washing, dewatering, water discharging and the like when the first inner barrel works independently, the second inner barrel works independently or the first inner barrel and the second inner barrel work together are achieved, and the purpose of independently washing the clothes in the first inner barrel or the second inner barrel in the partitioned mode is achieved.
Owner:QINGDAO HAIER DRUM WASHING MACHINE +1

Washing machine and control method thereof

The invention provides a washing machine and a control method thereof. The washing machine comprises an inner cylinder, an inner cylinder door, an inner cylinder door lock, and a door lock detection device. The inner cylinder is provided with a washing chamber for independently containing washing water; the inner cylinder door is mounted at the cylinder opening of the inner cylinder in an openableand closable mode; the inner cylinder door lock is used for locking the inner cylinder door and keeping the inner cylinder door in a closed state; and the door lock detection device is used for detecting whether the inner cylinder door lock is locked or not. The washing machine is provided with the door lock detection device for locking the inner cylinder door in place, so that the situation thatthe inner cylinder door is locked in place, and the locking judgment accuracy is 100% is ensured; and due to the fact that the dehydration rotating speed of a roller can reach 1600 revolutions per minute, if the inner cylinder door on the inner cylinder is not locked well, safety accidents can happen, the safety of the machine is greatly improved, and user health and user experience.
Owner:QINGDAO HAIER DRUM WASHING MACHINE +1
Features
  • R&D
  • Intellectual Property
  • Life Sciences
  • Materials
  • Tech Scout
Why Patsnap Eureka
  • Unparalleled Data Quality
  • Higher Quality Content
  • 60% Fewer Hallucinations
Social media
Patsnap Eureka Blog
Learn More