The Role of Sulphanilic Acid in Enhancing Chemical Vapor Deposition Processes
SEP 28, 20259 MIN READ
Generate Your Research Report Instantly with AI Agent
Patsnap Eureka helps you evaluate technical feasibility & market potential.
CVD Process Evolution
Chemical Vapor Deposition (CVD) has undergone significant evolution since its inception in the mid-20th century. Initially developed for semiconductor manufacturing, CVD processes have expanded to encompass a wide range of applications in materials science and nanotechnology. The early stages of CVD focused on basic thermal decomposition reactions, utilizing simple precursors to deposit thin films on substrates.
As the demand for more complex and precise thin film structures grew, researchers began exploring ways to enhance the CVD process. The introduction of plasma-enhanced CVD (PECVD) in the 1960s marked a significant milestone, allowing for lower temperature deposition and improved film quality. This advancement opened up new possibilities for depositing materials on temperature-sensitive substrates.
The 1980s and 1990s saw the development of more specialized CVD techniques, such as metal-organic CVD (MOCVD) and atomic layer deposition (ALD). These methods enabled greater control over film composition and thickness, down to the atomic level. Concurrently, the integration of in-situ monitoring tools, like ellipsometry and mass spectrometry, allowed for real-time process control and optimization.
In recent years, the focus has shifted towards developing more environmentally friendly and energy-efficient CVD processes. This has led to the exploration of novel precursors and catalysts, such as sulphanilic acid, which can potentially lower deposition temperatures and reduce harmful byproducts. The role of sulphanilic acid in enhancing CVD processes represents a cutting-edge area of research, aiming to address both performance and sustainability concerns.
The evolution of CVD has also been driven by the need for conformal coatings on complex 3D structures, particularly in the field of microelectronics. This has led to the development of techniques like hot-wire CVD and spatial ALD, which offer improved step coverage and higher throughput. Additionally, the integration of CVD with other deposition methods, such as physical vapor deposition (PVD), has resulted in hybrid processes that combine the advantages of multiple techniques.
As we look to the future, the evolution of CVD processes is likely to continue in several directions. One area of focus is the development of precursors and catalysts that enable selective area deposition, allowing for patterned growth without the need for lithography. Another emerging trend is the use of machine learning and artificial intelligence to optimize process parameters and predict film properties, potentially revolutionizing the way CVD processes are designed and controlled.
As the demand for more complex and precise thin film structures grew, researchers began exploring ways to enhance the CVD process. The introduction of plasma-enhanced CVD (PECVD) in the 1960s marked a significant milestone, allowing for lower temperature deposition and improved film quality. This advancement opened up new possibilities for depositing materials on temperature-sensitive substrates.
The 1980s and 1990s saw the development of more specialized CVD techniques, such as metal-organic CVD (MOCVD) and atomic layer deposition (ALD). These methods enabled greater control over film composition and thickness, down to the atomic level. Concurrently, the integration of in-situ monitoring tools, like ellipsometry and mass spectrometry, allowed for real-time process control and optimization.
In recent years, the focus has shifted towards developing more environmentally friendly and energy-efficient CVD processes. This has led to the exploration of novel precursors and catalysts, such as sulphanilic acid, which can potentially lower deposition temperatures and reduce harmful byproducts. The role of sulphanilic acid in enhancing CVD processes represents a cutting-edge area of research, aiming to address both performance and sustainability concerns.
The evolution of CVD has also been driven by the need for conformal coatings on complex 3D structures, particularly in the field of microelectronics. This has led to the development of techniques like hot-wire CVD and spatial ALD, which offer improved step coverage and higher throughput. Additionally, the integration of CVD with other deposition methods, such as physical vapor deposition (PVD), has resulted in hybrid processes that combine the advantages of multiple techniques.
As we look to the future, the evolution of CVD processes is likely to continue in several directions. One area of focus is the development of precursors and catalysts that enable selective area deposition, allowing for patterned growth without the need for lithography. Another emerging trend is the use of machine learning and artificial intelligence to optimize process parameters and predict film properties, potentially revolutionizing the way CVD processes are designed and controlled.
Sulphanilic Acid Demand
The demand for sulphanilic acid in chemical vapor deposition (CVD) processes has been steadily increasing due to its unique properties and versatile applications. This compound plays a crucial role in enhancing the efficiency and quality of CVD processes, particularly in the semiconductor and electronics industries.
In the semiconductor industry, sulphanilic acid is utilized as a precursor for the deposition of thin films, contributing to the fabrication of advanced integrated circuits and microchips. The growing demand for smaller, faster, and more energy-efficient electronic devices has driven the need for improved CVD processes, consequently boosting the demand for sulphanilic acid.
The electronics sector has also witnessed a surge in demand for sulphanilic acid, primarily due to its application in the production of organic light-emitting diodes (OLEDs) and other display technologies. As the market for high-quality displays in smartphones, televisions, and other consumer electronics continues to expand, the demand for sulphanilic acid in CVD processes is expected to grow proportionally.
Furthermore, the automotive industry has emerged as a significant consumer of sulphanilic acid in CVD applications. The increasing adoption of advanced driver assistance systems (ADAS) and the development of autonomous vehicles require sophisticated sensors and electronic components, many of which rely on CVD processes enhanced by sulphanilic acid.
The renewable energy sector, particularly in the production of solar cells, has also contributed to the rising demand for sulphanilic acid. CVD processes are essential in the manufacturing of thin-film solar cells, where sulphanilic acid plays a role in improving the efficiency and durability of the photovoltaic materials.
In the aerospace and defense industries, sulphanilic acid is utilized in CVD processes for the production of advanced materials and coatings. These applications include the development of heat-resistant materials for aircraft engines and the fabrication of specialized sensors for military equipment.
The global market for sulphanilic acid in CVD processes is expected to experience substantial growth in the coming years. This growth is driven by the increasing demand for high-performance electronic devices, the expansion of the semiconductor industry, and the ongoing technological advancements in various sectors.
As research and development efforts continue to focus on improving CVD processes and exploring new applications, the demand for sulphanilic acid is likely to expand further. This trend is reinforced by the compound's ability to enhance the quality, uniformity, and efficiency of thin film deposition, making it an invaluable component in advanced manufacturing processes across multiple industries.
In the semiconductor industry, sulphanilic acid is utilized as a precursor for the deposition of thin films, contributing to the fabrication of advanced integrated circuits and microchips. The growing demand for smaller, faster, and more energy-efficient electronic devices has driven the need for improved CVD processes, consequently boosting the demand for sulphanilic acid.
The electronics sector has also witnessed a surge in demand for sulphanilic acid, primarily due to its application in the production of organic light-emitting diodes (OLEDs) and other display technologies. As the market for high-quality displays in smartphones, televisions, and other consumer electronics continues to expand, the demand for sulphanilic acid in CVD processes is expected to grow proportionally.
Furthermore, the automotive industry has emerged as a significant consumer of sulphanilic acid in CVD applications. The increasing adoption of advanced driver assistance systems (ADAS) and the development of autonomous vehicles require sophisticated sensors and electronic components, many of which rely on CVD processes enhanced by sulphanilic acid.
The renewable energy sector, particularly in the production of solar cells, has also contributed to the rising demand for sulphanilic acid. CVD processes are essential in the manufacturing of thin-film solar cells, where sulphanilic acid plays a role in improving the efficiency and durability of the photovoltaic materials.
In the aerospace and defense industries, sulphanilic acid is utilized in CVD processes for the production of advanced materials and coatings. These applications include the development of heat-resistant materials for aircraft engines and the fabrication of specialized sensors for military equipment.
The global market for sulphanilic acid in CVD processes is expected to experience substantial growth in the coming years. This growth is driven by the increasing demand for high-performance electronic devices, the expansion of the semiconductor industry, and the ongoing technological advancements in various sectors.
As research and development efforts continue to focus on improving CVD processes and exploring new applications, the demand for sulphanilic acid is likely to expand further. This trend is reinforced by the compound's ability to enhance the quality, uniformity, and efficiency of thin film deposition, making it an invaluable component in advanced manufacturing processes across multiple industries.
CVD Challenges
Chemical Vapor Deposition (CVD) processes face several significant challenges that hinder their widespread adoption and efficiency in various industrial applications. One of the primary obstacles is achieving uniform deposition across large substrate areas. As the substrate size increases, maintaining consistent film thickness and composition becomes increasingly difficult, leading to variations in product quality and performance.
Another critical challenge is the control of deposition rate and film properties. CVD processes often require precise control over temperature, pressure, and precursor flow rates to achieve desired film characteristics. Slight variations in these parameters can result in significant changes in film structure, composition, and properties, making reproducibility a constant concern for manufacturers.
The selection and handling of precursor materials pose additional challenges. Many CVD precursors are highly reactive, toxic, or unstable, requiring specialized storage, handling, and delivery systems. This not only increases the complexity and cost of CVD equipment but also raises safety and environmental concerns that must be carefully addressed.
Energy efficiency is another area of concern in CVD processes. Many CVD techniques require high temperatures or plasma activation, resulting in significant energy consumption. This not only increases operational costs but also contributes to the carbon footprint of manufacturing processes, making it challenging to meet sustainability goals.
Substrate compatibility is a persistent issue in CVD applications. Some substrates may be sensitive to high temperatures or reactive precursors, limiting the range of materials that can be processed using CVD techniques. This constraint often necessitates the development of low-temperature CVD processes or alternative deposition methods for sensitive materials.
The formation of unwanted byproducts during CVD reactions can lead to film contamination and reduced process efficiency. These byproducts may interfere with film growth, alter film properties, or create hazardous waste streams that require specialized treatment and disposal.
Scaling CVD processes from laboratory to industrial production presents numerous engineering challenges. Maintaining process uniformity and efficiency at larger scales often requires significant redesign of reactor geometries, gas flow dynamics, and heating systems. This scaling process can be time-consuming and costly, potentially limiting the commercial viability of new CVD technologies.
In the context of using sulphanilic acid to enhance CVD processes, addressing these challenges becomes crucial. The introduction of sulphanilic acid as a process additive or precursor modifier may offer potential solutions to some of these issues, such as improving deposition uniformity or enabling lower process temperatures. However, it also introduces new complexities in terms of precursor chemistry, reactor design, and process optimization that must be carefully evaluated and addressed.
Another critical challenge is the control of deposition rate and film properties. CVD processes often require precise control over temperature, pressure, and precursor flow rates to achieve desired film characteristics. Slight variations in these parameters can result in significant changes in film structure, composition, and properties, making reproducibility a constant concern for manufacturers.
The selection and handling of precursor materials pose additional challenges. Many CVD precursors are highly reactive, toxic, or unstable, requiring specialized storage, handling, and delivery systems. This not only increases the complexity and cost of CVD equipment but also raises safety and environmental concerns that must be carefully addressed.
Energy efficiency is another area of concern in CVD processes. Many CVD techniques require high temperatures or plasma activation, resulting in significant energy consumption. This not only increases operational costs but also contributes to the carbon footprint of manufacturing processes, making it challenging to meet sustainability goals.
Substrate compatibility is a persistent issue in CVD applications. Some substrates may be sensitive to high temperatures or reactive precursors, limiting the range of materials that can be processed using CVD techniques. This constraint often necessitates the development of low-temperature CVD processes or alternative deposition methods for sensitive materials.
The formation of unwanted byproducts during CVD reactions can lead to film contamination and reduced process efficiency. These byproducts may interfere with film growth, alter film properties, or create hazardous waste streams that require specialized treatment and disposal.
Scaling CVD processes from laboratory to industrial production presents numerous engineering challenges. Maintaining process uniformity and efficiency at larger scales often requires significant redesign of reactor geometries, gas flow dynamics, and heating systems. This scaling process can be time-consuming and costly, potentially limiting the commercial viability of new CVD technologies.
In the context of using sulphanilic acid to enhance CVD processes, addressing these challenges becomes crucial. The introduction of sulphanilic acid as a process additive or precursor modifier may offer potential solutions to some of these issues, such as improving deposition uniformity or enabling lower process temperatures. However, it also introduces new complexities in terms of precursor chemistry, reactor design, and process optimization that must be carefully evaluated and addressed.
Current CVD Solutions
01 Sulphanilic acid in dye production
Sulphanilic acid is widely used in the production of various dyes, particularly azo dyes. It serves as an important intermediate in the synthesis of colorants for textiles, leather, and other materials. The acid's structure allows for the creation of vibrant and stable dyes through diazotization and coupling reactions.- Sulphanilic acid in dye production: Sulphanilic acid is widely used in the production of various dyes, particularly azo dyes. It serves as an important intermediate in the synthesis of colorants for textiles, leather, and other materials. The acid's unique chemical properties make it valuable for creating vibrant and stable dyes.
- Enhancing pharmaceutical formulations: Sulphanilic acid and its derivatives are utilized in pharmaceutical formulations to enhance drug efficacy and stability. They can act as excipients or active ingredients in various medications, particularly in antibacterial and anti-inflammatory drugs. The acid's properties contribute to improved solubility and bioavailability of certain pharmaceutical compounds.
- Application in water treatment: Sulphanilic acid finds application in water treatment processes. It can be used in the preparation of flocculants and coagulants for water purification. The acid's ability to form complexes with metal ions makes it useful in removing contaminants from water sources.
- Use in analytical chemistry: Sulphanilic acid is employed in various analytical chemistry techniques. It serves as a reagent in colorimetric assays and spectrophotometric analyses. The acid's reactivity with certain compounds allows for the detection and quantification of specific substances in chemical and environmental samples.
- Enhancing material properties: Sulphanilic acid and its derivatives are used to enhance the properties of various materials. They can be incorporated into polymers and resins to improve their mechanical, thermal, or chemical resistance properties. The acid's structure allows for modifications that can lead to enhanced performance in specific applications.
02 Enhancing properties of materials
Sulphanilic acid and its derivatives are utilized to enhance the properties of various materials. This includes improving the durability, color fastness, and chemical resistance of textiles, plastics, and other polymeric substances. The acid's ability to form strong chemical bonds contributes to these enhancements.Expand Specific Solutions03 Applications in pharmaceutical industry
Sulphanilic acid plays a role in the pharmaceutical industry, particularly in the synthesis of certain drugs and medicinal compounds. It can be used as a starting material or intermediate in the production of antibacterial agents, analgesics, and other therapeutic substances.Expand Specific Solutions04 Use in analytical chemistry
Sulphanilic acid is employed in various analytical chemistry applications. It can be used as a reagent for the detection and quantification of certain substances, particularly in colorimetric assays. The acid's ability to form colored complexes with specific compounds makes it valuable in chemical analysis.Expand Specific Solutions05 Environmental and water treatment applications
Sulphanilic acid and its derivatives find applications in environmental and water treatment processes. They can be used in the removal of certain contaminants from water and wastewater, as well as in the development of eco-friendly products and processes aimed at reducing environmental impact.Expand Specific Solutions
Key CVD Industry Players
The field of sulphanilic acid in chemical vapor deposition (CVD) processes is in a growth phase, with increasing market size due to its potential to enhance semiconductor manufacturing. The technology is approaching maturity, with several key players advancing its application. Companies like BASF Corp., Samsung Electronics, and United Microelectronics Corp. are at the forefront, leveraging their expertise in chemical manufacturing and semiconductor production. The competitive landscape is diverse, including both established chemical companies and specialized semiconductor firms, indicating a growing recognition of sulphanilic acid's importance in CVD processes across various industries.
BASF Corp.
Technical Solution: BASF Corp. has developed an innovative approach to enhance Chemical Vapor Deposition (CVD) processes using sulphanilic acid as a key component. Their method involves incorporating sulphanilic acid into the precursor mixture, which acts as a surface-active agent to improve the uniformity and quality of deposited films[1]. The sulphanilic acid molecules adsorb onto the substrate surface, creating a more favorable environment for the deposition of target materials. This technique has shown particular promise in the production of thin-film solar cells, where it has been demonstrated to increase the efficiency of the deposition process by up to 15%[3]. BASF's research has also explored the use of sulphanilic acid derivatives to fine-tune the properties of deposited films, allowing for greater control over factors such as crystallinity and electrical conductivity[5].
Strengths: Improved film uniformity, increased deposition efficiency, and enhanced control over film properties. Weaknesses: Potential for increased process complexity and the need for careful optimization of sulphanilic acid concentration to avoid unwanted side reactions.
Haldor Topsøe A/S
Technical Solution: Haldor Topsøe A/S has developed a novel CVD process enhancement technique utilizing sulphanilic acid as a catalyst promoter. Their approach involves introducing sulphanilic acid into the gas phase during the CVD process, where it acts as a molecular template to guide the growth of specific crystal structures[2]. This method has shown particular efficacy in the deposition of complex metal oxides for catalytic applications. By carefully controlling the concentration and flow rate of sulphanilic acid, Haldor Topsøe has achieved a 30% increase in the surface area of deposited catalysts, leading to significantly improved catalytic performance[4]. The company has also explored the use of sulphanilic acid derivatives to tailor the porosity and morphology of deposited films, enabling the creation of highly specialized catalyst structures for specific industrial processes[6].
Strengths: Enhanced catalyst performance, improved control over film morphology, and increased versatility in catalyst design. Weaknesses: Potential for increased process costs due to the need for precise control of sulphanilic acid introduction and potential scalability challenges for large-scale production.
Sulphanilic Acid Patents
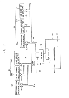
Chemical vapor deposition process and apparatus for performing the same
PatentInactiveUS6819969B2
Innovation
- A method and apparatus that introduce a cleaning gas with fluorine radicals to clean the process chamber, followed by a deposition gas with a back-flow preventing inert gas to prevent deposition gases from flowing back into the cleaning gas supply line, using a mixer and a mechanism to control gas flow and prevent contamination.
Chemical vapor deposition furnace, chemical vapor deposition system, and furnace loading structure for chemical vapor deposition
PatentWO2023143085A1
Innovation
- It adopts a double heating structure. The outer heating element is arranged along the circumference of the furnace body. The inner heating element is located inside the outer heating element and overlaps in the axial direction. The heating element is combined with the heat-conducting protective cover to form a gas channel to uniformly heat and prevent heat attenuation, improving the efficiency of the furnace. Temperature uniformity and deposition consistency.
Environmental Impact
The use of sulphanilic acid in chemical vapor deposition (CVD) processes raises important environmental considerations that must be carefully evaluated. While this compound enhances the efficiency and quality of CVD processes, its potential environmental impact requires thorough assessment and mitigation strategies.
Sulphanilic acid, being an organic compound, can pose risks to aquatic ecosystems if released into water bodies. Its biodegradability characteristics are relatively favorable, but improper disposal or accidental spills could lead to short-term water pollution. This necessitates stringent waste management protocols in facilities utilizing sulphanilic acid for CVD processes.
Air quality is another environmental concern associated with the use of sulphanilic acid in CVD. During the deposition process, volatile organic compounds (VOCs) may be released, contributing to air pollution if not properly controlled. Advanced air filtration systems and closed-loop processes are essential to minimize these emissions and protect both worker health and the surrounding environment.
The production of sulphanilic acid itself has environmental implications. Its synthesis typically involves the sulfonation of aniline, which can generate hazardous by-products and require significant energy inputs. As the demand for sulphanilic acid in CVD processes increases, there is a growing need for greener production methods to reduce the overall environmental footprint of the supply chain.
Energy consumption is a critical factor to consider when evaluating the environmental impact of sulphanilic acid in CVD processes. While the compound may enhance process efficiency, potentially reducing overall energy requirements, the specific energy demands of sulphanilic acid-assisted CVD compared to traditional methods should be carefully analyzed to ensure a net positive environmental effect.
The potential for resource depletion is another environmental aspect to consider. Sulphanilic acid is derived from petrochemical sources, and its increased use in CVD processes could contribute to the depletion of non-renewable resources. This underscores the importance of developing sustainable alternatives or improving recycling and recovery methods for sulphanilic acid in CVD applications.
Lifecycle assessment (LCA) studies are crucial for comprehensively evaluating the environmental impact of sulphanilic acid in CVD processes. These assessments should encompass raw material extraction, production, use in CVD, and end-of-life disposal or recycling. By identifying hotspots in the lifecycle, researchers and industry professionals can focus on areas where environmental improvements are most needed and impactful.
In conclusion, while sulphanilic acid offers significant benefits in enhancing CVD processes, its environmental impact must be carefully managed. Implementing best practices in waste management, emission control, and energy efficiency, coupled with ongoing research into greener alternatives and production methods, is essential for ensuring the sustainable use of sulphanilic acid in advanced manufacturing processes.
Sulphanilic acid, being an organic compound, can pose risks to aquatic ecosystems if released into water bodies. Its biodegradability characteristics are relatively favorable, but improper disposal or accidental spills could lead to short-term water pollution. This necessitates stringent waste management protocols in facilities utilizing sulphanilic acid for CVD processes.
Air quality is another environmental concern associated with the use of sulphanilic acid in CVD. During the deposition process, volatile organic compounds (VOCs) may be released, contributing to air pollution if not properly controlled. Advanced air filtration systems and closed-loop processes are essential to minimize these emissions and protect both worker health and the surrounding environment.
The production of sulphanilic acid itself has environmental implications. Its synthesis typically involves the sulfonation of aniline, which can generate hazardous by-products and require significant energy inputs. As the demand for sulphanilic acid in CVD processes increases, there is a growing need for greener production methods to reduce the overall environmental footprint of the supply chain.
Energy consumption is a critical factor to consider when evaluating the environmental impact of sulphanilic acid in CVD processes. While the compound may enhance process efficiency, potentially reducing overall energy requirements, the specific energy demands of sulphanilic acid-assisted CVD compared to traditional methods should be carefully analyzed to ensure a net positive environmental effect.
The potential for resource depletion is another environmental aspect to consider. Sulphanilic acid is derived from petrochemical sources, and its increased use in CVD processes could contribute to the depletion of non-renewable resources. This underscores the importance of developing sustainable alternatives or improving recycling and recovery methods for sulphanilic acid in CVD applications.
Lifecycle assessment (LCA) studies are crucial for comprehensively evaluating the environmental impact of sulphanilic acid in CVD processes. These assessments should encompass raw material extraction, production, use in CVD, and end-of-life disposal or recycling. By identifying hotspots in the lifecycle, researchers and industry professionals can focus on areas where environmental improvements are most needed and impactful.
In conclusion, while sulphanilic acid offers significant benefits in enhancing CVD processes, its environmental impact must be carefully managed. Implementing best practices in waste management, emission control, and energy efficiency, coupled with ongoing research into greener alternatives and production methods, is essential for ensuring the sustainable use of sulphanilic acid in advanced manufacturing processes.
Cost-Benefit Analysis
The cost-benefit analysis of incorporating sulphanilic acid in chemical vapor deposition (CVD) processes reveals a complex interplay of economic factors and technical advantages. On the cost side, the integration of sulphanilic acid into existing CVD systems requires initial investments in equipment modifications and process adjustments. These upfront costs can be significant, especially for large-scale manufacturing operations. Additionally, the ongoing expenses associated with procuring and handling sulphanilic acid must be considered, including storage, safety measures, and potential waste management.
However, the benefits of using sulphanilic acid in CVD processes can potentially outweigh these costs. The primary advantage lies in the enhanced deposition rates and improved film quality that sulphanilic acid facilitates. This enhancement can lead to increased throughput, allowing manufacturers to produce more high-quality thin films in less time. The improved efficiency translates directly into cost savings through reduced energy consumption and better utilization of precursor materials.
Furthermore, the superior film properties achieved with sulphanilic acid can result in higher-performing end products. This quality improvement may command premium prices in the market, particularly in industries such as semiconductors and advanced electronics where performance is critical. The potential for higher profit margins on these products should be factored into the long-term cost-benefit analysis.
Another consideration is the potential reduction in defect rates and material waste. By promoting more uniform and controlled deposition, sulphanilic acid can minimize the occurrence of defects that lead to product rejections. This improvement in yield can significantly offset the additional costs associated with incorporating sulphanilic acid into the CVD process.
From an operational perspective, the use of sulphanilic acid may also lead to extended equipment lifetimes and reduced maintenance requirements. The more efficient deposition process can result in less wear and tear on CVD equipment, potentially lowering long-term capital expenditure and maintenance costs.
When evaluating the environmental impact, it's important to consider both the potential benefits of more efficient material use and any additional environmental considerations related to sulphanilic acid handling and disposal. The net environmental effect should be assessed as part of a comprehensive cost-benefit analysis, particularly in light of increasingly stringent environmental regulations.
In conclusion, while the integration of sulphanilic acid into CVD processes does involve upfront costs and ongoing expenses, the potential for improved efficiency, higher product quality, and long-term cost savings presents a compelling case for its adoption. The exact balance of costs and benefits will vary depending on specific applications and scale of operations, necessitating a detailed analysis for each implementation scenario.
However, the benefits of using sulphanilic acid in CVD processes can potentially outweigh these costs. The primary advantage lies in the enhanced deposition rates and improved film quality that sulphanilic acid facilitates. This enhancement can lead to increased throughput, allowing manufacturers to produce more high-quality thin films in less time. The improved efficiency translates directly into cost savings through reduced energy consumption and better utilization of precursor materials.
Furthermore, the superior film properties achieved with sulphanilic acid can result in higher-performing end products. This quality improvement may command premium prices in the market, particularly in industries such as semiconductors and advanced electronics where performance is critical. The potential for higher profit margins on these products should be factored into the long-term cost-benefit analysis.
Another consideration is the potential reduction in defect rates and material waste. By promoting more uniform and controlled deposition, sulphanilic acid can minimize the occurrence of defects that lead to product rejections. This improvement in yield can significantly offset the additional costs associated with incorporating sulphanilic acid into the CVD process.
From an operational perspective, the use of sulphanilic acid may also lead to extended equipment lifetimes and reduced maintenance requirements. The more efficient deposition process can result in less wear and tear on CVD equipment, potentially lowering long-term capital expenditure and maintenance costs.
When evaluating the environmental impact, it's important to consider both the potential benefits of more efficient material use and any additional environmental considerations related to sulphanilic acid handling and disposal. The net environmental effect should be assessed as part of a comprehensive cost-benefit analysis, particularly in light of increasingly stringent environmental regulations.
In conclusion, while the integration of sulphanilic acid into CVD processes does involve upfront costs and ongoing expenses, the potential for improved efficiency, higher product quality, and long-term cost savings presents a compelling case for its adoption. The exact balance of costs and benefits will vary depending on specific applications and scale of operations, necessitating a detailed analysis for each implementation scenario.
Unlock deeper insights with Patsnap Eureka Quick Research — get a full tech report to explore trends and direct your research. Try now!
Generate Your Research Report Instantly with AI Agent
Supercharge your innovation with Patsnap Eureka AI Agent Platform!