AMOLED's impact on virtual reality headset displays.
JUL 17, 20259 MIN READ
Generate Your Research Report Instantly with AI Agent
Patsnap Eureka helps you evaluate technical feasibility & market potential.
AMOLED VR Display Evolution
The evolution of AMOLED technology in virtual reality headset displays has been a significant driver in enhancing the immersive experience for users. Initially, VR headsets relied on LCD screens, which had limitations in terms of response time, contrast ratio, and power consumption. The introduction of AMOLED displays marked a pivotal shift in the VR industry.
In the early stages of VR headset development, around 2014-2015, AMOLED displays began to be incorporated into high-end devices. These early implementations showcased the technology's potential, offering improved color reproduction and faster response times compared to LCD counterparts. However, the resolution and pixel density were still relatively low, leading to the infamous "screen door effect" where users could perceive individual pixels.
As AMOLED technology matured, VR headset manufacturers started to leverage its benefits more effectively. By 2016-2017, we saw a significant leap in display quality. Higher resolution panels were introduced, with pixel densities reaching beyond 500 PPI (pixels per inch). This advancement greatly reduced the screen door effect and enhanced overall visual clarity.
The period between 2018 and 2020 witnessed further refinements in AMOLED displays for VR. Manufacturers focused on optimizing refresh rates, pushing them from 90Hz to 120Hz and beyond. This improvement resulted in smoother motion and reduced motion sickness for users. Additionally, advancements in panel manufacturing allowed for more efficient designs, leading to lighter and more compact headsets.
In recent years, from 2021 onwards, AMOLED technology in VR has continued to evolve. The introduction of micro-OLED displays has promised even higher pixel densities, potentially exceeding 2000 PPI. This development aims to eliminate the screen door effect entirely and provide near-retina resolution experiences. Furthermore, improvements in HDR capabilities and color gamut have led to more vibrant and realistic visual representations in virtual environments.
The latest iterations of AMOLED displays in VR headsets have also addressed power efficiency concerns. By implementing more sophisticated pixel arrangements and optimizing driver circuitry, manufacturers have managed to reduce power consumption while maintaining or even improving display performance. This has resulted in longer battery life for standalone VR headsets and reduced heat generation, enhancing user comfort during extended use.
Looking ahead, the trajectory of AMOLED technology in VR displays points towards even more immersive experiences. Research is ongoing into flexible AMOLED panels that could conform to curved surfaces, potentially allowing for wider fields of view without optical distortions. Additionally, advancements in quantum dot technology may further enhance color accuracy and energy efficiency in future AMOLED VR displays.
In the early stages of VR headset development, around 2014-2015, AMOLED displays began to be incorporated into high-end devices. These early implementations showcased the technology's potential, offering improved color reproduction and faster response times compared to LCD counterparts. However, the resolution and pixel density were still relatively low, leading to the infamous "screen door effect" where users could perceive individual pixels.
As AMOLED technology matured, VR headset manufacturers started to leverage its benefits more effectively. By 2016-2017, we saw a significant leap in display quality. Higher resolution panels were introduced, with pixel densities reaching beyond 500 PPI (pixels per inch). This advancement greatly reduced the screen door effect and enhanced overall visual clarity.
The period between 2018 and 2020 witnessed further refinements in AMOLED displays for VR. Manufacturers focused on optimizing refresh rates, pushing them from 90Hz to 120Hz and beyond. This improvement resulted in smoother motion and reduced motion sickness for users. Additionally, advancements in panel manufacturing allowed for more efficient designs, leading to lighter and more compact headsets.
In recent years, from 2021 onwards, AMOLED technology in VR has continued to evolve. The introduction of micro-OLED displays has promised even higher pixel densities, potentially exceeding 2000 PPI. This development aims to eliminate the screen door effect entirely and provide near-retina resolution experiences. Furthermore, improvements in HDR capabilities and color gamut have led to more vibrant and realistic visual representations in virtual environments.
The latest iterations of AMOLED displays in VR headsets have also addressed power efficiency concerns. By implementing more sophisticated pixel arrangements and optimizing driver circuitry, manufacturers have managed to reduce power consumption while maintaining or even improving display performance. This has resulted in longer battery life for standalone VR headsets and reduced heat generation, enhancing user comfort during extended use.
Looking ahead, the trajectory of AMOLED technology in VR displays points towards even more immersive experiences. Research is ongoing into flexible AMOLED panels that could conform to curved surfaces, potentially allowing for wider fields of view without optical distortions. Additionally, advancements in quantum dot technology may further enhance color accuracy and energy efficiency in future AMOLED VR displays.
VR Market Demand Analysis
The virtual reality (VR) market has experienced significant growth in recent years, driven by advancements in display technology, particularly AMOLED displays. The demand for high-quality VR headsets has surged across various sectors, including gaming, entertainment, education, and enterprise applications.
In the gaming industry, VR headsets have gained substantial traction, with major players like Oculus, HTC, and Sony leading the market. The immersive experience provided by AMOLED displays has contributed to increased user engagement and longer play sessions. This has led to a growing ecosystem of VR game developers and publishers, further fueling market demand.
The entertainment sector has also embraced VR technology, with applications in virtual concerts, immersive cinema experiences, and interactive storytelling. AMOLED displays have enhanced the visual quality of these experiences, making them more appealing to consumers and driving adoption rates.
Education and training have emerged as significant growth areas for VR technology. The ability to create realistic simulations and interactive learning environments has made VR headsets valuable tools in fields such as medicine, engineering, and vocational training. The superior visual fidelity offered by AMOLED displays has improved the effectiveness of these training programs, leading to increased demand from educational institutions and corporate training departments.
In the enterprise sector, VR has found applications in product design, architectural visualization, and remote collaboration. The high contrast ratios and vibrant colors of AMOLED displays have made these applications more practical and effective, driving adoption among businesses across various industries.
The healthcare industry has also shown growing interest in VR technology, with applications in pain management, physical therapy, and mental health treatment. The visual quality provided by AMOLED displays has been crucial in creating immersive and therapeutic environments, leading to increased demand from healthcare providers and research institutions.
Market research indicates that the global VR headset market is expected to continue its growth trajectory in the coming years. The adoption of AMOLED displays has been a key factor in improving user experience and expanding the potential applications of VR technology. As display technology continues to advance, it is likely to drive further innovation in VR headset design and capabilities, potentially opening up new market segments and use cases.
However, challenges remain in terms of cost and accessibility. While AMOLED displays offer superior visual quality, they also contribute to higher production costs for VR headsets. This has limited widespread adoption, particularly in price-sensitive markets. As manufacturing processes improve and economies of scale are achieved, it is anticipated that costs will decrease, potentially leading to broader market penetration and increased demand across various sectors.
In the gaming industry, VR headsets have gained substantial traction, with major players like Oculus, HTC, and Sony leading the market. The immersive experience provided by AMOLED displays has contributed to increased user engagement and longer play sessions. This has led to a growing ecosystem of VR game developers and publishers, further fueling market demand.
The entertainment sector has also embraced VR technology, with applications in virtual concerts, immersive cinema experiences, and interactive storytelling. AMOLED displays have enhanced the visual quality of these experiences, making them more appealing to consumers and driving adoption rates.
Education and training have emerged as significant growth areas for VR technology. The ability to create realistic simulations and interactive learning environments has made VR headsets valuable tools in fields such as medicine, engineering, and vocational training. The superior visual fidelity offered by AMOLED displays has improved the effectiveness of these training programs, leading to increased demand from educational institutions and corporate training departments.
In the enterprise sector, VR has found applications in product design, architectural visualization, and remote collaboration. The high contrast ratios and vibrant colors of AMOLED displays have made these applications more practical and effective, driving adoption among businesses across various industries.
The healthcare industry has also shown growing interest in VR technology, with applications in pain management, physical therapy, and mental health treatment. The visual quality provided by AMOLED displays has been crucial in creating immersive and therapeutic environments, leading to increased demand from healthcare providers and research institutions.
Market research indicates that the global VR headset market is expected to continue its growth trajectory in the coming years. The adoption of AMOLED displays has been a key factor in improving user experience and expanding the potential applications of VR technology. As display technology continues to advance, it is likely to drive further innovation in VR headset design and capabilities, potentially opening up new market segments and use cases.
However, challenges remain in terms of cost and accessibility. While AMOLED displays offer superior visual quality, they also contribute to higher production costs for VR headsets. This has limited widespread adoption, particularly in price-sensitive markets. As manufacturing processes improve and economies of scale are achieved, it is anticipated that costs will decrease, potentially leading to broader market penetration and increased demand across various sectors.
AMOLED VR Tech Challenges
AMOLED technology presents several significant challenges when applied to virtual reality headset displays. One of the primary issues is the persistence of image retention, also known as burn-in. This occurs when static elements of a display remain visible even after the image has changed, potentially causing permanent damage to the screen. In VR applications, where certain UI elements may be consistently present, this problem becomes particularly acute.
Another challenge is the response time of AMOLED displays. While generally faster than LCD technology, AMOLED screens can still struggle with motion blur in fast-paced VR environments. This can lead to a less immersive experience and potentially contribute to motion sickness in users, a critical concern for VR adoption.
Power consumption is also a significant hurdle. While AMOLED displays are energy-efficient when displaying dark content, VR applications often require bright, high-contrast visuals. This can lead to increased power draw, potentially limiting the battery life of standalone VR headsets or requiring more substantial power management solutions.
The manufacturing process for AMOLED displays suitable for VR presents its own set of challenges. Producing high-resolution, high-pixel-density AMOLED panels at the sizes required for VR headsets is complex and costly. This can impact the overall price point of VR devices, potentially limiting market penetration.
Color accuracy and consistency across the display are crucial for VR applications but can be challenging to achieve with AMOLED technology. Variations in color reproduction between individual pixels or areas of the display can disrupt the immersive experience VR aims to create.
Heat generation is another concern, as AMOLED displays can produce significant heat during operation, especially at high brightness levels. In the confined space of a VR headset, this can lead to user discomfort and potential performance issues with other components.
Lastly, the lifespan of AMOLED displays in VR applications is a challenge. The intense, prolonged use typical in VR scenarios can accelerate pixel degradation, potentially shortening the overall lifespan of the display and, by extension, the VR headset itself.
Addressing these challenges requires ongoing research and development in AMOLED technology specifically tailored to the unique demands of VR applications. Innovations in materials science, manufacturing processes, and display driving techniques will be crucial in overcoming these hurdles and fully realizing the potential of AMOLED technology in virtual reality headsets.
Another challenge is the response time of AMOLED displays. While generally faster than LCD technology, AMOLED screens can still struggle with motion blur in fast-paced VR environments. This can lead to a less immersive experience and potentially contribute to motion sickness in users, a critical concern for VR adoption.
Power consumption is also a significant hurdle. While AMOLED displays are energy-efficient when displaying dark content, VR applications often require bright, high-contrast visuals. This can lead to increased power draw, potentially limiting the battery life of standalone VR headsets or requiring more substantial power management solutions.
The manufacturing process for AMOLED displays suitable for VR presents its own set of challenges. Producing high-resolution, high-pixel-density AMOLED panels at the sizes required for VR headsets is complex and costly. This can impact the overall price point of VR devices, potentially limiting market penetration.
Color accuracy and consistency across the display are crucial for VR applications but can be challenging to achieve with AMOLED technology. Variations in color reproduction between individual pixels or areas of the display can disrupt the immersive experience VR aims to create.
Heat generation is another concern, as AMOLED displays can produce significant heat during operation, especially at high brightness levels. In the confined space of a VR headset, this can lead to user discomfort and potential performance issues with other components.
Lastly, the lifespan of AMOLED displays in VR applications is a challenge. The intense, prolonged use typical in VR scenarios can accelerate pixel degradation, potentially shortening the overall lifespan of the display and, by extension, the VR headset itself.
Addressing these challenges requires ongoing research and development in AMOLED technology specifically tailored to the unique demands of VR applications. Innovations in materials science, manufacturing processes, and display driving techniques will be crucial in overcoming these hurdles and fully realizing the potential of AMOLED technology in virtual reality headsets.
Current AMOLED VR Solutions
01 Pixel structure and arrangement
AMOLED display quality is significantly influenced by the pixel structure and arrangement. This includes the design of sub-pixels, their layout, and the overall pixel density. Optimizing these factors can lead to improved color accuracy, resolution, and overall image quality.- Pixel structure and arrangement: AMOLED display quality is significantly influenced by the pixel structure and arrangement. This includes the design of sub-pixels, their layout, and the overall pixel density. Optimizing these factors can lead to improved color accuracy, resolution, and overall image quality.
- Driving methods and circuits: Advanced driving methods and circuits play a crucial role in enhancing AMOLED display quality. These include techniques for reducing power consumption, improving refresh rates, and minimizing display artifacts such as image retention or burn-in.
- OLED materials and fabrication: The quality of AMOLED displays is heavily dependent on the OLED materials used and the fabrication processes. This includes developing new organic compounds, improving deposition techniques, and enhancing the overall stability and efficiency of the OLED layers.
- Color management and calibration: Implementing advanced color management systems and calibration techniques is essential for achieving high-quality AMOLED displays. This involves optimizing color gamut, improving color accuracy, and developing algorithms for dynamic color adjustment based on ambient lighting conditions.
- Display panel architecture: The overall architecture of the AMOLED display panel, including the backplane design, thin-film transistor (TFT) technology, and integration of additional components like touch sensors, can significantly impact display quality. Innovations in these areas can lead to improved performance, durability, and functionality of AMOLED displays.
02 Driving methods and circuits
Advanced driving methods and circuits play a crucial role in enhancing AMOLED display quality. These include techniques for reducing power consumption, improving refresh rates, and minimizing display artifacts such as image retention and flickering.Expand Specific Solutions03 OLED materials and fabrication
The quality of AMOLED displays is heavily dependent on the OLED materials used and the fabrication processes. This includes developing new organic compounds, improving deposition techniques, and enhancing the overall stability and efficiency of the OLED layers.Expand Specific Solutions04 Color management and calibration
Implementing advanced color management systems and calibration techniques is essential for achieving high-quality AMOLED displays. This involves color gamut mapping, gamma correction, and adaptive brightness control to ensure accurate and consistent color reproduction across various viewing conditions.Expand Specific Solutions05 Display panel architecture
The overall architecture of the AMOLED display panel, including the backplane design, thin-film transistor (TFT) technology, and integration of additional components like touch sensors, impacts the display quality. Innovations in these areas can lead to improved performance, durability, and functionality of AMOLED displays.Expand Specific Solutions
Key VR Display Manufacturers
The AMOLED technology's impact on virtual reality headset displays is shaping a competitive landscape in an industry still in its growth phase. The market size is expanding rapidly, driven by increasing demand for high-quality immersive experiences. Technologically, AMOLED displays are maturing, with key players like Samsung Display, LG Innotek, and BOE Technology Group leading innovation. Companies such as Meta Platforms, HTC, and Sony Interactive Entertainment are integrating these advanced displays into their VR headsets, while Valve and NVIDIA focus on complementary technologies. The competition is intensifying as more firms enter the space, including traditional display manufacturers and tech giants, all vying for market share in this promising sector.
BOE Technology Group Co., Ltd.
Technical Solution: BOE has made significant strides in AMOLED technology for VR applications. They have developed high-refresh-rate AMOLED displays, capable of operating at 90Hz and above, which is crucial for reducing motion sickness in VR environments[12]. BOE's advancements in flexible AMOLED technology have enabled the creation of curved displays that can provide a wider field of view in VR headsets[13]. They have also focused on improving the pixel density of their AMOLED panels, with some prototypes reaching over 1400 PPI, aimed at eliminating the screen-door effect in VR[14]. BOE has invested in advanced manufacturing processes, including LTPO (Low-Temperature Polycrystalline Oxide) backplanes, which offer better power efficiency and enable variable refresh rates for VR displays[15].
Strengths: Large-scale manufacturing capabilities, advancements in flexible AMOLED technology. Weaknesses: Relatively new entrant to the high-end AMOLED market, still catching up to industry leaders in some performance metrics.
Samsung Display Co., Ltd.
Technical Solution: Samsung Display has been at the forefront of AMOLED technology for VR headsets. They have developed high-resolution AMOLED displays specifically for VR applications, offering pixel densities exceeding 1000 PPI (pixels per inch)[1]. Their latest advancements include the implementation of fine metal mask (FMM) OLED technology, which allows for higher pixel densities and improved image quality[2]. Samsung has also focused on reducing motion-to-photon latency, a critical factor in VR experiences, by optimizing their AMOLED panels for faster response times, often achieving sub-5ms pixel switching speeds[3]. Additionally, they have made strides in improving the color gamut and contrast ratios of their AMOLED displays, enhancing the overall visual fidelity in VR environments[4].
Strengths: Industry-leading pixel density, low motion-to-photon latency, and superior color reproduction. Weaknesses: Higher production costs compared to LCD alternatives, potential for burn-in over extended use.
AMOLED VR Display Patents
Active matrix organic light emitting diode display
PatentInactiveUS20090201234A1
Innovation
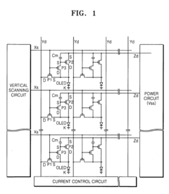
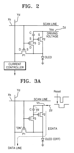
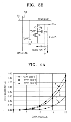
- The AMOLED display employs a 3-transistor-1-capacitor (3T-1C) structure with p-channel transistors, including a driving transistor, a switching transistor, and a programming transistor, along with a memory capacitor and a current controller, to control current flow and maintain uniform brightness by compensating for threshold voltage shifts, allowing for simpler pixel design and improved reliability.
Array substrate, display device, and method for manufacturing array substrate
PatentActiveUS20170148862A1
Innovation
- An array substrate with a light-absorbing layer covering the gate, source, and drain metal layers of a bottom-gate thin film transistor unit, preventing ambient light irradiation while allowing useful light to pass through.
VR Display Performance Metrics
Virtual reality (VR) headset displays require specific performance metrics to deliver an immersive and comfortable user experience. These metrics are crucial for evaluating the quality and effectiveness of VR displays, particularly when considering the impact of AMOLED technology.
Resolution is a fundamental metric, typically measured in pixels per degree (PPD) for VR displays. Higher resolution contributes to sharper images and reduced screen-door effect, enhancing overall visual fidelity. AMOLED displays can offer high pixel densities, potentially improving the perceived resolution in VR headsets.
Refresh rate, measured in Hertz (Hz), is another critical metric. Higher refresh rates reduce motion blur and contribute to smoother motion, which is essential for minimizing VR-induced discomfort. AMOLED displays are capable of high refresh rates, often exceeding 90 Hz, which is considered a minimum for comfortable VR experiences.
Response time, typically measured in milliseconds (ms), indicates how quickly pixels can change states. Faster response times reduce ghosting and motion artifacts. AMOLED displays generally offer superior response times compared to LCD alternatives, potentially enhancing the clarity of moving images in VR environments.
Field of view (FOV) is a crucial metric that determines the extent of the virtual world visible to the user. While not directly related to AMOLED technology, the display's form factor and design can impact the achievable FOV. AMOLED's flexibility may allow for curved or uniquely shaped displays that could potentially increase FOV.
Contrast ratio and black levels are areas where AMOLED displays excel. The ability to turn off individual pixels results in true blacks and infinite contrast ratios, contributing to more realistic and immersive VR experiences, especially in dark scenes.
Color accuracy and gamut are important for creating believable virtual environments. AMOLED displays typically offer wide color gamuts and can be calibrated for high color accuracy, enhancing the visual quality of VR content.
Brightness and outdoor visibility are considerations for VR headsets used in varying light conditions. AMOLED displays can achieve high peak brightness levels, potentially improving visibility in bright environments, although power consumption may increase.
Latency, while not solely a display metric, is crucial for VR performance. Display lag contributes to overall system latency, which must be minimized to prevent motion sickness. AMOLED's fast response times can help reduce display-related latency.
Power efficiency is an important factor for mobile VR solutions. AMOLED's ability to selectively illuminate pixels can lead to power savings in certain use cases, potentially extending battery life in standalone VR headsets.
Resolution is a fundamental metric, typically measured in pixels per degree (PPD) for VR displays. Higher resolution contributes to sharper images and reduced screen-door effect, enhancing overall visual fidelity. AMOLED displays can offer high pixel densities, potentially improving the perceived resolution in VR headsets.
Refresh rate, measured in Hertz (Hz), is another critical metric. Higher refresh rates reduce motion blur and contribute to smoother motion, which is essential for minimizing VR-induced discomfort. AMOLED displays are capable of high refresh rates, often exceeding 90 Hz, which is considered a minimum for comfortable VR experiences.
Response time, typically measured in milliseconds (ms), indicates how quickly pixels can change states. Faster response times reduce ghosting and motion artifacts. AMOLED displays generally offer superior response times compared to LCD alternatives, potentially enhancing the clarity of moving images in VR environments.
Field of view (FOV) is a crucial metric that determines the extent of the virtual world visible to the user. While not directly related to AMOLED technology, the display's form factor and design can impact the achievable FOV. AMOLED's flexibility may allow for curved or uniquely shaped displays that could potentially increase FOV.
Contrast ratio and black levels are areas where AMOLED displays excel. The ability to turn off individual pixels results in true blacks and infinite contrast ratios, contributing to more realistic and immersive VR experiences, especially in dark scenes.
Color accuracy and gamut are important for creating believable virtual environments. AMOLED displays typically offer wide color gamuts and can be calibrated for high color accuracy, enhancing the visual quality of VR content.
Brightness and outdoor visibility are considerations for VR headsets used in varying light conditions. AMOLED displays can achieve high peak brightness levels, potentially improving visibility in bright environments, although power consumption may increase.
Latency, while not solely a display metric, is crucial for VR performance. Display lag contributes to overall system latency, which must be minimized to prevent motion sickness. AMOLED's fast response times can help reduce display-related latency.
Power efficiency is an important factor for mobile VR solutions. AMOLED's ability to selectively illuminate pixels can lead to power savings in certain use cases, potentially extending battery life in standalone VR headsets.
AMOLED Supply Chain Analysis
The AMOLED supply chain for virtual reality headset displays involves a complex network of manufacturers, suppliers, and technology providers. At the core of this chain are the AMOLED panel manufacturers, with key players including Samsung Display, LG Display, and BOE Technology. These companies have invested heavily in AMOLED production capabilities to meet the growing demand from VR headset makers.
Raw material suppliers play a crucial role in the AMOLED supply chain. Key materials include organic light-emitting materials, thin-film transistors, and flexible substrates. Companies like Universal Display Corporation and Merck KGaA are major suppliers of OLED materials, while semiconductor manufacturers such as TSMC and GlobalFoundries provide the necessary transistor components.
The production of AMOLED displays for VR headsets requires specialized equipment and processes. Equipment manufacturers like Applied Materials, Canon Tokki, and Coherent supply the necessary tools for OLED deposition, encapsulation, and testing. These companies continually innovate to improve production efficiency and yield rates, which are critical factors in the AMOLED supply chain.
Integration and assembly form another crucial link in the chain. Companies specializing in display module integration, such as TPK Holding and GIS, work closely with AMOLED panel manufacturers to create complete display solutions for VR headsets. These integrated modules are then supplied to VR headset manufacturers like Oculus, HTC, and Sony for final product assembly.
The AMOLED supply chain for VR headsets is also influenced by technological advancements and market demands. As VR technology evolves, there is a growing need for higher resolution, faster refresh rates, and improved color accuracy in displays. This drives innovation throughout the supply chain, from material development to manufacturing processes.
Challenges in the AMOLED supply chain include production capacity constraints, yield management, and cost reduction. As demand for high-quality VR displays increases, manufacturers are working to expand production capabilities while maintaining strict quality control. Additionally, efforts are being made to reduce production costs to make AMOLED-based VR headsets more accessible to a wider consumer base.
Raw material suppliers play a crucial role in the AMOLED supply chain. Key materials include organic light-emitting materials, thin-film transistors, and flexible substrates. Companies like Universal Display Corporation and Merck KGaA are major suppliers of OLED materials, while semiconductor manufacturers such as TSMC and GlobalFoundries provide the necessary transistor components.
The production of AMOLED displays for VR headsets requires specialized equipment and processes. Equipment manufacturers like Applied Materials, Canon Tokki, and Coherent supply the necessary tools for OLED deposition, encapsulation, and testing. These companies continually innovate to improve production efficiency and yield rates, which are critical factors in the AMOLED supply chain.
Integration and assembly form another crucial link in the chain. Companies specializing in display module integration, such as TPK Holding and GIS, work closely with AMOLED panel manufacturers to create complete display solutions for VR headsets. These integrated modules are then supplied to VR headset manufacturers like Oculus, HTC, and Sony for final product assembly.
The AMOLED supply chain for VR headsets is also influenced by technological advancements and market demands. As VR technology evolves, there is a growing need for higher resolution, faster refresh rates, and improved color accuracy in displays. This drives innovation throughout the supply chain, from material development to manufacturing processes.
Challenges in the AMOLED supply chain include production capacity constraints, yield management, and cost reduction. As demand for high-quality VR displays increases, manufacturers are working to expand production capabilities while maintaining strict quality control. Additionally, efforts are being made to reduce production costs to make AMOLED-based VR headsets more accessible to a wider consumer base.
Unlock deeper insights with Patsnap Eureka Quick Research — get a full tech report to explore trends and direct your research. Try now!
Generate Your Research Report Instantly with AI Agent
Supercharge your innovation with Patsnap Eureka AI Agent Platform!







