How AMOLED technology supports HDR in flexible displays?
JUL 17, 20258 MIN READ
Generate Your Research Report Instantly with AI Agent
Patsnap Eureka helps you evaluate technical feasibility & market potential.
AMOLED HDR Flex Display Evolution
The evolution of AMOLED HDR technology in flexible displays represents a significant advancement in display technology. This progression has been driven by the increasing demand for high-quality, vibrant, and energy-efficient displays in various consumer electronics, particularly in smartphones and wearable devices.
Initially, AMOLED technology was primarily used in rigid displays, offering superior color reproduction and contrast compared to traditional LCD screens. The transition to flexible AMOLED displays marked a crucial milestone, enabling the creation of curved and foldable devices. However, early flexible AMOLED displays faced challenges in maintaining consistent image quality across the entire screen, especially when bent or folded.
The integration of HDR (High Dynamic Range) capabilities into flexible AMOLED displays has been a gradual process. Early implementations focused on improving the contrast ratio and color gamut, but were limited by the technical constraints of flexible substrates and the complexities of maintaining uniform brightness across a non-rigid surface.
A significant breakthrough came with the development of advanced OLED materials that could maintain their properties even when subjected to repeated bending. This innovation allowed for the creation of flexible displays that could deliver HDR-quality images without compromising on durability or lifespan.
The evolution also saw improvements in pixel structures and driving methods. Manufacturers developed new sub-pixel arrangements that could better distribute light and color across flexible surfaces, ensuring consistent HDR performance even when the display was not flat. Additionally, advancements in thin-film transistor (TFT) technology enabled more precise control over each pixel, crucial for achieving the wide dynamic range required for HDR content.
Another key development was the implementation of local dimming techniques in flexible AMOLED displays. This technology allows for precise control of brightness in different areas of the screen, enhancing contrast and enabling true HDR performance. The challenge of implementing this in flexible displays was overcome through innovative circuit designs and improved manufacturing processes.
The most recent advancements in AMOLED HDR flexible displays have focused on increasing peak brightness levels while maintaining energy efficiency. This has been achieved through the development of more efficient OLED materials and improved power management systems that can dynamically adjust brightness levels based on content and ambient lighting conditions.
As the technology continues to mature, we are seeing an expansion of color gamuts, with many flexible AMOLED displays now capable of reproducing a wider range of colors than ever before. This enhancement, combined with HDR capabilities, results in stunningly vivid and lifelike images, even on curved or folded surfaces.
Initially, AMOLED technology was primarily used in rigid displays, offering superior color reproduction and contrast compared to traditional LCD screens. The transition to flexible AMOLED displays marked a crucial milestone, enabling the creation of curved and foldable devices. However, early flexible AMOLED displays faced challenges in maintaining consistent image quality across the entire screen, especially when bent or folded.
The integration of HDR (High Dynamic Range) capabilities into flexible AMOLED displays has been a gradual process. Early implementations focused on improving the contrast ratio and color gamut, but were limited by the technical constraints of flexible substrates and the complexities of maintaining uniform brightness across a non-rigid surface.
A significant breakthrough came with the development of advanced OLED materials that could maintain their properties even when subjected to repeated bending. This innovation allowed for the creation of flexible displays that could deliver HDR-quality images without compromising on durability or lifespan.
The evolution also saw improvements in pixel structures and driving methods. Manufacturers developed new sub-pixel arrangements that could better distribute light and color across flexible surfaces, ensuring consistent HDR performance even when the display was not flat. Additionally, advancements in thin-film transistor (TFT) technology enabled more precise control over each pixel, crucial for achieving the wide dynamic range required for HDR content.
Another key development was the implementation of local dimming techniques in flexible AMOLED displays. This technology allows for precise control of brightness in different areas of the screen, enhancing contrast and enabling true HDR performance. The challenge of implementing this in flexible displays was overcome through innovative circuit designs and improved manufacturing processes.
The most recent advancements in AMOLED HDR flexible displays have focused on increasing peak brightness levels while maintaining energy efficiency. This has been achieved through the development of more efficient OLED materials and improved power management systems that can dynamically adjust brightness levels based on content and ambient lighting conditions.
As the technology continues to mature, we are seeing an expansion of color gamuts, with many flexible AMOLED displays now capable of reproducing a wider range of colors than ever before. This enhancement, combined with HDR capabilities, results in stunningly vivid and lifelike images, even on curved or folded surfaces.
Market Demand Analysis
The market demand for AMOLED technology supporting HDR in flexible displays has been growing rapidly in recent years. This surge is driven by the increasing consumer appetite for high-quality visual experiences on mobile devices, particularly smartphones and tablets. As users become more discerning about display quality, the ability to render vivid colors, deep blacks, and high contrast ratios has become a key differentiator in the premium device segment.
The flexible display market, which incorporates AMOLED technology, is expected to expand significantly. This growth is fueled by the trend towards foldable and rollable devices, which require displays that can maintain high image quality even when bent or folded. The integration of HDR capabilities in these flexible AMOLED displays adds another layer of appeal, as it allows for a more immersive viewing experience in a variety of form factors.
Content creators and streaming platforms are also driving demand for HDR-capable displays. As more HDR content becomes available, there is a growing need for devices that can accurately reproduce this content. This trend is particularly evident in the mobile gaming and video streaming sectors, where visual fidelity is a crucial factor in user engagement and satisfaction.
The automotive industry represents another significant market for flexible AMOLED displays with HDR support. As vehicles become more technologically advanced, there is an increasing demand for high-quality, flexible displays for infotainment systems, digital dashboards, and rear-seat entertainment. The ability to conform to curved surfaces while delivering HDR content makes AMOLED technology particularly attractive for automotive applications.
From a geographical perspective, the Asia-Pacific region, particularly countries like South Korea and China, is expected to lead in both production and consumption of devices featuring HDR-capable flexible AMOLED displays. However, North America and Europe are also showing strong demand, driven by early adopters and tech enthusiasts.
The enterprise and professional markets are emerging as potential growth areas for this technology. Industries such as design, photography, and video production are showing interest in portable devices with high-quality, flexible displays that can accurately represent colors and contrast ratios. This opens up new possibilities for mobile workstations and professional-grade tablets.
As the technology matures and production costs decrease, it is anticipated that HDR-capable flexible AMOLED displays will gradually penetrate mid-range device segments. This expansion is likely to further drive market growth and increase the overall demand for this advanced display technology across various consumer electronics categories.
The flexible display market, which incorporates AMOLED technology, is expected to expand significantly. This growth is fueled by the trend towards foldable and rollable devices, which require displays that can maintain high image quality even when bent or folded. The integration of HDR capabilities in these flexible AMOLED displays adds another layer of appeal, as it allows for a more immersive viewing experience in a variety of form factors.
Content creators and streaming platforms are also driving demand for HDR-capable displays. As more HDR content becomes available, there is a growing need for devices that can accurately reproduce this content. This trend is particularly evident in the mobile gaming and video streaming sectors, where visual fidelity is a crucial factor in user engagement and satisfaction.
The automotive industry represents another significant market for flexible AMOLED displays with HDR support. As vehicles become more technologically advanced, there is an increasing demand for high-quality, flexible displays for infotainment systems, digital dashboards, and rear-seat entertainment. The ability to conform to curved surfaces while delivering HDR content makes AMOLED technology particularly attractive for automotive applications.
From a geographical perspective, the Asia-Pacific region, particularly countries like South Korea and China, is expected to lead in both production and consumption of devices featuring HDR-capable flexible AMOLED displays. However, North America and Europe are also showing strong demand, driven by early adopters and tech enthusiasts.
The enterprise and professional markets are emerging as potential growth areas for this technology. Industries such as design, photography, and video production are showing interest in portable devices with high-quality, flexible displays that can accurately represent colors and contrast ratios. This opens up new possibilities for mobile workstations and professional-grade tablets.
As the technology matures and production costs decrease, it is anticipated that HDR-capable flexible AMOLED displays will gradually penetrate mid-range device segments. This expansion is likely to further drive market growth and increase the overall demand for this advanced display technology across various consumer electronics categories.
Technical Challenges
The integration of AMOLED technology with HDR capabilities in flexible displays presents several significant technical challenges. One of the primary obstacles is maintaining consistent brightness and color accuracy across the entire flexible display surface. As the display bends, the light emission characteristics of OLED pixels can change, potentially leading to non-uniform brightness and color shifts. This issue is particularly pronounced in HDR content, where precise control over a wide range of luminance levels is crucial.
Another major challenge lies in the power management of flexible AMOLED displays supporting HDR. HDR content often requires higher peak brightness levels, which can significantly increase power consumption. In flexible form factors, where battery capacity may be limited due to design constraints, efficiently managing power while delivering the high contrast and brightness demanded by HDR becomes a complex balancing act.
The durability and longevity of flexible AMOLED displays supporting HDR also pose significant technical hurdles. The repeated bending and flexing of the display can stress the OLED materials and the thin-film transistors (TFTs) used to drive them. This stress can lead to degradation in pixel performance over time, potentially affecting the display's ability to accurately reproduce HDR content. Ensuring consistent HDR performance throughout the lifespan of a flexible display requires advanced materials and manufacturing processes.
Thermal management presents another critical challenge. HDR content often requires certain areas of the display to operate at high brightness levels, which can generate localized heat. In flexible displays, dissipating this heat effectively becomes more complex due to the limitations in heat sink design and the need to maintain the display's flexibility. Overheating can lead to reduced lifespan of OLED materials and potential color shifts, compromising the HDR viewing experience.
The implementation of local dimming, a key feature for enhancing contrast in HDR content, faces unique challenges in flexible AMOLED displays. Traditional local dimming techniques may not be directly applicable due to the flexible nature of the display and the potential for non-uniform light distribution when bent. Developing new algorithms and hardware solutions for effective local dimming in flexible form factors is essential for maximizing HDR performance.
Lastly, the manufacturing process for flexible AMOLED displays with HDR capabilities presents its own set of challenges. Achieving the necessary pixel density, color accuracy, and brightness levels required for HDR, while maintaining flexibility and durability, demands highly precise and advanced manufacturing techniques. The yield rates for such displays can be lower, potentially increasing production costs and limiting widespread adoption.
Another major challenge lies in the power management of flexible AMOLED displays supporting HDR. HDR content often requires higher peak brightness levels, which can significantly increase power consumption. In flexible form factors, where battery capacity may be limited due to design constraints, efficiently managing power while delivering the high contrast and brightness demanded by HDR becomes a complex balancing act.
The durability and longevity of flexible AMOLED displays supporting HDR also pose significant technical hurdles. The repeated bending and flexing of the display can stress the OLED materials and the thin-film transistors (TFTs) used to drive them. This stress can lead to degradation in pixel performance over time, potentially affecting the display's ability to accurately reproduce HDR content. Ensuring consistent HDR performance throughout the lifespan of a flexible display requires advanced materials and manufacturing processes.
Thermal management presents another critical challenge. HDR content often requires certain areas of the display to operate at high brightness levels, which can generate localized heat. In flexible displays, dissipating this heat effectively becomes more complex due to the limitations in heat sink design and the need to maintain the display's flexibility. Overheating can lead to reduced lifespan of OLED materials and potential color shifts, compromising the HDR viewing experience.
The implementation of local dimming, a key feature for enhancing contrast in HDR content, faces unique challenges in flexible AMOLED displays. Traditional local dimming techniques may not be directly applicable due to the flexible nature of the display and the potential for non-uniform light distribution when bent. Developing new algorithms and hardware solutions for effective local dimming in flexible form factors is essential for maximizing HDR performance.
Lastly, the manufacturing process for flexible AMOLED displays with HDR capabilities presents its own set of challenges. Achieving the necessary pixel density, color accuracy, and brightness levels required for HDR, while maintaining flexibility and durability, demands highly precise and advanced manufacturing techniques. The yield rates for such displays can be lower, potentially increasing production costs and limiting widespread adoption.
Current HDR Solutions
01 HDR display technology for AMOLED panels
AMOLED displays can support HDR (High Dynamic Range) content by implementing advanced pixel structures and driving methods. This technology enables a wider color gamut, higher contrast ratios, and improved brightness levels, resulting in more vivid and lifelike images on AMOLED screens.- AMOLED display technology for HDR support: AMOLED displays are capable of supporting High Dynamic Range (HDR) content due to their ability to produce deep blacks and high contrast ratios. This technology allows for a wider range of colors and brightness levels, enhancing the overall viewing experience for HDR content.
- Pixel compensation techniques for HDR on AMOLED: Various pixel compensation techniques are employed to improve HDR performance on AMOLED displays. These methods address issues such as non-uniformity, color shift, and brightness variations, ensuring accurate and consistent HDR reproduction across the entire display.
- AMOLED panel design for enhanced HDR capabilities: Specific AMOLED panel designs are developed to enhance HDR capabilities. These designs may include optimized pixel structures, improved light emission layers, and advanced driving schemes to achieve higher peak brightness and better color accuracy for HDR content.
- HDR image processing for AMOLED displays: Advanced image processing techniques are implemented to optimize HDR content for AMOLED displays. These algorithms may include tone mapping, color gamut expansion, and local dimming control to fully utilize the AMOLED technology's capabilities in displaying HDR content.
- Power management for HDR on AMOLED screens: Efficient power management strategies are developed to support HDR content on AMOLED displays while minimizing energy consumption. These techniques may involve selective pixel dimming, adaptive brightness control, and optimized voltage regulation to balance power usage and HDR performance.
02 Pixel compensation techniques for HDR AMOLED displays
To achieve optimal HDR performance in AMOLED displays, various pixel compensation techniques are employed. These methods address issues such as non-uniformity, aging, and color shift, ensuring consistent and accurate HDR image reproduction across the entire display panel.Expand Specific Solutions03 Power management for HDR-capable AMOLED displays
Efficient power management systems are crucial for HDR-capable AMOLED displays to balance high brightness levels with energy consumption. These systems optimize power usage while maintaining the display's ability to render HDR content effectively, extending battery life in mobile devices.Expand Specific Solutions04 Color processing algorithms for HDR on AMOLED
Advanced color processing algorithms are implemented to enhance HDR content rendering on AMOLED displays. These algorithms improve color accuracy, dynamic range mapping, and tone reproduction, resulting in more realistic and immersive visual experiences for users.Expand Specific Solutions05 AMOLED panel structure optimizations for HDR support
Structural improvements in AMOLED panel design are developed to better support HDR content. These optimizations include enhanced pixel layouts, improved light emission efficiency, and advanced materials that contribute to higher peak brightness and deeper black levels required for HDR performance.Expand Specific Solutions
Key Industry Players
The AMOLED technology for HDR in flexible displays is in a mature development stage, with significant market growth potential. The global flexible display market is expanding rapidly, driven by increasing demand for smartphones, wearables, and automotive applications. Key players like Samsung Electronics, LG Electronics, and BOE Technology are leading the innovation in this field, with advanced AMOLED technologies that support HDR capabilities. These companies are investing heavily in R&D to improve color accuracy, brightness, and power efficiency of flexible AMOLED displays. The technology's maturity is evident in the widespread adoption of AMOLED displays in high-end smartphones and the ongoing development of foldable devices, indicating a competitive and evolving market landscape.
BOE Technology Group Co., Ltd.
Technical Solution: BOE's AMOLED technology supports HDR in flexible displays through several key innovations. They employ a high-efficiency OLED material system that achieves peak brightness levels of up to 1500 nits, essential for HDR content rendering[1]. BOE utilizes advanced pixel compensation circuits to maintain color accuracy and brightness uniformity across the flexible panel[2]. Their displays support wide color gamuts, covering over 100% of the DCI-P3 color space[3]. For flexibility, BOE uses ultra-thin glass substrates or polyimide films, combined with a robust thin-film encapsulation process[4]. They have also developed a unique "chip-on-plastic" process, integrating driver ICs directly onto the flexible substrate, which improves display performance and reduces bezel size[5].
Strengths: High brightness capabilities, advanced pixel compensation for uniformity, and innovative "chip-on-plastic" technology. Weaknesses: Slightly behind market leaders in peak brightness levels, less extensive track record in flexible OLED production compared to some competitors.
Samsung Electronics Co., Ltd.
Technical Solution: Samsung's AMOLED technology supports HDR in flexible displays through advanced pixel structures and materials. They utilize a two-stack tandem OLED structure, which enhances brightness and energy efficiency[1]. Their displays achieve peak brightness levels of up to 2000 nits, crucial for HDR content[2]. Samsung also employs advanced color management systems, supporting wide color gamuts like DCI-P3 and BT.2020[3]. Their flexible AMOLED panels use a thin-film encapsulation (TFE) process, allowing for ultra-thin and bendable displays while maintaining HDR capabilities[4]. Additionally, Samsung has developed advanced OLED materials that improve color volume and reduce power consumption, enhancing HDR performance in flexible form factors[5].
Strengths: Industry-leading brightness levels, wide color gamut support, and advanced thin-film encapsulation for flexibility. Weaknesses: Higher production costs compared to traditional LCD technology, potential for burn-in over extended use.
Core AMOLED HDR Patents
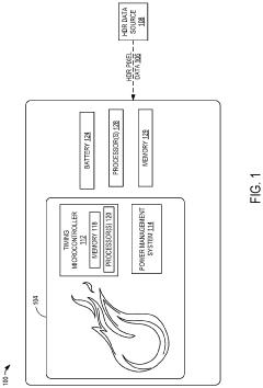
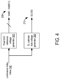
HDR OLED display power control
PatentWO2024025666A1
Innovation
- The OLED display system dynamically adjusts its maximum luminance capability by sampling HDR data to determine a luminance index value, which is used to control voltage generators, reducing power consumption and maintaining peak brightness only when needed.
HDR OLED display power control
PatentActiveUS12008958B2
Innovation
- The OLED display system dynamically adjusts its maximum luminance capability by sampling HDR data to determine a luminance index value, which is used to control voltage generators, reducing power consumption and maintaining peak brightness only when needed.
Flexible Display Materials
Flexible display materials play a crucial role in enabling AMOLED technology to support HDR in flexible displays. The primary materials used in flexible AMOLED displays include flexible substrates, organic light-emitting materials, and thin-film transistors (TFTs).
Flexible substrates form the foundation of flexible displays. Polyimide (PI) is the most commonly used substrate material due to its excellent thermal stability, mechanical flexibility, and optical transparency. PI substrates can withstand high-temperature processes required for OLED fabrication while maintaining their flexibility. Other potential substrate materials include polyethylene naphthalate (PEN) and polyethylene terephthalate (PET), although they have limitations in terms of temperature resistance.
Organic light-emitting materials are at the core of AMOLED technology. These materials consist of small molecule or polymer-based organic compounds that emit light when an electric current is applied. For HDR support, AMOLED displays utilize a combination of red, green, and blue emissive materials to produce a wide color gamut. Phosphorescent materials are often employed to enhance efficiency and brightness, which are crucial for HDR performance.
Thin-film transistors (TFTs) are essential components in AMOLED displays, controlling the current flow to each pixel. Low-temperature polycrystalline silicon (LTPS) and indium gallium zinc oxide (IGZO) are commonly used TFT materials in flexible displays. LTPS offers high electron mobility, enabling faster switching speeds and higher resolution, while IGZO provides better uniformity and lower power consumption.
To support HDR in flexible displays, these materials must work in harmony to achieve high contrast ratios, wide color gamut, and high peak brightness. AMOLED technology inherently provides excellent contrast ratios due to its ability to completely turn off individual pixels. The organic light-emitting materials are carefully engineered to produce vibrant colors across a wide spectrum, meeting the color volume requirements of HDR standards.
Encapsulation materials are also crucial for flexible AMOLED displays, protecting the sensitive organic layers from moisture and oxygen. Thin-film encapsulation (TFE) technologies, using alternating layers of inorganic and organic materials, provide effective barrier properties while maintaining flexibility. These materials ensure the longevity and reliability of flexible HDR displays, even under repeated bending and folding.
Flexible substrates form the foundation of flexible displays. Polyimide (PI) is the most commonly used substrate material due to its excellent thermal stability, mechanical flexibility, and optical transparency. PI substrates can withstand high-temperature processes required for OLED fabrication while maintaining their flexibility. Other potential substrate materials include polyethylene naphthalate (PEN) and polyethylene terephthalate (PET), although they have limitations in terms of temperature resistance.
Organic light-emitting materials are at the core of AMOLED technology. These materials consist of small molecule or polymer-based organic compounds that emit light when an electric current is applied. For HDR support, AMOLED displays utilize a combination of red, green, and blue emissive materials to produce a wide color gamut. Phosphorescent materials are often employed to enhance efficiency and brightness, which are crucial for HDR performance.
Thin-film transistors (TFTs) are essential components in AMOLED displays, controlling the current flow to each pixel. Low-temperature polycrystalline silicon (LTPS) and indium gallium zinc oxide (IGZO) are commonly used TFT materials in flexible displays. LTPS offers high electron mobility, enabling faster switching speeds and higher resolution, while IGZO provides better uniformity and lower power consumption.
To support HDR in flexible displays, these materials must work in harmony to achieve high contrast ratios, wide color gamut, and high peak brightness. AMOLED technology inherently provides excellent contrast ratios due to its ability to completely turn off individual pixels. The organic light-emitting materials are carefully engineered to produce vibrant colors across a wide spectrum, meeting the color volume requirements of HDR standards.
Encapsulation materials are also crucial for flexible AMOLED displays, protecting the sensitive organic layers from moisture and oxygen. Thin-film encapsulation (TFE) technologies, using alternating layers of inorganic and organic materials, provide effective barrier properties while maintaining flexibility. These materials ensure the longevity and reliability of flexible HDR displays, even under repeated bending and folding.
Power Efficiency Strategies
Power efficiency is a critical aspect of AMOLED technology in supporting HDR for flexible displays. AMOLED displays inherently offer better power efficiency compared to traditional LCD screens, as they only illuminate the necessary pixels, allowing for true blacks and reduced power consumption in darker scenes.
One key strategy for improving power efficiency in AMOLED HDR displays is the implementation of advanced pixel architectures. These designs optimize the arrangement and structure of sub-pixels to enhance light emission efficiency while maintaining color accuracy. For instance, pentile layouts and RGBW configurations can significantly reduce power consumption without compromising image quality.
Dynamic power management systems play a crucial role in maximizing energy efficiency. These systems adjust the display's power usage based on content and ambient lighting conditions. By intelligently dimming or brightening specific areas of the screen, they can maintain optimal HDR performance while minimizing overall power consumption.
The development of more efficient organic materials for OLED panels is another vital area of focus. Researchers are continuously working on new emissive compounds that offer higher luminous efficacy, resulting in brighter displays that require less power. These advancements are particularly important for HDR content, which demands a wider range of brightness levels.
Thermal management strategies are also essential for power efficiency in AMOLED HDR displays. Efficient heat dissipation not only prolongs the lifespan of the display but also allows for sustained high brightness levels without excessive power draw. Innovative cooling solutions, such as heat-spreading layers and advanced thermal materials, are being integrated into flexible AMOLED designs to address this challenge.
The integration of AI-driven algorithms for content analysis and power optimization is an emerging trend in AMOLED HDR displays. These algorithms can predict and adjust power consumption in real-time based on the displayed content, ensuring that HDR scenes are rendered with optimal energy efficiency without sacrificing visual quality.
Lastly, the development of more efficient driver ICs and power management circuits is crucial for reducing overall system power consumption. These components are being designed to operate at lower voltages and with improved efficiency, contributing to the overall power savings in AMOLED HDR flexible displays.
One key strategy for improving power efficiency in AMOLED HDR displays is the implementation of advanced pixel architectures. These designs optimize the arrangement and structure of sub-pixels to enhance light emission efficiency while maintaining color accuracy. For instance, pentile layouts and RGBW configurations can significantly reduce power consumption without compromising image quality.
Dynamic power management systems play a crucial role in maximizing energy efficiency. These systems adjust the display's power usage based on content and ambient lighting conditions. By intelligently dimming or brightening specific areas of the screen, they can maintain optimal HDR performance while minimizing overall power consumption.
The development of more efficient organic materials for OLED panels is another vital area of focus. Researchers are continuously working on new emissive compounds that offer higher luminous efficacy, resulting in brighter displays that require less power. These advancements are particularly important for HDR content, which demands a wider range of brightness levels.
Thermal management strategies are also essential for power efficiency in AMOLED HDR displays. Efficient heat dissipation not only prolongs the lifespan of the display but also allows for sustained high brightness levels without excessive power draw. Innovative cooling solutions, such as heat-spreading layers and advanced thermal materials, are being integrated into flexible AMOLED designs to address this challenge.
The integration of AI-driven algorithms for content analysis and power optimization is an emerging trend in AMOLED HDR displays. These algorithms can predict and adjust power consumption in real-time based on the displayed content, ensuring that HDR scenes are rendered with optimal energy efficiency without sacrificing visual quality.
Lastly, the development of more efficient driver ICs and power management circuits is crucial for reducing overall system power consumption. These components are being designed to operate at lower voltages and with improved efficiency, contributing to the overall power savings in AMOLED HDR flexible displays.
Unlock deeper insights with Patsnap Eureka Quick Research — get a full tech report to explore trends and direct your research. Try now!
Generate Your Research Report Instantly with AI Agent
Supercharge your innovation with Patsnap Eureka AI Agent Platform!